Найти в Дзене
Sochi Auto Parts

Porsche запатентовала регулируемую рессорную подвеску

Porsche запатентовала необычную независимую подвеску с композитной рессорой в роли упругого элемента. Заявка появилась в базе Всемирной организации интеллектуальной собственности. Конструкция представляет собой вариацию подвески McPherson, где короткая листовая рессора одновременно выполняет функцию нижнего рычага, а амортизатор интегрирован в колесный узел. Жёсткость и высота подвески могут регулироваться с помощью электрических или гидравлических актуаторов. Подвеска подходит для передней и задней оси и совместима с электромобилями. https://dzen.ru/id/620a2df4f426985e50a1aa37 sochiautoparts.ru #sochiautoparts

Porsche запатентовала регулируемую рессорную подвеску

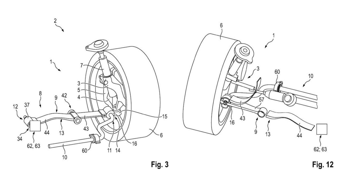
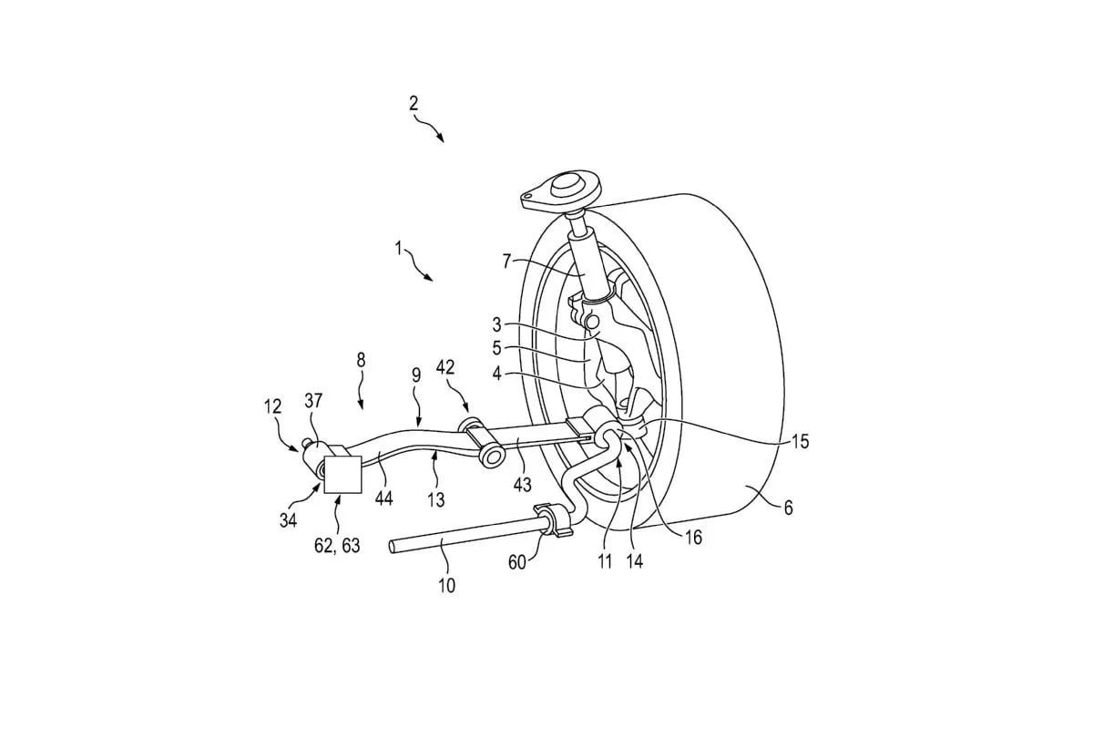
Porsche запатентовала необычную независимую подвеску с композитной рессорой в роли упругого элемента. Заявка появилась в базе Всемирной организации интеллектуальной собственности.

Конструкция представляет собой вариацию подвески McPherson, где короткая листовая рессора одновременно выполняет функцию нижнего рычага, а амортизатор интегрирован в колесный узел. Жёсткость и высота подвески могут регулироваться с помощью электрических или гидравлических актуаторов.

Подвеска подходит для передней и задней оси и совместима с электромобилями.

https://dzen.ru/id/620a2df4f426985e50a1aa37

sochiautoparts.ru

#sochiautoparts

-2
-3