Добавить в корзинуПозвонить
Найти в Дзене
Электричество и Я

ДАТЧИКИ ТЕМПЕРАТУРЫ: БИМЕТАЛЛИЧЕСКИЕ И МАНОМЕТРИЧЕСКИЕ

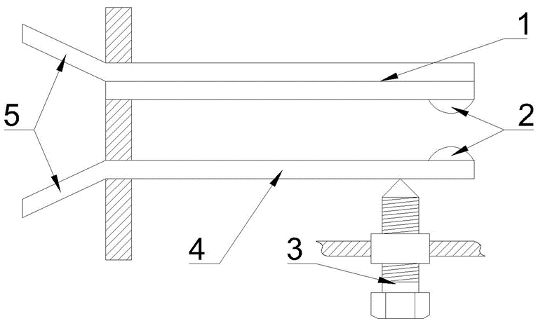
Датчик температуры– техническое устройство, предназначенное для измерения и преобразования температуры среды, в которую помещен его воспринимающий элемент (орган), в другую физическую величину (как правило, в электрический сигнал), более удобную для воздействия и передачи на последующие элементы автоматической системы или для измерений. Биметаллические датчики, в основу работы которых положено свойство металлов изменять свои линейные размеры при изменении температуры. Чувствительный элемент такого датчика выполнен из пластины 1 или спиральной ленты, состоящей из двух слоев разнородных металлов, отличающихся друг от друга температурный коэффициентами линейного расширения (ТКЛР). При нагреве составляющие биметаллической пластины или спирали удлиняются неодинаково, и поэтому происходит изгиб пластины или спирали в сторону металла с меньшим температурным коэффициентом линейного расширения. При определенной температуре контакты 2 цепи перемыкаются. Для возможности регулирования уставки ср

Датчик температуры– техническое устройство, предназначенное для измерения и преобразования температуры среды, в которую помещен его воспринимающий элемент (орган), в другую физическую величину (как правило, в электрический сигнал), более удобную для воздействия и передачи на последующие элементы автоматической системы или для измерений.

Биметаллические датчики, в основу работы которых положено свойство металлов изменять свои линейные размеры при изменении температуры. Чувствительный элемент такого датчика выполнен из пластины 1 или спиральной ленты, состоящей из двух слоев разнородных металлов, отличающихся друг от друга температурный коэффициентами линейного расширения (ТКЛР). При нагреве составляющие биметаллической пластины или спирали удлиняются неодинаково, и поэтому происходит изгиб пластины или спирали в сторону металла с меньшим температурным коэффициентом линейного расширения. При определенной температуре контакты 2 цепи перемыкаются. Для возможности регулирования уставки срабатывания. Диапазон рабочих температур биметаллических датчиков от -60 °С до +350 °С. Недостатки – медленное и неполное замыкание и размыкание контактов, которое приводит к их подгоранию.

Рисунок 1 – Конструкция биметаллического датчика температуры
1 – биметаллическая пластина; 2 – электрические контакты; 3 – регулировочный винт; 4 – подвижная контактная пластина; 5 – разъем для внешних электрических подключений
Рисунок 1 – Конструкция биметаллического датчика температуры 1 – биметаллическая пластина; 2 – электрические контакты; 3 – регулировочный винт; 4 – подвижная контактная пластина; 5 – разъем для внешних электрических подключений

Биметаллические термодатчики предназначены для сигнализации и регулирования температуры воздуха, а также для контроля жидких и газообразных сред (воды, воздуха и т.д.). Датчики-реле являются не показывающими приборами, а могут иметь только шкалу для задания температуры срабатывания контактов.

Преимуществом такого датчика температуры является простота конструкции и дешевизна. К недостаткам следует отнести сравнительно узкий диапазон измерения и относительно большую погрешность, обусловленную термомеханическим гистерезисом (1 °С … 5 °С).

Как правило, такие датчики широко применяются в бытовой технике в качестве однопозиционных реле-регуляторов температуры (бытовые холодильники, стиральные машины и т.д.).

Внешний вид датчика с регулируемой уставкой приведен на рисунке ниже.

Рисунок 3 - Внешний вид биметаллического датчика. Источник: https://lspare.ru/upload/iblock/7db/vk1pmwk1ckqsgbxqaqmolhri3fsikef8.jpg
Рисунок 3 - Внешний вид биметаллического датчика. Источник: https://lspare.ru/upload/iblock/7db/vk1pmwk1ckqsgbxqaqmolhri3fsikef8.jpg

А вот так выглядят термостаты, которые часто используют в бытовой технике:

Рисунок 4 - Внешний вид термостата Источник: https://www.sktech.ru/images/thermostats/bimetallic/ksd301b060uf1b-2.webp
Рисунок 4 - Внешний вид термостата Источник: https://www.sktech.ru/images/thermostats/bimetallic/ksd301b060uf1b-2.webp

Манометрические датчики, это датчики, в которых изменение объема (давления) жидкости или газа, находящихся в замкнутом пространстве, под влиянием изменения температуры преобразуется в перемещение специальных мембран, сильфонов или манометрических трубок, связанных с электрическими контактами. Класс точности таких датчиков 1,6 – 4,0.

Принцип действия измерителей температуры, называемых манометрическими термометрами, основан на использовании однозначной зависимости между температурой и давлением термометрического вещества, находящегося в герметично замкнутой манометрической термосистеме. Манометрическая термосистема состоит из термобаллона, соединительной трубки (дистанционного капилляра) и упругого чувствительного элемента, которые совместно образуют герметический объем, занятый наполнителем ‒ термометрическим (рабочим) веществом. В зависимости от рода рабочего вещества и его агрегатного (фазового) состояния манометрические термометры подразделяют на три класса: газовые (Г), жидкостные (Ж) и конденсационные или парожидкостные (К). Манометрические термометры выпускают в различных вариантах исполнения: в виде показывающих, самопишущих приборов без или со встроенными устройствами сигнализации или регулирования температуры.

Рисунок 35 – Конструкция манометрического датчика температуры
1 – термобаллон; 2 – соединительный капилляр; 3 – манометрическая пружина; 4 – держатель; 5 – ось; 6 – сектор; 7 – стрелка; 8 – циферблат; 9- тяга; 10 – ведущий поводок; 11 – контакт «минимум»; 12 – контакт «максимум».
Рисунок 35 – Конструкция манометрического датчика температуры 1 – термобаллон; 2 – соединительный капилляр; 3 – манометрическая пружина; 4 – держатель; 5 – ось; 6 – сектор; 7 – стрелка; 8 – циферблат; 9- тяга; 10 – ведущий поводок; 11 – контакт «минимум»; 12 – контакт «максимум».

Рисунок 6 - Термометр электроконтактный показывающий ТКП-160. Источник: https://mera-tek.ru/upload/resize_cache/iblock/32d/500_500_140cd750bba9870f18aada2478b24840a/n5ke5l6eewdub2lck9k6p1rdcdn2xpca.webp
Рисунок 6 - Термометр электроконтактный показывающий ТКП-160. Источник: https://mera-tek.ru/upload/resize_cache/iblock/32d/500_500_140cd750bba9870f18aada2478b24840a/n5ke5l6eewdub2lck9k6p1rdcdn2xpca.webp

Они применяются для дистанционного (до 60 метров) измерения температур в пределах от -160 °С до +600 °С. Их достоинства – простота конструкции, возможность дистанционного измерения; недостатки – значительная инерционность, невысокая точность измерения.