Найти в Дзене
Новости Экспресс

Mercedes-Benz возрождает двигатели V12: раскрыты детали нового патента

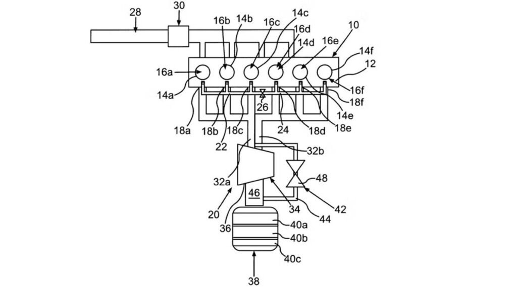
Компания Mercedes-Benz запатентовала новую конструкцию бензиновых двигателей, которая может использоваться в нескольких конфигурациях. Согласно патентным материалам, речь идет о рядных четырех- и шестицилиндровых моторах, а также о новых версиях V8 и V12. Ключевая особенность разработки — дополнительный внутренний канал выпуска отработавших газов в головке блока цилиндров. В схеме для рядного шестицилиндрового двигателя цилиндры разделены на две группы, соединенные управляемым клапаном. При его открытии часть выхлопных газов используется для улучшения продувки цилиндров, что снижает потери и повышает мощность на высоких оборотах. Mercedes-Benz указывает, что такая система уменьшает насосные потери и улучшает отдачу двигателя за счет более эффективного пульсирующего потока выхлопа. В патенте подчеркивается, что решение рассчитано на турбированные моторы и требует коленчатого вала с интервалом 120 градусов, что исключает использование плоского коленвала. Компания рассматривает применение
Оглавление
   Mercedes-Benz возрождает двигатели V12: раскрыты детали нового патента (источник изображения) News Express Team
Mercedes-Benz возрождает двигатели V12: раскрыты детали нового патента (источник изображения) News Express Team

Mercedes-Benz запатентовал новую конструкцию двигателей

Компания Mercedes-Benz запатентовала новую конструкцию бензиновых двигателей, которая может использоваться в нескольких конфигурациях. Согласно патентным материалам, речь идет о рядных четырех- и шестицилиндровых моторах, а также о новых версиях V8 и V12.

Ключевая особенность разработки

Ключевая особенность разработки — дополнительный внутренний канал выпуска отработавших газов в головке блока цилиндров. В схеме для рядного шестицилиндрового двигателя цилиндры разделены на две группы, соединенные управляемым клапаном. При его открытии часть выхлопных газов используется для улучшения продувки цилиндров, что снижает потери и повышает мощность на высоких оборотах.

Преимущества новой технологии

Mercedes-Benz указывает, что такая система уменьшает насосные потери и улучшает отдачу двигателя за счет более эффективного пульсирующего потока выхлопа. В патенте подчеркивается, что решение рассчитано на турбированные моторы и требует коленчатого вала с интервалом 120 градусов, что исключает использование плоского коленвала.

Применение новой технологии

Компания рассматривает применение этой технологии сразу на нескольких типах двигателей, включая V12, которые Mercedes ранее подтверждала для моделей S-Class в долгосрочной перспективе. Разработка отражает стратегию бренда по сохранению двигателей внутреннего сгорания на фоне замедления перехода на электромобили и может найти применение в новых авто 2026 года и последующих модельных лет.

Будущее двигателей внутреннего сгорания

Новая разработка Mercedes-Benz является важным шагом в развитии двигателей внутреннего сгорания. С учетом замедления перехода на электромобили, компания стремится улучшить характеристики своих двигателей и сделать их более эффективными.

В будущем мы можем ожидать появления новых моделей Mercedes-Benz с улучшенными двигателями, которые будут сочетать в себе высокую мощность и эффективность.