Найти в Дзене

Регулировка электромагнитного тормоза

Регулировка электромагнитного тормоза — ключевой этап обслуживания электроприводов, от которого напрямую зависят безопасность, точность остановки и ресурс оборудования 🚧. Правильная установка воздушного зазора, регулировка тормозного момента и проверка работы катушки позволяет избежать перегрева, шума, пробуксовки и аварийных остановов. Электромагнитный тормоз — это узел, который создает тормозной момент за счёт взаимодействия магнитного поля катушки и фрикционных поверхностей (якорь, диск, барабан) 🧲. При подаче напряжения катушка притягивает якорь, разжимая фрикционные пары, а при снятии напряжения пружины прижимают накладки и останавливают вал. Регулировка нужна, потому что со временем изнашиваются фрикционные накладки, изменяется воздушный зазор и характеристика пружин, что приводит к снижению тормозного момента, пробуксовке, удлинению тормозного пути, росту температуры и шуму 🥵. Для кранов, подъёмников, конвейеров и станков это критично, так как ошибка в настройке может стать
Оглавление

Регулировка электромагнитного тормоза — ключевой этап обслуживания электроприводов, от которого напрямую зависят безопасность, точность остановки и ресурс оборудования 🚧. Правильная установка воздушного зазора, регулировка тормозного момента и проверка работы катушки позволяет избежать перегрева, шума, пробуксовки и аварийных остановов.

Что такое электромагнитный тормоз и зачем его регулировать 🤔

Электромагнитный тормоз — это узел, который создает тормозной момент за счёт взаимодействия магнитного поля катушки и фрикционных поверхностей (якорь, диск, барабан) 🧲. При подаче напряжения катушка притягивает якорь, разжимая фрикционные пары, а при снятии напряжения пружины прижимают накладки и останавливают вал.

Регулировка нужна, потому что со временем изнашиваются фрикционные накладки, изменяется воздушный зазор и характеристика пружин, что приводит к снижению тормозного момента, пробуксовке, удлинению тормозного пути, росту температуры и шуму 🥵. Для кранов, подъёмников, конвейеров и станков это критично, так как ошибка в настройке может стать причиной аварийной ситуации или повреждения редуктора и двигателя ⚙️.

Основные виды электромагнитных тормозов и особенности регулировки 🧩

1️⃣Тормоза с пружинным включением и электромагнитным растормаживанием 🔩

Наиболее распространённый тип — пружинные тормоза: в обесточенном состоянии пружины сжимают пакет фрикционных пластин, создавая тормозной момент, а при подаче напряжения якорь притягивается и освобождает вал 🙂. Регулировка сводится к выставлению правильного воздушного зазора и контролю натяга пружин, от которых зависит момент и скорость растормаживания 🧰.​

2️⃣Дисковые электромагнитные тормоза 💿

В дисковых тормозах тормозной момент создаётся за счёт прижатия диска к фрикционной поверхности. Тут особенно важна равномерность зазора по окружности: перекос диска вызывает вибрацию, неравномерный износ накладок и шум 😵‍💫. Регулировка выполняется по нескольким винтам/шпилькам, при этом измерения зазора ведут щупами в нескольких точках круга 🌐.

3️⃣Барабанные и колодочные тормоза 🥁

Барабанные и колодочные электромагнитные тормоза требуют синхронной регулировки зазора для обеих колодок. Несимметрия приводит к биениям, локальному перегреву и ускоренному износу фрикционного слоя 🔥. Подход к регулировке включает выравнивание зазоров, настройку тяг и пружин, а также проверку совпадения центра барабана и траверсы 😎.

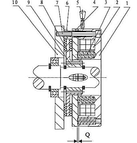
Принцип работы электромагнитного тормоза

Конструкция стандартного электромагнитного тормоза включает следующие элементы:

  1. Корпус электромагнита
  2. Катушка тормоза
  3. Пружина
  4. Якорь электромагнита
  5. Ручка растормаживания
  6. Регулировочный болт
  7. Болт крепления
  8. Тормозной диск
  9. Зубчатая муфта
  10. Задний подшипниковый щит

-2

Подготовка к регулировке электромагнитного тормоза 🧯

❗Требования безопасности при обслуживании тормоза

Перед началом работ обязательно полностью обесточить привод, заблокировать включение (lockout/tagout), повесить предупреждающие таблички и убедиться в отсутствии остаточного вращения вала ⚠️. Персонал должен использовать средства индивидуальной защиты: перчатки, очки, при работе с крановыми механизмами — каску и привязь 🦺. Это особенно важно, так как случайное включение привода при разомкнутом тормозе может привести к травме или падению груза ⛔.​

❗Инструменты и измерительные приборы для регулировки

Для точной настройки потребуется набор щупов или калибров, индикатор часового типа для контроля биения, мультиметр для проверки напряжения на катушке и тока, динамометрический ключ для затяжки болтов, а также обычный слесарный инструмент (ключи, отвертки, шестигранники) 🧰.​

❗Паспортные данные и допустимые значения зазоров и момента

Ключевые значения воздушного зазора, диапазон тормозного момента, допустимый износ накладок, предельная температура катушки и максимальное число включений в час указываются в паспорте тормоза, на шильдике или в эксплуатационной инструкции 📑. Многие производителей прямо задают диапазон минимального и максимального воздушного зазора, выход за который приводит к пробуксовке или отказу растормаживания 😬.​

Пошаговая регулировка электромагнитного тормоза

  • Проверка состояния тормоза перед регулировкой 🔎

До начала регулировки нужно визуально оценить состояние фрикционных накладок, пружин, якоря, посадочных поверхностей и проводки катушки 👀. Наличие трещин, замасливания, следов перегрева, выкрашивания накладок или почерневшей изоляции катушки — повод не регулировать, а планировать ремонт или замену узла 💣.​

  • Регулировка воздушного зазора между якорем и сердечником 🌬️

Воздушный зазор — ключевой параметр, влияющий одновременно на тормозной момент, время срабатывания и тепловой режим ⚖️. Слишком маленький зазор вызывает неполное растормаживание, лишнее трение и перегрев, а слишком большой — недостаточное притяжение якоря и задержку включения 😵.​

Типовая методика:

  1. измерить зазор щупами в нескольких точках по окружности;
  2. ослабить крепёжные элементы или регулировочные винты;
  3. плавно сместить якорь/корпус к требуемому зазору, ориентируясь на паспортный диапазон;
  4. повторно измерить зазор по кругу, добиваясь равномерности;
  5. зафиксировать болты с нужным моментом затяжки 🔩.​
  • Настройка тормозного момента 💪

Тормозной момент обычно задаётся сочетанием площади фрикционных поверхностей, состояния накладок и усилия пружин. Изменяя натяг пружин (регулировочными гайками или винтами), можно слегка увеличить или уменьшить момент 🌀. Усиление тормоза сверх паспортных значений ведёт к ударным нагрузкам на вал, редуктор и муфты, а также к росту токов двигателя при пуске 😓.​

Если для достижения требуемого момента приходится сильно затягивать пружины или уходить за пределы рекомендаций, это говорит о критическом износе накладок и необходимости их замены, а не «дотягивания» регулировкой 🧨.​

  • Проверка времени срабатывания и растормаживания ⏱️

После регулировки важно оценить время включения и выключения тормоза. Для этого выполняют серию циклов: подача/снятие напряжения на катушку, наблюдение за моментом остановки и запуска привода, при необходимости — запись осциллограмм датчиками скорости или положения 📉. Задержка растормаживания, заметные толчки при запуске или остановке указывают на неправильный зазор или проблемы с катушкой и механикой 😬.​

  • Контроль нагрева и работы катушки после регулировки

Катушка электромагнитного тормоза рассчитана на определённый номинальный ток и температурный режим. После регулировки следует измерить ток потребления, оценить нагрев корпуса тормоза, убедиться в отсутствии запаха перегрева или обесцвечивания изоляции 🧪. Сильный перегрев может быть признаком неверного напряжения, неправильной схемы подключения, заниженного воздушного зазора или повышенного механического сопротивления 🔥.​

Типичные ошибки при регулировке электромагнитного тормоза

⚠️Слишком малый или слишком большой воздушный зазор

Малый зазор приводит к тому, что фрикционные поверхности продолжают частично соприкасаться даже в состоянии растормаживания, вызывая постоянное трение, рост температуры и ускоренный износ накладок и подшипников 🥵. При слишком большом зазоре катушка не в состоянии создать достаточное магнитное усилие, тормоз либо не отпускает полностью, либо не развивает нужного момента при срабатывании 🔄.​

⚠️Неправильная последовательность действий при регулировке 🔁

Частая ошибка — сразу «крутить винты», не проверив износ накладок, состояние пружин и соосность узла. В результате регулировка лишь маскирует проблему, не устраняя её причины, а при следующем цикле нагрузки тормоз снова работает нестабильно 😑.​

⚠️Игнорирование паспортных значений и самовольное «усиление» тормоза 💣

Попытки «улучшить» тормоз, выходя за пределы допустимых моментов и зазоров, приводят к резким динамическим нагрузкам, росту вибраций, повышенным токам двигателя и ускоренному разрушению редуктора и муфт 🧨. Производители прямо предупреждают, что чрезмерный зазор или чрезмерно малый зазор могут привести к отказу тормоза и серьёзным авариям 🚫.​

Когда регулировка не поможет: признаки необходимости замены тормоза

  • Критический износ фрикционных накладок

Если остаточная толщина накладок меньше минимального значения, регулировка зазора лишь временно сохранит работоспособность, но не восстановит ресурс. При этом растёт вероятность разрушения носителя накладки и повреждения барабана или диска 🧨.​

  • Повреждение катушки, межвитковое замыкание

Следы подгорания, потемнение лака, аномально низкое сопротивление или утечка на корпус указывают на повреждение катушки. В такой ситуации продолжать эксплуатацию даже после регулировки опасно, требуется перемотка или замена узла 🧲.​

  • Разрушение пружин и механических элементов

Трещины, потеря упругости пружин, изношенные посадочные места, трещины в корпусе или на якоре — это признаки, что тормоз достиг предельного состояния. Попытки «дотянуть» момент регулировкой могут закончиться внезапным отказом при нагрузке 🚫.​

Профилактика и советы по обслуживанию электромагнитного тормоза 🗓️

✅Рекомендуемая периодичность проверки и регулировки

Производители рекомендуют периодически контролировать воздушный зазор, состояние накладок и работу катушки, особенно при большом числе включений в час. Регламент ТО обычно привязывают к наработке или числу циклов, а также к условиям эксплуатации (пыль, влажность, температура) 🧾.​

✅Смазка, чистка, защита от пыли и влаги

Фрикционные поверхности не смазывают, но механические шарнирные узлы и подшипники требуют правильной смазки. Пыль, стружка, масло и влага резко снижают стабильность момента и ускоряют износ. Регулярная чистка и защита от загрязнений — обязательная часть профилактики 🔧.​

✅Ведение журнала обслуживания и фиксация параметров после регулировки

После каждой регулировки полезно фиксировать значения зазора, результаты измерений тока катушки, замеченные отклонения и принятые меры. Это упрощает последующую диагностику и позволяет оценить скорость износа узла во времени 📊.