Найти в Дзене
ПромТех

Прорыв от пермских учёных: реактор повысит производство синтез-газа на 30

% Учёные Пермского Политеха запатентовали новую конструкцию реактора для получения синтез-газа — смеси водорода и оксида углерода, которая служит основой для топлива, удобрений и лекарств. Главная инновация — чередование слоёв катализатора с металлическими шариками внутри реакционных трубок. Эта система решает ключевую проблему существующих реакторов — неравномерный нагрев. В обычных устройствах катализатор у стенок перегревается, а в центре недогревается, что снижает эффективность. Металлические шарики обеспечивают равномерное распределение тепла по всему объёму, соблюдая строгий температурный режим. В результате разработка позволяет на 30% повысить производительность процесса, что открывает новые перспективы для химической промышленности. Технология уже получила патент и разрабатывалась в рамках программы «Приоритет 2030». ПромТех

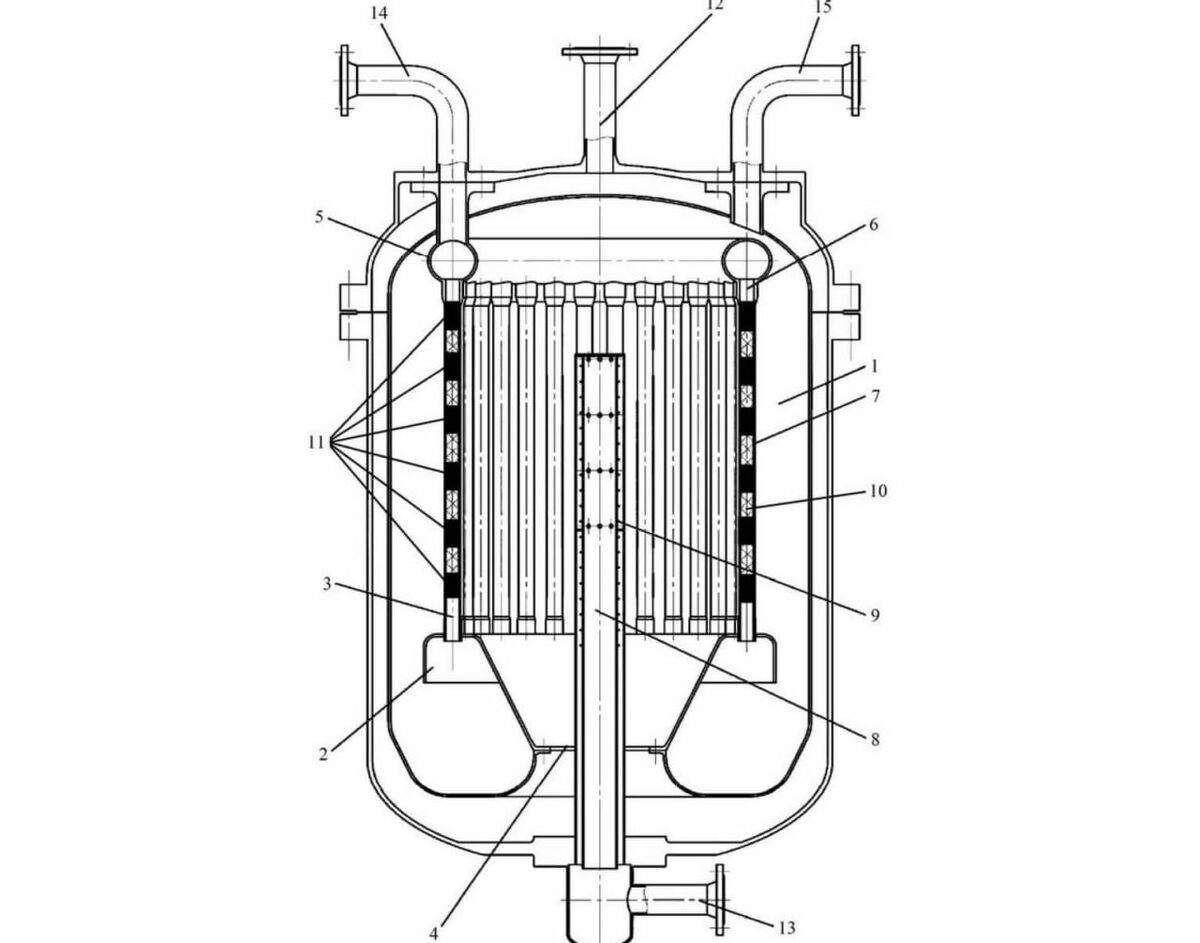
Прорыв от пермских учёных: реактор повысит производство синтез-газа на 30%

Учёные Пермского Политеха запатентовали новую конструкцию реактора для получения синтез-газа — смеси водорода и оксида углерода, которая служит основой для топлива, удобрений и лекарств. Главная инновация — чередование слоёв катализатора с металлическими шариками внутри реакционных трубок.

Эта система решает ключевую проблему существующих реакторов — неравномерный нагрев. В обычных устройствах катализатор у стенок перегревается, а в центре недогревается, что снижает эффективность. Металлические шарики обеспечивают равномерное распределение тепла по всему объёму, соблюдая строгий температурный режим.

В результате разработка позволяет на 30% повысить производительность процесса, что открывает новые перспективы для химической промышленности. Технология уже получила патент и разрабатывалась в рамках программы «Приоритет 2030».

ПромТех