Найти в Дзене
www1.ru

В России придумали подводный дрон в форме торпеды для ВМФ

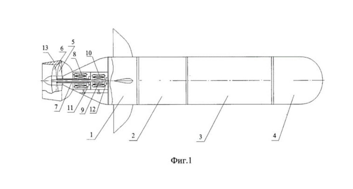
Специалисты Черноморского высшего военно-морского училища имени П. С. Нахимова запатентовали автономный необитаемый подводный аппарат для Военно-морского флота (ВМФ) России. Беспилотный комплекс предложили выполнить в форме торпеды и построить по модульной схеме, документы опубликовали в базе данных ФИПС. Согласно задумке, аппарат предназначен для использования в судостроении и может применяться при создании подводных беспилотников с улучшенными пропульсивными характеристиками и сниженным энергопотреблением. Ключевое отличие разработки — гидродинамическая форма корпуса, которая уменьшает сопротивление воды и повышает дальность хода. Технический результат достигается за счёт модульной архитектуры и гидродинамической формы, указано в описании полезной модели. Конструкция аппарата включает движительный модуль, модуль управления и связи, батарейный и носовой модули. Такое решение упрощает обслуживание, модернизацию и адаптацию под различные задачи — от разведки до инженерных работ. Отдельн
Оглавление

Инженеры запатентовали модульную конструкцию с двойным винтом

Специалисты Черноморского высшего военно-морского училища имени П. С. Нахимова запатентовали автономный необитаемый подводный аппарат для Военно-морского флота (ВМФ) России. Беспилотный комплекс предложили выполнить в форме торпеды и построить по модульной схеме, документы опубликовали в базе данных ФИПС.

  Концепт подводного дрона в форме торпеды для ВМФ
Концепт подводного дрона в форме торпеды для ВМФ

Согласно задумке, аппарат предназначен для использования в судостроении и может применяться при создании подводных беспилотников с улучшенными пропульсивными характеристиками и сниженным энергопотреблением.

Ключевое отличие разработки — гидродинамическая форма корпуса, которая уменьшает сопротивление воды и повышает дальность хода. Технический результат достигается за счёт модульной архитектуры и гидродинамической формы, указано в описании полезной модели.

  Модель подводного дрона в форме торпеды для ВМФ
Модель подводного дрона в форме торпеды для ВМФ

Конструкция аппарата включает движительный модуль, модуль управления и связи, батарейный и носовой модули. Такое решение упрощает обслуживание, модернизацию и адаптацию под различные задачи — от разведки до инженерных работ.

Отдельное внимание разработчики уделили движителю. Подводный беспилотник получил два гребных винта противоположного вращения и два последовательно расположенных электродвигателя, что повышает КПД лопастного движителя на 10–12%.

Читайте ещё материалы по теме: