Найти в Дзене
docard

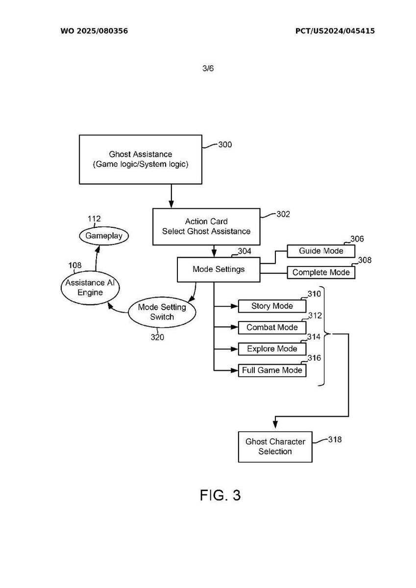
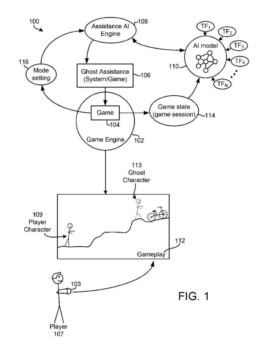
ИИ сможет проходить душные моменты в играх за вас — Sony запатентовали технологию, которая позволяет скипать все скучные или чересчур

сложные моменты. Из описания документа следует, что по кнопке можно будет призывать «призрачного» бота, и он просто заберёт управление на себя. 😱

ИИ сможет проходить душные моменты в играх за вас — Sony запатентовали технологию, которая позволяет скипать все скучные или чересчур сложные моменты. Из описания документа следует, что по кнопке можно будет призывать «призрачного» бота, и он просто заберёт управление на себя. 😱

-2