Добавить в корзинуПозвонить
Найти в Дзене
grozny-inform

ВМФ России разработал уникальный беспилотник в форме торпеды

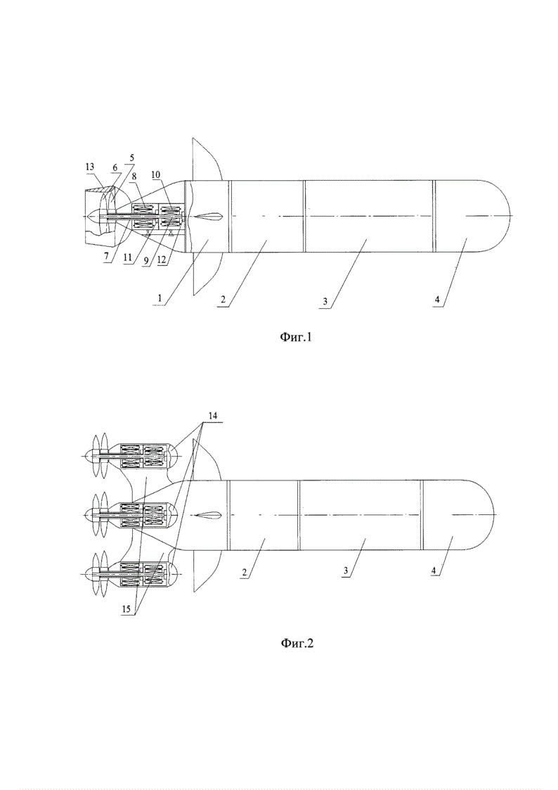
В России запатентован автономный необитаемый подводный аппарат модульной конструкции с обтекаемой гидродинамической формой. Разработка создана спецами из Черноморского высшего военно-морского ордена Красной Звезды училища имени П. С. Нахимова Минобороны России. Новинка предназначена для проектирования и производства подводных аппаратов с улучшенными движительными характеристиками и меньшим энергопотреблением.

ВМФ России разработал уникальный беспилотник в форме торпеды.

В России запатентован автономный необитаемый подводный аппарат модульной конструкции с обтекаемой гидродинамической формой.

Разработка создана спецами из Черноморского высшего военно-морского ордена Красной Звезды училища имени П. С. Нахимова Минобороны России. Новинка предназначена для проектирования и производства подводных аппаратов с улучшенными движительными характеристиками и меньшим энергопотреблением.