Найти в Дзене
Sochi Auto Parts

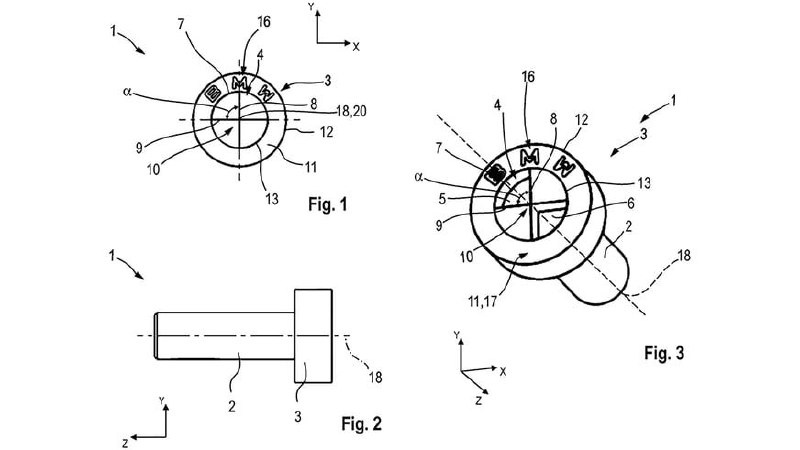
Новый патент BMW может усложнить ремонт автомобилей

Головки винтов выполнены в форме эмблемы BMW с утопленными и выпуклыми секциями, из-за чего стандартные отвёртки для них не подходят. Идея направлена на то, чтобы затруднить ремонт автомобилей в неавторизованных сервисах и направлять владельцев к дилерам, заранее оснащённым специальным инструментом. https://dzen.ru/id/620a2df4f426985e50a1aa37 sochiautoparts.ru #sochiautoparts

Новый патент BMW может усложнить ремонт автомобилей

Головки винтов выполнены в форме эмблемы BMW с утопленными и выпуклыми секциями, из-за чего стандартные отвёртки для них не подходят.

Идея направлена на то, чтобы затруднить ремонт автомобилей в неавторизованных сервисах и направлять владельцев к дилерам, заранее оснащённым специальным инструментом.

https://dzen.ru/id/620a2df4f426985e50a1aa37

sochiautoparts.ru

#sochiautoparts

-2
-3
-4