Найти в Дзене
Apple-Droid.com

BMW запатентовала винты с логотипом компании

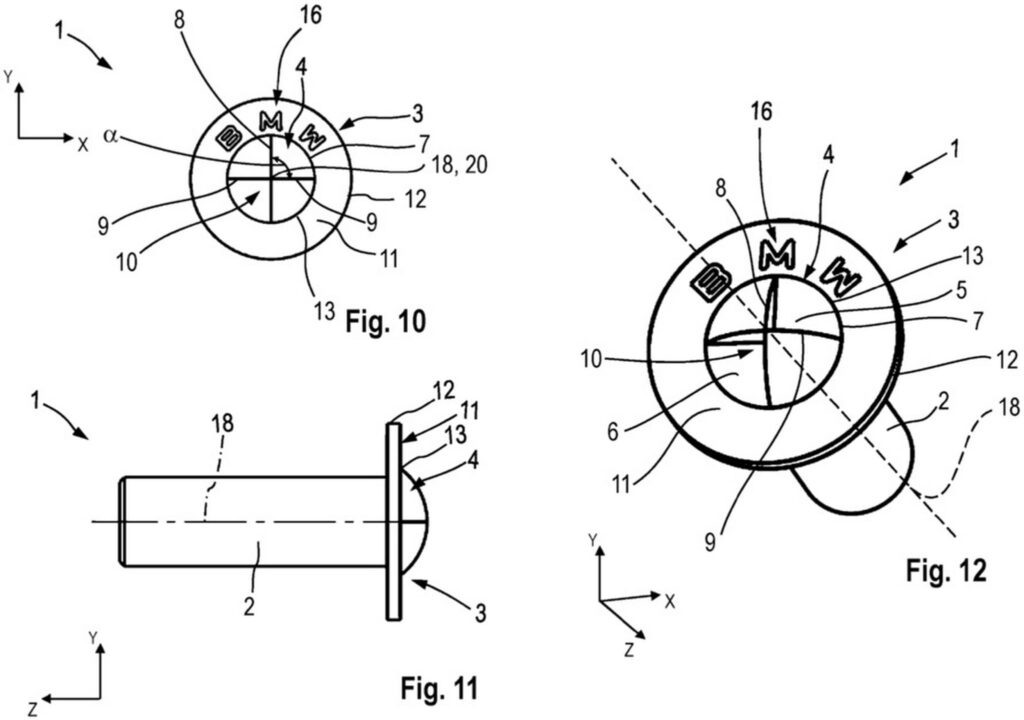
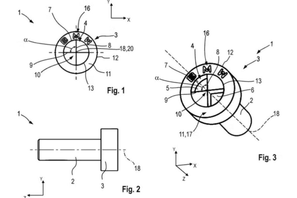
BMW недавно запатентовала необычный крепёж — винты с головкой в форме фирменного логотипа компании. Два противоположных квадранта сделаны углублёнными для специального инструмента, а остальные остаются плоскими или слегка выпуклыми, что полностью исключает использование обычных отвёрток, торкс или шестигранников. Такая конструкция, по описанию в патенте, намеренно препятствует откручиванию или закручиванию стандартными инструментами, что потенциально усложнит самостоятельный ремонт автомобилей BMW. Попытка сорвать такой крепёж подручными средствами почти наверняка приведёт к повреждению головки, делая дальнейший ремонт ещё дороже. Патент включает несколько вариантов исполнения — от плоских и цилиндрических головок до круглых, с гравировкой «BMW» по ободу для дополнительного брендинга. Новость уже вызвала бурные обсуждения в автосообществе: многие видят в этом шаге попытку усилить зависимость от дилерского обслуживания и повысить доходы от ремонта. В то же время автопроизводители регуля

BMW недавно запатентовала необычный крепёж — винты с головкой в форме фирменного логотипа компании. Два противоположных квадранта сделаны углублёнными для специального инструмента, а остальные остаются плоскими или слегка выпуклыми, что полностью исключает использование обычных отвёрток, торкс или шестигранников.

Такая конструкция, по описанию в патенте, намеренно препятствует откручиванию или закручиванию стандартными инструментами, что потенциально усложнит самостоятельный ремонт автомобилей BMW. Попытка сорвать такой крепёж подручными средствами почти наверняка приведёт к повреждению головки, делая дальнейший ремонт ещё дороже.

Патент включает несколько вариантов исполнения — от плоских и цилиндрических головок до круглых, с гравировкой «BMW» по ободу для дополнительного брендинга. Новость уже вызвала бурные обсуждения в автосообществе: многие видят в этом шаге попытку усилить зависимость от дилерского обслуживания и повысить доходы от ремонта. В то же время автопроизводители регулярно регистрируют десятки идей, которые так и остаются на бумаге — часто просто для защиты от копирования или патентных троллей. Пока нет подтверждения, что такие винты скоро появятся в серийных моделях BMW.

-3