Добавить в корзинуПозвонить
Найти в Дзене
BMWLAND_official

BMW придумала «антиремонтные» винты: чинить БМВ в гараже станет невозможно!

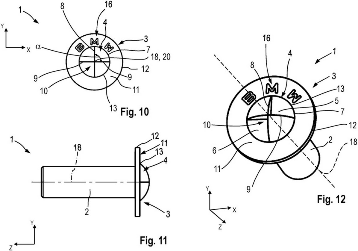
BMW запатентовала винты с головкой в форме фирменного логотипа — круглые, с четырьмя секторами, которые не возьмут обычные ключи и отвёртки. Это не шутка, а реальный патент от 11 декабря, который СМИ заметили вчера. Теперь самостоятельный ремонт «баварцев» рискует уйти в прошлое — открутить такие болты сможет только дилер с фирменным инструментом.​ Головка винта копирует пропеллер BMW: 2 сегмента утоплено, а 2 выступают, шлиц внутри нестандартный. Обычный инструмент просто соскользнёт или сломает головку, повредив деталь. Патент описывает варианты таких болтов для салона, подкапотки и кузова — ими должны будут крепиться сиденья, панели, даже несущие элементы. Заявка подана в июне 2024-го, но опубликована недавно, вызвав бурю в соцсетях и на форумах.​ Эксперты (иностранные) говорят: это усложнит жизнь гаражным умельцам и независимым СТО. На России, где официальных дилеров практически не осталось и народ или копается в своих машинах сам или везёт в «гаражные» сервисы, это может сказатьс
Оглавление

BMW запатентовала винты с головкой в форме фирменного логотипа — круглые, с четырьмя секторами, которые не возьмут обычные ключи и отвёртки. Это не шутка, а реальный патент от 11 декабря, который СМИ заметили вчера. Теперь самостоятельный ремонт «баварцев» рискует уйти в прошлое — открутить такие болты сможет только дилер с фирменным инструментом.​

Как работают «умные» винты?

Головка винта копирует пропеллер BMW: 2 сегмента утоплено, а 2 выступают, шлиц внутри нестандартный. Обычный инструмент просто соскользнёт или сломает головку, повредив деталь. Патент описывает варианты таких болтов для салона, подкапотки и кузова — ими должны будут крепиться сиденья, панели, даже несущие элементы. Заявка подана в июне 2024-го, но опубликована недавно, вызвав бурю в соцсетях и на форумах.​

Эксперты (иностранные) говорят: это усложнит жизнь гаражным умельцам и независимым СТО. На России, где официальных дилеров практически не осталось и народ или копается в своих машинах сам или везёт в «гаражные» сервисы, это может сказаться особенно больно. BMW молчит о планах внедрения, но патент — сигнал: компания хочет монополизировать сервис.

​Но, честно говоря, хочется этих импортных «экспертов» послать куда подальше. Уверен, что как только автомобиль с такими болтами попадёт в какой-нибудь российский сервис, то уже к утру следующего дня будет изготовлен переходник, который снимет все вопросы, а через месяц они, под любые размеры болтов, будут продаваться на всех маркетплейсах.

-2
-3
-4
-5

Зачем BMW это нужно?

Баварцы пытаются бороться с «пиратским» ремонтом: ошибки сторонних автомастеров портят репутацию бренда. Плюс контроль качества: ИИ и спецоборудование дилеров снижают риски поломок. Но в большей степени дело как всегда в потере прибыли. Неофициалы берут 10–20 тыс. руб. за работу, которую дилер оценит втрое дороже. Их критики и так кричат о «закрытости» BMW — тренд, против которого борются в ЕС и США, требуя обеспечить «право на ремонт».​

Что ждёт владельцев?

Если винты внедрят в Neue Klasse или M-серии с 2026-го, ждите резкого роста расценок на ремонт на 30–50%. Но, как я уже сказал выше, уверен, что сторонние сервисы быстро сделают клоны необходимых инструментов. ​

Как бы всё это не ударило немцев с другой, неожиданной стороны. Народ может просто задуматься — а так ли вот прям есть необходимость в покупке BMW с таким гимором в ремонте?