Найти в Дзене
AVTOSERVIS +

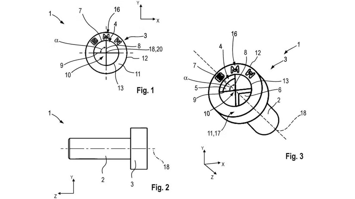
Автосервисы — ВСЁ: BMW придумала, как окончательно запретить людям чинить машину не у официалов

Автосервисы — ВСЁ: BMW придумала, как окончательно запретить людям чинить машину не у официалов.

Компания запатентовала винты с головкой в форме логотипа BMW — открутить их можно только специнструментом у официальных дилеров. Обычные ключи не подойдут.

Под такие крепления попадут салон, сиденья и важные элементы кузова. В итоге обычные автосервисы не смогут помочь.

🏡 МЫ НАХОДИМСЯ ПО АДРЕСУ: г.Серпухов, ул.Химиков, д.3

📞 НАШИ КОНТАКТЫ:

8 (925)548-08-28 - Менеджер Автозапчастей

8 (916)710-08-08 - Мастер консультант Автосервиса

🌐 https://ser-plus.ru/ - сайт нашего Автосервиса

👥 https://vk.com/avtoservis_plus_serp - сообщество в ВК нашего Автосервиса

⏰ ЧАСЫ РАБОТЫ: Пн-Вс с 9:00 до 20:00

(работаем каждый день, без выходных)