Найти в Дзене
Макс_АвтоРРР

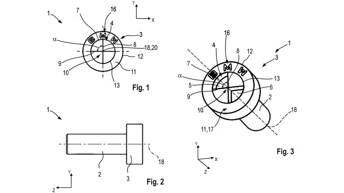
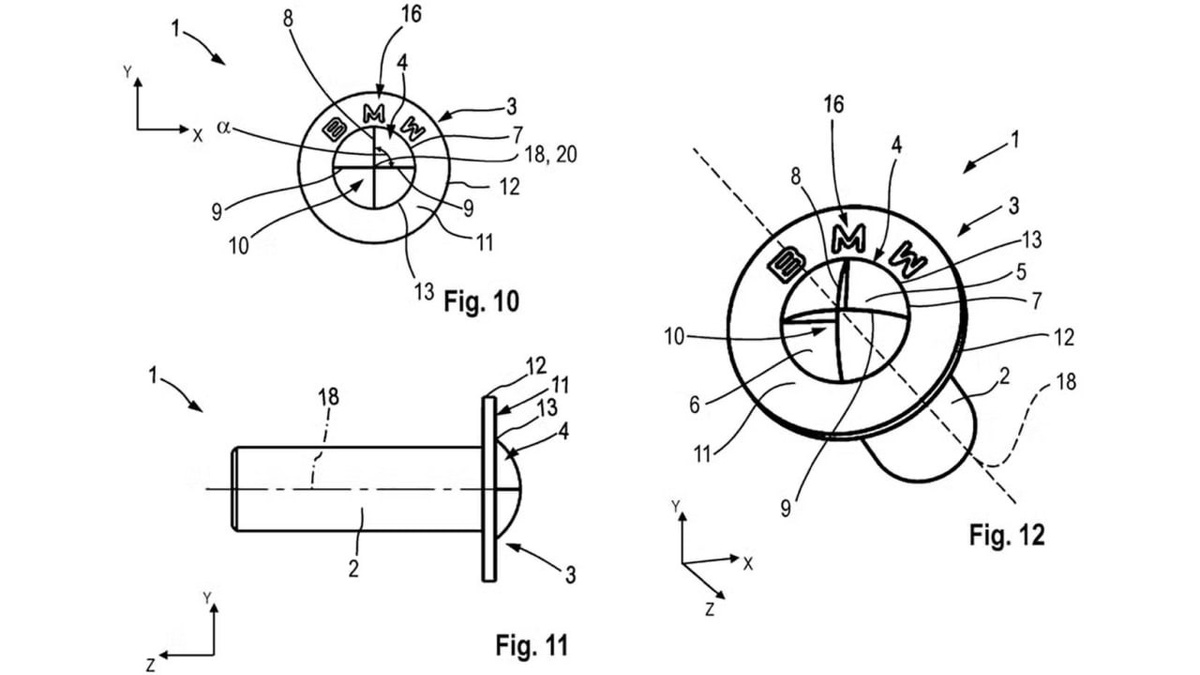
BMW придумала, как окончательно запретить людям чинить машину самостоятельно

Компания запатентовала винты с головкой в форме логотипа BMW — открутить их можно только специнструментом у официальных дилеров. Обычные ключи не подойдут. Под такие крепления попадут салон, сиденья и важные элементы кузова. В итоге независимые сервисы не смогут помочь. #bmw #autotips #carrepair #bmwlovers #carsdaily #autoinnovation #diycar #carproblems

BMW придумала, как окончательно запретить людям чинить машину самостоятельно.

Компания запатентовала винты с головкой в форме логотипа BMW — открутить их можно только специнструментом у официальных дилеров. Обычные ключи не подойдут.

Под такие крепления попадут салон, сиденья и важные элементы кузова. В итоге независимые сервисы не смогут помочь.

#bmw #autotips #carrepair #bmwlovers #carsdaily #autoinnovation #diycar #carproblems

-2
-3