Найти в Дзене

BMW придумала «анти-гараж» болты — запатентовали крепёж, который должен отрезать путь неофициальным сервисам

Без специнструмента такие болты не выкрутить: полезешь обычным — рискуешь сломать крепёж и угробить узел целиком. Доступ к нужным инструментам планируют оставить только дилерам — так концерн хочет держать ремонт под полным контролем. Лица бмвшников и представлять не надо Подробнее: https://hard-tm.su/threads/135991/ 🕹HARD-TM — Подписаться

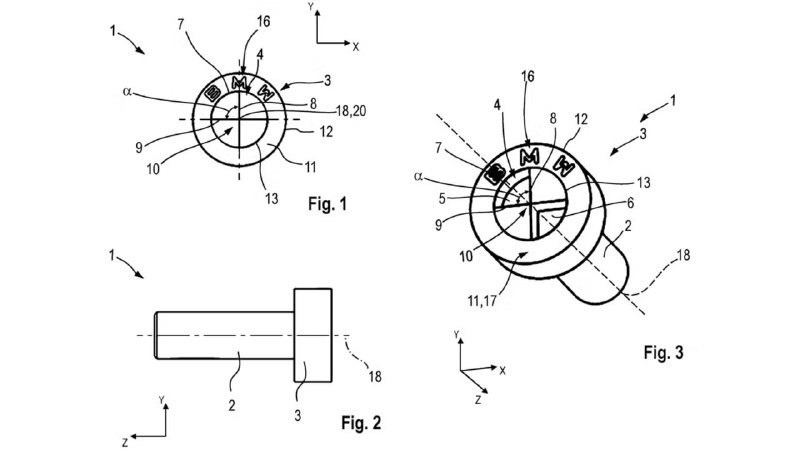
BMW придумала «анти-гараж» болты — запатентовали крепёж, который должен отрезать путь неофициальным сервисам.

Без специнструмента такие болты не выкрутить: полезешь обычным — рискуешь сломать крепёж и угробить узел целиком.

Доступ к нужным инструментам планируют оставить только дилерам — так концерн хочет держать ремонт под полным контролем.

Лица бмвшников и представлять не надо

Подробнее: https://hard-tm.su/threads/135991/

🕹HARD-TM — Подписаться