Найти в Дзене
Apple-Droid.com

Tesla начнет оснащать свои электромобили спутниковым интернетом Starlink

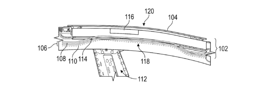
Tesla недавно опубликовала патентную заявку, которая раскрывает планы по интеграции спутниковых антенн прямо в конструкцию автомобилей. Эта разработка позволит встраивать приемники спутниковой связи в крышу, делая их полностью скрытыми и не влияющими на аэродинамику или дизайн машины. Обычные металлические или стеклянные крыши сильно ослабляют или блокируют спутниковые сигналы, из-за чего владельцам Tesla, желающим стабильный интернет в удаленных районах, приходится самостоятельно монтировать терминалы Starlink Mini на багажник или крышу. Новая технология решает эту проблему за счет применения специальных радиопрозрачных полимеров, таких как поликарбонат или акрилонитрил-стирол-акрилат, которые пропускают радиочастоты без потерь. Хотя в документе Starlink прямо не упоминается, описанная конструкция идеально подходит для бесшовного переключения между мобильной связью 5G и спутниковой сетью. Это обеспечит постоянный доступ к интернету даже в зонах без сотового покрытия, что критически ва

Tesla недавно опубликовала патентную заявку, которая раскрывает планы по интеграции спутниковых антенн прямо в конструкцию автомобилей. Эта разработка позволит встраивать приемники спутниковой связи в крышу, делая их полностью скрытыми и не влияющими на аэродинамику или дизайн машины.

-2

Обычные металлические или стеклянные крыши сильно ослабляют или блокируют спутниковые сигналы, из-за чего владельцам Tesla, желающим стабильный интернет в удаленных районах, приходится самостоятельно монтировать терминалы Starlink Mini на багажник или крышу. Новая технология решает эту проблему за счет применения специальных радиопрозрачных полимеров, таких как поликарбонат или акрилонитрил-стирол-акрилат, которые пропускают радиочастоты без потерь.

Хотя в документе Starlink прямо не упоминается, описанная конструкция идеально подходит для бесшовного переключения между мобильной связью 5G и спутниковой сетью. Это обеспечит постоянный доступ к интернету даже в зонах без сотового покрытия, что критически важно для работы систем автопилота, обновлений ПО, навигации и развлечений в салоне.

Многослойная крыша сохраняет высокую прочность и соответствует стандартам безопасности, включая защиту при ударах. В перспективе такая интеграция сделает Tesla еще более автономными в плане связи, особенно для поездок по бездорожью или в регионах с слабой инфраструктурой.

-3