Добавить в корзинуПозвонить
Найти в Дзене
БИЛА ЖИХАРЕВА

Било-кровать / виброакустическая кушетка

Изобретение относится к медицине, в частности к устройствам для физиотерапии и может быть использовано для оздоровления организма человека, реабилитации при различных дистрофических процессах позвоночника и суставов, последствия травм, ушибов, переломов. В настоящее время большое распространение получили устройства для вибрационной терапии, основанной на воздействии механических вибраций локально: на мышцу или орган, участок тела или на весь организм в целом. Вибрации проникают вглубь тканей и влияют на подвижность и адгезию соединительной ткани, структуру костей, движение жидкостей организма: крови, лимфы, тканевой жидкости. Механические вибрации, проникая вглубь тканей, воздействуют на участки застоя крови, способствуя улучшению кровотока и лимфообращения. Вибрации диапазона от 0,1 до 100 Гц влияют на состояние внутренних органов живота и грудной полости, оказывая нормотоническое воздействие на гладкую мускулатуру, снимая спазм и застой в них. Звуковая терапия - это относительно м

Вибро-кушетка остеопата

Изобретение относится к медицине, в частности к устройствам для физиотерапии и может быть использовано для оздоровления организма человека, реабилитации при различных дистрофических процессах позвоночника и суставов, последствия травм, ушибов, переломов.

В настоящее время большое распространение получили устройства для вибрационной терапии, основанной на воздействии механических вибраций локально: на мышцу или орган, участок тела или на весь организм в целом. Вибрации проникают вглубь тканей и влияют на подвижность и адгезию соединительной ткани, структуру костей, движение жидкостей организма: крови, лимфы, тканевой жидкости. Механические вибрации, проникая вглубь тканей, воздействуют на участки застоя крови, способствуя улучшению кровотока и лимфообращения. Вибрации диапазона от 0,1 до 100 Гц влияют на состояние внутренних органов живота и грудной полости, оказывая нормотоническое воздействие на гладкую мускулатуру, снимая спазм и застой в них.

Звуковая терапия - это относительно молодое направление в оздоровлении. Известно воздействие тех или иных частот на состояние организма и центральной нервной системы, психического состояния человека. Акустические волны влияют на рост патогенной флоры грибов, бактерий, вирусов, как правило, угнетая и подавляя. Известно воздействие колокольного звона на патогенные вирусы ОРВИ, гриппа. Исторически колокольный звон не смолкал во время эпидемий инфекционных болезней в Средние Века на Руси. Акустические волны инфразвукового диапазона, совпадающие по частоте с волнами, генерируемыми головным мозгом, оказывают сходное воздействие, например, альфа частота 7,8-8 Гц оказывает легкий снотворный, релаксирующий эффект. При попадании головного мозга человека в звуковое поле с частотой, соответствующей альфа-ритму (7,8 Гц), возникает синхронизация всех отделов головного мозга в единый ритм. Такой результат оказывает положительное влияние на нервную систему улучшая память, мышление, внимание, снимает сосудистый спазм, оказывает антистрессорный эффект [Потапова А.А. Исследование влияния инфразвуковых волн на человека. Вестник науки №4 Т.4; Ихлов Б.Л. Инфразвук, Микроволны и профилактика заболеваний. Современные проблемы науки и образования.2017 №2; Гнездилов А.В. Лечебное применение колокольного звона. Медицинские технологии. М., 1995, № ½; Пыляев М.И. Исторические колокола. Знаменитые колокола России. Спб: Отечество. 1980; Пухначев Ю. Загадки звучащего металла. М. 1974; Суворов Г.А. Акустические колебания: шум, инфразвук, ультразвук. Издание журнала "Охрана труда и социальное страхование"; ФроловЕ.П. Звукотерапия. Физиологический, психоэмоциональный, медицинский и социальный аспекты голоса и слова. М. 2014].

Существующие устройства для вибротерапии представлены в виде вибрационных кресел, вибрационных кушеток. В некоторых из этих устройств наряду с вибрационным воздействием осуществляется воздействие другими факторами, в частности, теплом, растяжением органов и тканей, электромагнитным излучением. Известно из SU 1114419 кресло для вибротерапии, содержащее основание, сиденье со спинкой, опорный кронштейн, упругие элементы, соединяющие сиденье с опорным кронштейном и расположенные в одной плоскости через равные угловые интервалы, и вибратор, расположенный под сидением. Однако в данном устройстве за счёт положения пациента сидя возникает сдавливание сосудов в паховой области, что создает сопротивление кровообращения и дополнительную нагрузку на систему сердца и сосудов. Пациент, находящийся в позиции. сидя, труднее достигает расслабления. Воздействие вибрации происходит преимущественно на органы малого таза и нижнюю часть туловища. Из-за воздействия вибрации в положении сидя преимущественно на нижнюю часть туловища и органы малого таза у пациента возникает нагрузка на сердце и сосуды, что требует внимательного отношения к состоянию пациента. Сидячее положение способствует компрессии межпозвонковых дисков и нервных корешков, снижая эффективность вибрационного воздействия. Отсутствует звуковое терапевтическое воздействие на организм человека. Известно из RU 135257 многофункциональное вибромассажное устройство, состоящее из механического вибратора с электрическим приводом, скамьи, расположенной наклонно относительно горизонтальной поверхности земли и конструктивно соединенной с вибратором, короткой опоры, выполненной из упругого материала, и длинной опоры, придающей ей определенный угол наклона к горизонтальной поверхности. Однако данное устройство не даёт возможность точной настройки частоты и амплитуды вибраций (с точностью то тысячных Гц).В данной модели панель, на которой располагается человек, может гасить часть вибраций, т.к. механизм генерации вибраций не связан с эффектом акустического резонанса, в связи с чем собственная резонансная частота панели может не совпадать с генерируемой частотой вибратора, вследствие чего эффективность вибрационного воздействия будет снижена. При непосредственном расположении тела человека на вибрирующей панели вибрации оказывают более грубое воздействие, нежели при бесконтактном способе, что может ощущаться телесно пациентом как неприятное ощущение.

Известно из RU 2687006 устройство для виброакустического массажа, в котором в качестве источника акустических колебаний выступает «поющая чаша» для коррекции тревожных и инсомнических расстройств. «Поющая чаша» изготовлена из металла сплава «колокольной бронзы» и имеет форму сосуда внутренним диаметром 250 мм, высотой стенок 110 мм и внешним диаметром дна 130 мм. Её размещают непосредственно на теле массируемого с осуществлением контакта непосредственно с обнаженным телом массируемого или через ткань. «Поющую чашу» удерживают одной рукой, во второй руке располагается инструмент колотушка, который представляет собой предмет, рукоятка которого изготовлена из дерева длиной 260 мм и диаметром 18 мм, и ударная часть из каучука в форме цилиндра диаметром 55 мм и высотой 35 мм. Выполняют извлечение вибрации из «поющей чаши» посредством удара каучуковой частью колотушки о верхний край чаши серией из 9 ударов с ритмом, характеризующимся обязательными равными паузами по 1 секунде между каждым из 9 ударов. После окончания вибрации «поющая чаша» перемещается в следующее положение согласно направлению массажных движений, при этом происходит воздействие звуковыми волнами или на все тело массируемого, или локально. Однако такое устройство не обеспечивает единовременное воздействие на весь организм и возможность регулировать точно амплитуду вибраций, что снижает эффективность воздействия. При установке чаши непосредственно на тело человека вибрационный эффект резко снижается вследствие гашения вибраций. При использовании устройства невозможно получение вибраций низкочастотного спектра, отсутствует бинауральный эффект, что также снижает эффективность данной терапии. Данное устройство имеет ограниченный спектр воздействия, т.к. оказывает воздействие преимущественно на психическую сферу: тревожные и инсомнические расстройства. Наиболее близким аналогом заявляемого изобретения является вибрационная кровать из патента RU 2215514, состоящая из жёсткого каркаса, панели, соединенной с каркасом сверху и снизу, пружинами и генератора механических колебаний. Генератор механических колебаний представлен электродвигателем на 12 вольт, на валу которого расположен шкив с эксцентриковым грузом. Колебания, генерируемые за счет эксцентрикового груза, передаются на панель и все тело пациента, располагающегося на панели горизонтально. Имеется возможность регулировки амплитуды от 0 до 10 мм и частоты от 0 до 200 Гц. Однако использование данного устройства обеспечивает только вибрационное воздействие и не позволяет получить стимуляцию одновременно двумя или более видами частот. Пациент располагается непосредственно на панели, поэтому вибрации воспринимаются субъективно пациентом как довольно грубое, неприятное воздействие. В качестве источника вибраций в данном устройстве используется двигатель, на шкиве которого содержится эксцентрик, соединенный с панелью. Таким образом отсутствует механизм акустического резонанса для генерации колебаний. При этом механизм генерации колебаний - контактный, субъективно воспринимаемый как более грубый, что не позволяет достичь большого уровня релаксации пациента. Устройство не обеспечивает более высокую амплитуду колебаний (больше 10 мм), необходимую для интенсивного воздействия на костно-мышечную ткань человека. Технической проблемой заявляемого изобретения является преодоление недостатков наиболее близкого аналога. Техническим результатом изобретения является единовременное виброакустическое воздействие на тело человека в целом, широкий спектр воздействия на соматическую часть организма, его нервную систему и психическое состояние, повышение степени расслабления пациента и комфортности сеанса виброакустического воздействия, обеспечение точной настройки частоты и амплитуды колебаний, возможность высокой амплитуды колебаний, необходимой для интенсивного воздействия на костно-мышечную ткань человека. Виброакустическая кровать предназначена для коррекции при заболеваниях сердечнососудистой системы (патологические состояния, связанные с нарушением венозного возврата, повышением свертываемости крови), органов живота и грудной полости (хронические заболевания внутренних органов вне стадии обострения), а также гармонизация и нормализация психоэмоционального состояния людей при стрессах, депрессивных расстройствах, нарушении сна. Единовременное виброакустическое воздействие обеспечивается с помощью акустической плиты со строго заданными геометрическими параметрами, наличию генератора частот, микшерного устройства и усилителя частоты. Пациент располагается на верхней раме и во время процедуры находится в звуковом и вибрационном поле, при этом тело пациента непосредственно не соприкасается с акустической плитой, поэтому виброакустическое воздействие субъективно ощущается как приятное, не вызывающее телесного дискомфорта. Для запуска и генерации колебаний акустической плитой используется акустический резонанс, благодаря чему уровень дополнительных шумов вибратора минимальный, что способствует лучшему расслаблению пациента и более комфортному сеансу виброакустического воздействия. Благодаря наличию потенциометра, вибратора специфической конструкции, состоящего из магнитной системы и электромагнитной катушки с сердечником, позволяющим более точно настраивать частоту и амплитуду колебаний, заявляемое устройство обеспечивает более высокую амплитуду колебаний (больше 10 мм), необходимую для интенсивного воздействия на костно-мышечную ткань человека. Сущность заявляемого изобретения заключается в том, что виброакустическая кровать содержит акустическую плиту в виде плоского колокола, верхнюю раму, каркас, содержащий четыре опоры, и вибратор; верхняя рама жёстко соединена с опорами каркаса, акустическая плита расположена под верхней рамой и закреплена на каркасе с помощью амортизированных креплений, вибратор выполнен с возможностью передачи колебаний в точку геометрического центра нижней поверхности акустической плиты. Заявляемое изобретение обеспечивает оздоровление человека и гармонизацию его психоэмоционального состояния, в частности коррекцию опорно-двигательного аппарата (суставов, позвоночного столба, мышечной системы), оздоровление внутренних органов (при спаечных процессах, хронических заболеваниях органов живота и грудной полости), кровеносных сосудов и системы крови, и гармонизацию состояния головного мозга и нервной системы. Комплексное воздействие виброакустической кровати реализуется благодаря совместному воздействию механических вибраций и акустических волн определённой частоты на весь организм человека. Такое воздействие обеспечивается благодаря наличию акустической плиты в виде плоского колокола, имеющего уникальную геометрическую форму. Указанное соотношение сторон пластины (длины А и ширины Б) позволяет получить строго определенные звуковые колебании с заданной частотой (от одного звука до пяти). При этом основная частота пластины (первый тон) оказывает воздействие на костно-мышечную, кровеносную системы и на внутренние органы, а последующие частоты (второй, третий, четвертый и пятый, например октавный, унтертон) оказывает благотворное воздействие на головной мозг и нервную систему, способствую гармонизации ритмов головного мозга, снижая сосудистое напряжение, оказывая противострессовый, антидепрессивный эффекты и нормализуя сон. Возможно возникновение бинаурального эффектамежду первыми последующим звуком пластины с заданной частотой, например 7,8 Гц, соответствующей альфа-ритму головного мозга. В зависимости от геометрии пластины возможно пять разновидностей:

1) А/Б от 1,3 до 1,45 - 1-й и 2-й звуки в октавном соотношении 1 к 2.

2) А/Б от 1,63 до 1,8 - 1-й и 2-й звуки в унисон.

3) А/Б от 1,9 до 2,2 - 1-й и 3-й звуки в соотношении 1 к 4.

4) А/Б от 3,3 до 3,5 - 1-й и 2-й звуки в соотношении 1 к 2.

5) А/Б от 3,6 до 4,5 - 1-й звук унтертон (фундаментальный тон).

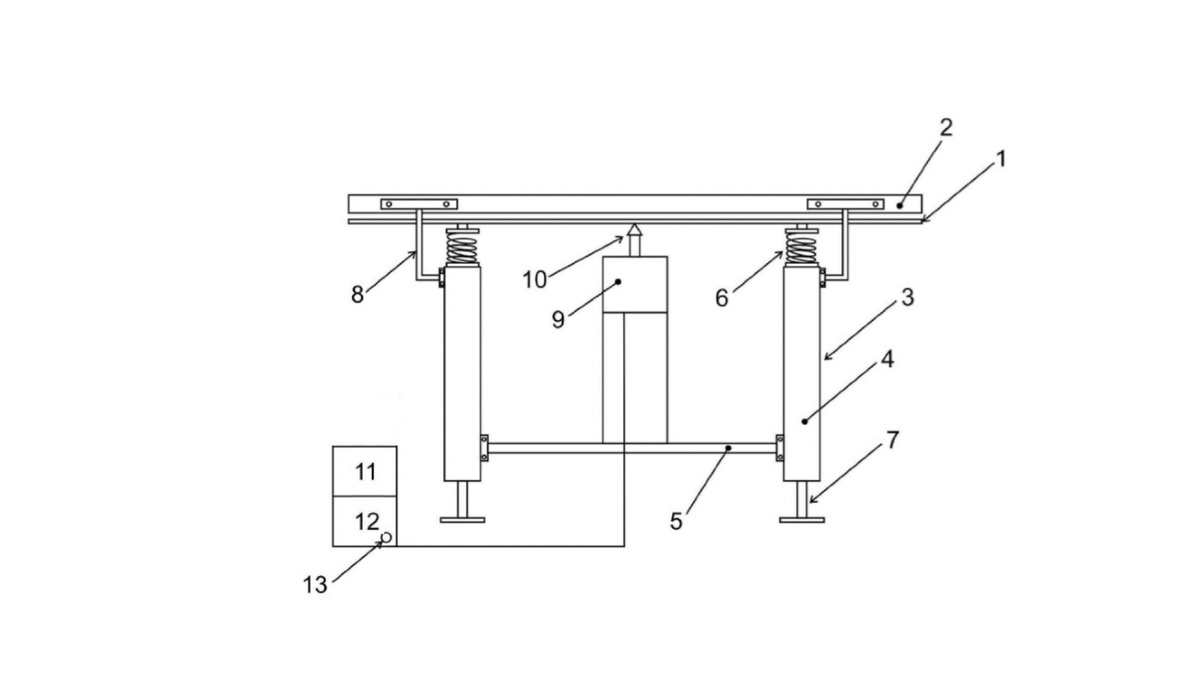
Нумерация звуков следующая: 1-й звук - самый низкий, 2-й, 3-й - следующий соответственно в спектре звучания. Таким образом главным отличием данного изобретения от существующих аналогов является именно совместное воздействие вибрации и звуковых частот и связанного с этим комплексного эффекта на организм и нервную систему человека. Второй существенный признак, отличающий заявляемое изобретение от аналогов, - наличие плоского колокола (акустической плиты), который является источником вибраций и звуковых волн. Третий признак заявляемого изобретения - это воздействие изначально заданными геометрией плиты частотами. Таким образом в процессе процедур частота, с помощью которой осуществляется воздействие, не меняется, так как связана с изначальными геометрическими размерами плиты. В заявляемом изобретении есть возможность изменения амплитуды вибраций с помощью потенциометра от 0,1 мм до 15 мм. В связи с этим возможно обеспечить высокоинтенсивное вибрационное воздействие на пациента при наличии соответствующих показаний или более щадящий режим малоамплитудных вибрационных воздействий. Режим вибраций подбирается индивидуально в зависимости от состояния пациента, патологического процесса, возраста. Данный признак также является отличительным от аналогов и прототипа. Следующий отличительный признак - это механизм акустического резонанса, с помощью которого осуществляется генерация колебаний акустической плитой. Данный признак реализуется благодаря особенности конструкции заявляемого изобретения: строго заданные для данной конструкции акустической плиты частоты генерируются генератором (или генераторами частот в случае, когда акустическая плита настроена на несколько звуков), а затем передаются на усилитель частоты и вибратор, соприкасающийся в строго определенной точке с акустической плитой. Возможен вариант, когда несколько сигналов, соответствующих первым и последующим звукам акустической плиты, генерируются на нескольких генераторах, затем поступают на микшерное устройство и от него передаются на усилитель частот и вибратор. Акустический резонанс возникает за счет колебания сердечника вибратора с частотами, строго соответствующим частотам звучания акустической плиты (совпадение частот должно происходить с точностью до десятитысячной доли после запятой). В этом случае возникает явление совершенного резонанса, и акустическая плита начинает вибрировать и издавать соответствующие звуки. Пациент напрямую не контактирует с поверхностью акустической плиты, располагаясь на верхней раме горизонтально, и находится в вибрационно-звуковом поле. За счёт отсутствия непосредственного контакта с акустической плитой вибрации оказывают более мягкий (субъективно воспринимающийся пациентом) эффект. Заявляемое изобретение поясняется рисунком, на которой позициями 1-13 показаны: 1 - акустическая плита; 2 - верхняя рама; 3 - каркас; 4 - опора; 5 - стяжка; 6 - амортизированное крепление; 7 - регулировочная ножка; 8 - скоба; 9 - вибратор; 10 - наконечник вибратора; 11 - генератор; 12 - микшерное устройство; 13 - усилитель; 14 - потенциометр. Виброакустическая кровать состоит из акустической плиты 1, расположенной подвижно на жестком металлическом каркасе 3, подвижность которой осуществляется благодаря амортизированнымкреплениям6, например, в виде амортизирующих пружин с фторопластовыми шайбами с цилиндрическим сердечником. Амортизированные крепления 6 располагаются в точках покоя (нейтральности) акустической плиты 1. Каркас 3 виброакустической кровати состоит из четырёх опор 4, связанных между собой в нижней трети поперечными и продольными стяжками 5. Опоры 4 каркаса 3 имеют регулировочные ножки 7. Опоры 4 каркаса 3 в верхней трети имеют скобы 8 для крепления верхней рамы 2. Снизу относительно акустической плиты 1 напродольных стяжках каркаса расположен вибратор 9, содержащий сердечник с наконечником 10, непосредственно соприкасающийся с акустической плитой 1 в точке геометрического центра нижней поверхности акустической плиты 1.Вибратор 9 получает сигнал от генератора 11, микшерного устройства 12, усилителя 13 с потенциометром 14. Верхняя рама 2 покрыта мягкой подстилкой и снабжена валиком для головы (на фигуре не показаны).

Источником звуковых колебаний является горизонтально расположенная акустическая плита 1, представляющая собой плоский колокол, с заданной геометрической формой, благодаря чему возможна генерация сразу нескольких колебаний. Акустическая плита 1 может быть изготовлена из латуни, бронзы, алюминиевых сплавов, акустического чугуна и акустического гранита. В зависимости от геометрии акустической плиты 1 возможно пять разновидностей:

1) А/Б от 1,3 до 1,45 - 1-й и 2-й звуки в октавном соотношении 1 к 2.

2) А/Б от 1,63 до 1,8 - 1-й и 2-й звуки в унисон.

3) А/Б от 1,9 до 2,2 - 1-й и 3-й звуки в соотношении 1 к 4.

4) А/Б от 3,3 до 3,5 - 1-й и 2-й звуки в соотношении 1 к 2.

5) А/Б от 3,6 до 4,5 - 1-й звук унтертон (фундаментальный тон).

Примеры размеров в мм акустической плиты 1 в зависимости от разновидности:

1) А = 2000, Б = 1538.4; А = 2000, Б =1428.5; А= 2000, Б = 1379.3;

2) А = 1900, Б = 1165.6; А = 1900, Б = 1117.6; А = 1900, Б = 1055.5;

3) А = 1900, Б = 1000; А = 1900, Б = 950; А = 1900, Б = 863.6;

4) А = 1900, Б = 575.7; А = 1900, Б = 558.8; А = 1900, Б = 542.8;

5) А = 1900, Б = 527.7; А = 1900, Б = 475; А = 1900, Б = 422.2.

Нумерация звуков следующая: 1-й звук - самый низкий, 2-й, 3-й - следующий соответственно в спектре звучания. Акустическая плита 1 расположена подвижно на жестком металлическом каркасе 3 при помощи амортизированных креплений 6 (пружины, постоянные магниты, подвес на тросе) в точках покоя (нейтральности) акустической плиты 1, в которых отсутствует звучание и вибрация. Верхняя рама 2 должна обладать акустической прозрачностью, то есть пропускать вибрации и звуковые волны от акустической плиты 1. Верхняя рама 2 крепится с помощью крепежных скоб 8, расположенных на опорах 4 к металлическому каркасу 3. В случае использования в качестве амортизированных креплений 6 пружин в месте соприкосновения с акустической плитой 1 пружины имеют фторопластовые шайбы с металлическим сердечником, располагаются в отверстиях точек покоя (нейтральности) выполняя функцию амортизатора и изолятора, предохраняя металлический каркас 3 от вибраций акустической плиты 1. Вибратор 9 располагается внизу под акустической плитой 1 наметаллическомкаркасе 3 и жестко соединен с последним. Вибратор 9 представляет собой устройство, в котором электромагнитные волны преобразуются в звуковые колебания. Вибратор 9 состоит из магнитной системы в алюминиевом корпусе цилиндрической формы, катушки с определенным числом витков с сердечником из алюминиевого сплава. Катушка удерживается в зазоре магнитной системы с помощью двух центрирующих шайб с определенным профилем, изготовленных из хлопчатобумажной ткани с клеевой пропиткой. Сердечник катушки с одной стороны имеет резиновый наконечник 10 конусной формы. Количество витков катушки строго связано с диаметром магнитнойсистемы и прямо пропорционально мощности данного вибратора 9, что необходимо учитывать при расчётах размеров акустической плиты 1. Наконечник 10 вибратора 9 устанавливается в определенное место акустической плиты 1 - строго в центр. Вибратор 9 получает требуемый сигнал от усилителя низких частот 13. Генератор частоты 11 позволяет получить требуемое значение частоты сигнала с точностью до тысячных долей и мощностью сигнала не менее 1,5 вольта. Сигнал требуемой частоты и мощности передается на усилитель низких частот 13. Усилитель 13 может быть использован в цифровом или аналоговом вариантах. Усилитель 13 должен иметь потенциометр 14 для регулировки мощности выходного сигнала. Мощность усилителя связана с размерами и весом акустической плиты. Возможен еще один вариант реализации в данной схеме. При необходимости получения сигнала из нескольких частот необходимо наличие нескольких генераторов 11 (двух или более в зависимости от количества частот, подаваемых на акустическую плиту 1) и микшерного устройства 12. Сигналы от генераторов 11 подаются на микшерное устройство 12, а затем полученный сигнал передается на усилитель низких частот 13 и вибратор 9. В таком случае возможно одновременное извлечение из акустической плиты 1 нескольких частот, на которые настроена акустическая плита 1, и связанных с геометрическими значениями соотношения длины и ширины акустической плиты 1. Устройство работает следующим образом. Основной принцип генерации звуковых колебаний акустической плиты 1, используемый в устройстве виброакустической кровати, - это принцип акустического резонанса. Требуемая резонансная частота выставляется с точностью до тысячных долей на генераторе частот 11, подается на усилитель низких частот 13 и затем - на вибратор 9. Если частот несколько, то сигналы от генераторов 11 сначала подаются на микшерное устройство 12, а затем - на усилитель низких частот 13. Сердечник вибратора 9 совершает колебания с частотой, передаваемой от усилителя низких частот 13. Наконечник 10 вибратора 9, соприкасаясь с акустической плитой 1 и совершая колебательные движения с частотой, соответствующей собственной частоте акустической плиты 1, вызывает явление акустического резонанса, и, как следствие, акустическая плита 1 совершает колебания, генерируя вибрации и звуковые волны. При этом вибрации возникают при колебаниях акустической плиты 1 в низкочастотном диапазоне. Амплитуда колебаний акустической плиты 1 в рабочем состоянии может разниться от 0,1 мм до 15 мм в зависимости от мощности сигналов, регулируемых потенциометром 14 на усилителе низких частот 13. Таким образом можно устанавливать необходимую амплитуду колебаний акустической плиты 1 в зависимости от состояния пациент (возраста, сопутствующих патологий, цели данного воздействия). Воздействие на кости, мышцы, суставы требует более высокой амплитуды колебаний. На верхней раме 2 располагается покрытие из многослойной хлопчатобумажной ткани и валик для головы пациента. Пациент располагается лежа горизонтально в удобной позиции, под головой может быть валик. Возможно использовать одноразовые простыни. В начале при запуске устройства потенциометр 14 устанавливают в среднее положение, а через несколько минут по достижению резонанса акустической плитой 1, и как следствие, генерации колебаний, напряжение потенциометром 14 можно уменьшить. Дальнейшая регулировка амплитуды колебаний производится до достижения необходимой амплитуды колебаний и может быть увеличена или уменьшена. Средняя продолжительность сеанса виброакустического воздействия составляет 30-40 минут, для достижения стойкого оздоровительного эффекта необходимо проведение 10 сеансов. В ходе сеанса пациент, как правило, испытывает легкую сонливость, в теле могут возникать ощущения жара, распирания, покалывания, обычно проходящие в ходе сеансов. Главный признак, отличающий виброакустическую кровать от других вибрационных устройств, - это сочетанный виброакустический эффект. С помощью виброакустической кровати достигается виброакустическое воздействие, то есть одновременное воздействие на организм вибрационных и звуковых колебаний. Вибрационные колебания воздействуют преимущественно на кости, мышцы, суставы, внутренние органы, систему крови и кровеносные сосуды. Звуковые колебания воздействуют преимущественно на головной мозг и психоэмоциональное состояние человека, оказывая релаксирующий эффект, гармонизируя и балансируя состояние нервной системы. Явление акустического резонанса в колебательной системе, состоящей из акустической плиты и вибратора, - это еще один отличительный признак, который отличает виброакустическую кровать от наиболее близкого аналога и других устройств вибрационного воздействия. Пациент, который располагается на верхней раме, находится в звуковом поле, при этом не соприкасается с поверхностью акустической плиты. В результате воздействие вибраций получается более мягкое, чем если бы источник вибраций соприкасался непосредственно с кожей человека. Таким образом достигается более мягкий релаксирующий эффект и субъективно воспринимается пациентом как приятное воздействие. Этот признак - еще одно отличие виброакустической кровати от наиболее близкого аналога и других вибрационных устройств.

Патент РФ No2806310 от 30.10.2023

1. акустическаявибро-плита,
2. верхняярама(лежак),
3. металлическийкаркас,
4. опоры,

5. поперечные крепления жесткости,
6. амортизированные крепления,
7. регулируемые ножки-втулки,
8. крепежныескобы,

9. вибратор(НЧ.динамикнепосредственнойпроводимости),
10.резиновый наконечник (демпфер),
11.генератор частоты,
12.усилитель низких частот,

13.потенциометр.

-2