Найти в Дзене

ТА7642, старушка из 70-х. Практика.

Я уже писал о моих дебатах с ИИ о микросхеме ТА7642. Сегодня я снова спросил Алису и она мне выдала вот такую информацию: " Где TA7642 всё же встречалась Учебные и демонстрационные наборы
В радиолюбительских наборах для сборки простейших АМ‑приёмников (например, на средних волнах). Такие комплекты выпускались в Азии и Европе для школ и кружков радиотехники. Специализированные устройства
Портативные приёмники для служебных частот (например, в службах охраны или логистики, где достаточно приёма на фиксированных АМ‑каналах).
Простые радиомикрофоны и передатчики с АМ‑модуляцией (в качестве приёмной части).
Устройства для приёма сигналов телеметрии на низких частотах. Китайские бюджетные изделия
В 1990–2000‑х годах TA7642 иногда использовали в дешёвых карманных АМ‑приёмниках, выпускаемых мелкими производителями. Такие устройства не имели брендов и продавались как «no name»‑продукция. Радиолюбительские конструкции
TA7642 стала популярной среди радиолюбителей для сборки:
приёмников прямого ус
Оглавление

Я уже писал о моих дебатах с ИИ о микросхеме ТА7642. Сегодня я снова спросил Алису и она мне выдала вот такую информацию: "

Где TA7642 всё же встречалась

  1. Учебные и демонстрационные наборы
    В радиолюбительских наборах для сборки простейших АМ‑приёмников (например, на средних волнах). Такие комплекты выпускались в Азии и Европе для школ и кружков радиотехники.
  2. Специализированные устройства
    Портативные приёмники для служебных частот (например, в службах охраны или логистики, где достаточно приёма на фиксированных АМ‑каналах).
    Простые радиомикрофоны и передатчики с АМ‑модуляцией (в качестве приёмной части).
    Устройства для приёма сигналов телеметрии на низких частотах.
  3. Китайские бюджетные изделия
    В 1990–2000‑х годах TA7642 иногда использовали в дешёвых карманных АМ‑приёмниках, выпускаемых мелкими производителями. Такие устройства не имели брендов и продавались как «no name»‑продукция.
  4. Радиолюбительские конструкции
    TA7642 стала популярной среди радиолюбителей для сборки:
    приёмников прямого усиления на СВ/ДВ;
    «жучков» для прослушивания проводных линий;
    простых супергетеродинных приёмников в качестве УПЧ (усилителя промежуточной частоты).

Вывод

TA7642 — это микросхема для самоделок и узкоспециализированных решений, а не для массового промышленного применения. В серийных бытовых радиоприёмниках (Sony, Panasonic, Grundig и др.) она практически не использовалась из‑за ограничений по диапазону и качеству приёма. Её основное применение — учебные наборы, любительские конструкции и дешёвые «ноунейм»‑устройства."

Все очень даже понятно, жаль только, что для наших школ в 90-х - 2000-х таких наборов не предлагалось. Интересно, что сейчас я не встречал у дядюшки Ху наборов с этой микросхемой, хотя отдельно она продается. Но, раз она есть, то нужно ее использовать.

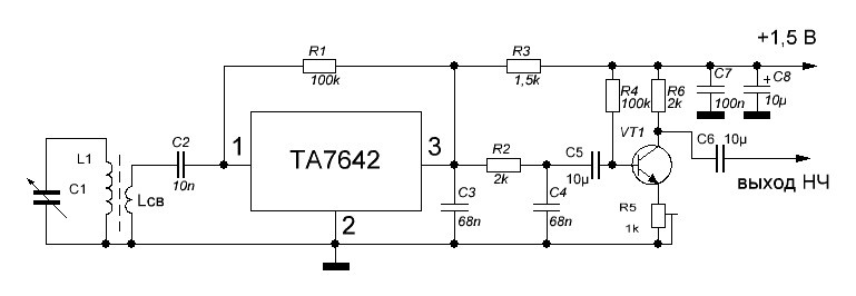
Собрал вот такую схему, которая очень близка к схеме из даташита.

Рис. 1.
Рис. 1.

Контур магнитной антенны подключен к входу микросхемы с помощью катушки связи. Я решил попробовать разное число витков этой катушки. В отличии от даташита я установил между выходом микросхемы и входом УНЧ. Чтобы обеспечить громкоговорящий прием, я подключил к этому блоку УМЗЧ на микросхеме TDA7267 c АРУ на полевике 2N7000.

Рис. 2
Рис. 2

Межу выходом платы УВЧ и входом платы УМЗЧ я влючил на всякий случай регулятор уровня в виде подстроечного конденсатора 10 кОм. Питание блока ВЧ осуществлял от одной батарейки АА (1,5 В), а блока УМЗЧ - от двух li-ion аккумуляторов (8 В).

Все заработало сразу. ТА7642 оказалась довольно шумной, по крайней мере шумнее К174ХА10, но чувствительность с катушкой связи, имеющей 4 витка, была хорошей, без самовозбуждения. Прослушивались с разным уровнем все приводные маяки, которые я слышал с другими ВЧ-блоками.

Попробовал увеличить напряжение питания до 3 В, но шум возрос так, что забивал полезный сигнал. Тогда увеличил количество витков катушки до 15.

Рис. 3.
Рис. 3.

Уровень сигнала возрос, пришлось даже отодвинуть катушку связи от контурной катушке подальше. Зато избирательность была отличная. Теперь попробовал подключить контур магнитной антенны без катушки связи.

Рис. 4.
Рис. 4.

Как ни странно, уровень сигнала не увеличился, но качество его стало лучше. Уменьшилась и избирательность: станции, которые с катушкой связи я принимал по отдельности, теперь принимались одновременно.

И еще одна интересная особенность микросхемы: напряжение на выводе 3 составляло 1,11 В и не менялось в зависимости от уровня принимаемой станции. Только при настройке на самую мощную станцию напряжение на этом выводе уменьшалось до ... 1,10 В. Вот такая работа АРУ. Я решил-таки заставить ее работать, подав на вход сигнал от генератора.

Рис. 5.
Рис. 5.

Таким образом, АРУ все-таки работает, но сигнал на входе должен быть большим, т.е. стОит перед микросхемой установить дополнительный каскад УВЧ с небольшим коэффициентом усиления: 5-10 раз.

Вот такой блок, с предварительным УВЧ на входе и УНЧ на выходе можно использовать как в приемниках прямого усиления, так и в супергетеродинах.

Рис. 6.
Рис. 6.

В качестве транзистора УВЧ желательно использовать какой-нибудь малошумящий, например КТ368.

Видио работы приемника с ТА7642 выложу позже. Прошу простить за помехи, возникающие при работе сотового телефона, которым веду съемку, от фотоаппарата помех еще больше :)).

Всем здоровья и успехов!