Найти в Дзене
ПРО СЦБ

Электрические цепи бывают разными...

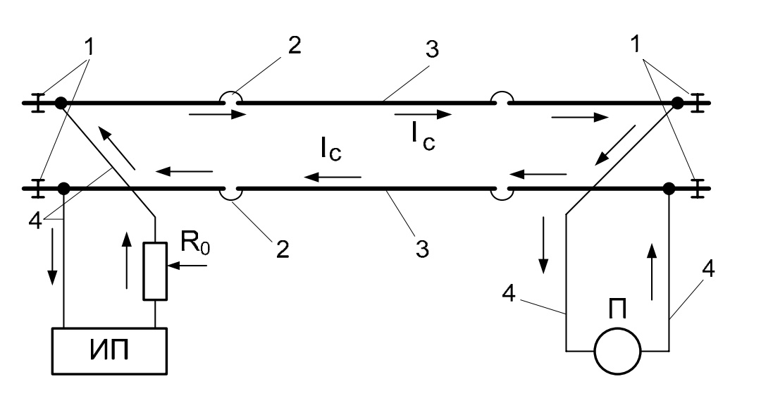
Электрические рельсовые цепи - это основа построения зависимостей всех схем СЦБ. Они автоматически контролируют свободное и занятое состояние участков на перегонах и станциях, а также целость рельсовых нитей, исключают перевод стрелок под подвижным составом, обеспечивают автоматический контроль приближения поездов к переездам и станциям, передают кодовые сигналы от сигнальных установок (светофоров) на локомотив. Так что же представляет собой рельсовая цепь? Рельсовая цепь представляет собой электрическую цепь, в которой имеется источник питания (ИП), рельсовая линия и путевой приемник. В качестве путевого приемника в рельсовых цепях чаще всего используются электромагнитные реле. При отсутствии поезда на рельсовой линии от источника питания к путевому приемнику течет сигнальный ток. Схема рельсовой цепи На схеме: 1 - изолирующие стыки, отделяют одну рельсовую цепь от другой; 2 - стыковые приварные рельсовые соединители, соединяют отдельные звенья рельсовой цепи; 3 - рельсовая нить; 4 -

Электрические рельсовые цепи - это основа построения зависимостей всех схем СЦБ. Они автоматически контролируют свободное и занятое состояние участков на перегонах и станциях, а также целость рельсовых нитей, исключают перевод стрелок под подвижным составом, обеспечивают автоматический контроль приближения поездов к переездам и станциям, передают кодовые сигналы от сигнальных установок (светофоров) на локомотив.

Так что же представляет собой рельсовая цепь?

Рельсовая цепь представляет собой электрическую цепь, в которой имеется источник питания (ИП), рельсовая линия и путевой приемник. В качестве путевого приемника в рельсовых цепях чаще всего используются электромагнитные реле. При отсутствии поезда на рельсовой линии от источника питания к путевому приемнику течет сигнальный ток.

Схема рельсовой цепи
Схема рельсовой цепи
На схеме: 1 - изолирующие стыки, отделяют одну рельсовую цепь от другой;
2 - стыковые приварные рельсовые соединители, соединяют отдельные звенья рельсовой цепи;
3 - рельсовая нить;
4 - специальные медные или стальные многожильные провода, соединяют аппаратуру питающего и релейного концов рельсовой цепи с рельсами.

При отсутствии подвижного состава на рельсовой линии путевым приемником должна подаваться информация о свободном состоянии контролируемого участка.

При наличии на рельсовой линии колесной пары подвижного состава или повреждении рельсовой линии, должна подаваться информация о занятости контролируемого участка.

При повреждении изолирующих стыков путевые приемнике смежных рельсовых цепей опускают якоря.