Добавить в корзинуПозвонить
Найти в Дзене
TechVerse

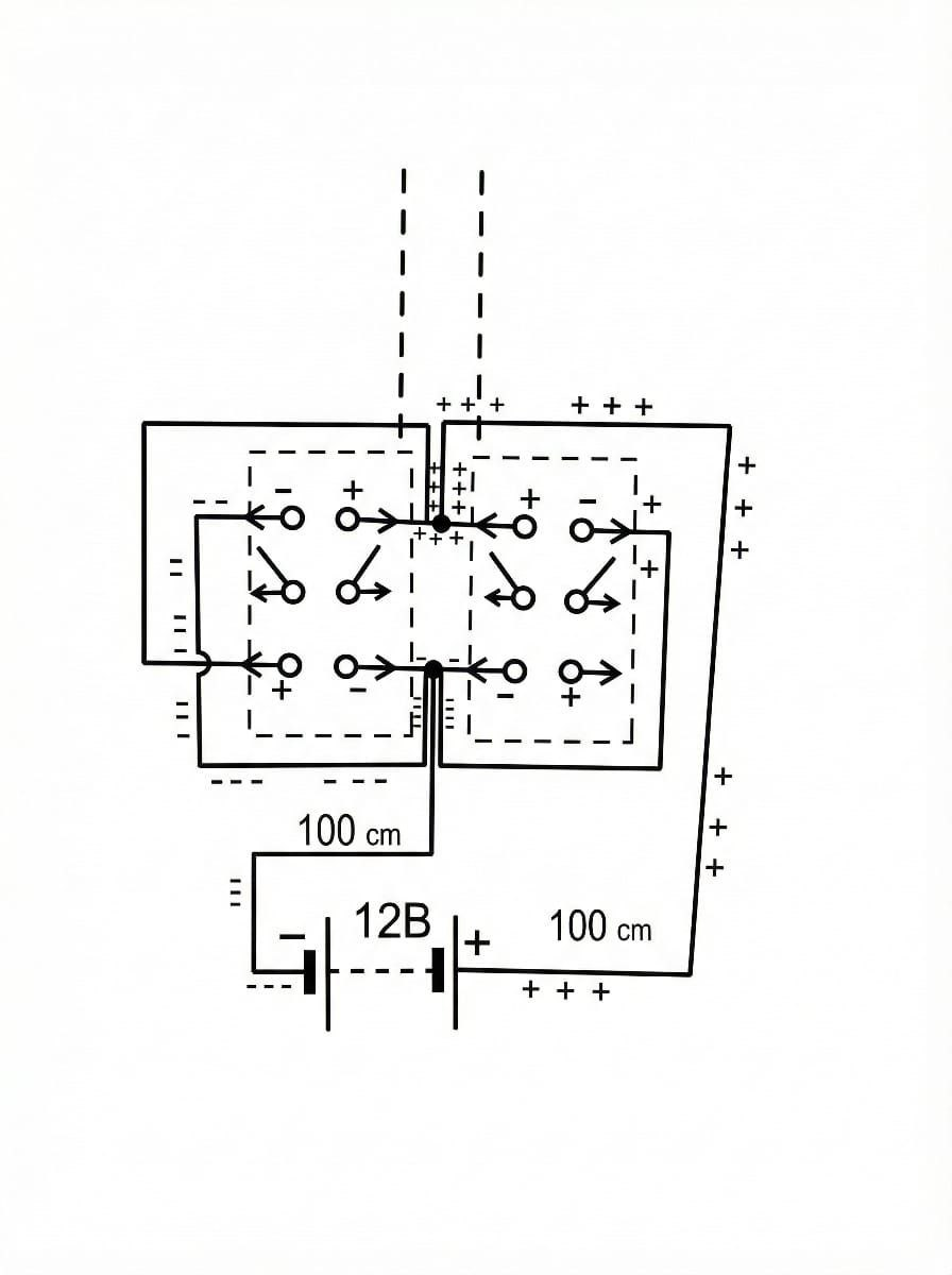
Схема пульта управления моделями 1 года

Представь, что эта картинка — это карта для маленьких невидимых человечков, которых зовут «Электричество» ⚡️. Они живут в батарейке и очень любят бегать по дорожкам. ​Давай посмотрим, что здесь нарисовано: ​Батарейка внизу (12В) 🔋 Это домик, где живут человечки. У них есть две команды: команда Плюс (+) и команда Минус (-). Они всегда хотят бежать друг к другу. ​Черные линии 〰️ Это дороги или горки, по которым бегут человечки. На картинке написано «100 см» — это значит, что дороги очень длинные, целый метр! Как от пола до твоего плеча. ​Два больших квадрата в центре 🔲🔲 Это самое интересное! Это «Волшебный перекресток». Видишь там стрелочки внутри? Это ворота. Они могут открываться и закрываться.Когда ворота открыты в одну сторону — ток бежит прямо, и, например, машинка едет вперед 🏎️. ​А если щелкнуть переключателем, ворота перекидываются, человечки меняются местами (плюс бежит туда, где был минус), и машинка едет назад! 🔙 ​Итог: Эта схема нужна, чтобы сделать пульт управления дл

Представь, что эта картинка — это карта для маленьких невидимых человечков, которых зовут «Электричество» ⚡️. Они живут в батарейке и очень любят бегать по дорожкам.

​Давай посмотрим, что здесь нарисовано:

​Батарейка внизу (12В) 🔋 Это домик, где живут человечки. У них есть две команды: команда Плюс (+) и команда Минус (-). Они всегда хотят бежать друг к другу.

​Черные линии 〰️ Это дороги или горки, по которым бегут человечки. На картинке написано «100 см» — это значит, что дороги очень длинные, целый метр! Как от пола до твоего плеча.

​Два больших квадрата в центре 🔲🔲 Это самое интересное! Это «Волшебный перекресток». Видишь там стрелочки внутри? Это ворота. Они могут открываться и закрываться.Когда ворота открыты в одну сторону — ток бежит прямо, и, например, машинка едет вперед 🏎️.

​А если щелкнуть переключателем, ворота перекидываются, человечки меняются местами (плюс бежит туда, где был минус), и машинка едет назад! 🔙

​Итог:

Эта схема нужна, чтобы сделать пульт управления для модели. С её помощью можно заставить моторчик крутиться то в одну сторону, то в другую. Нажал кнопку — модель поехала вверх, нажал другую — поехала вниз! 🎢