Найти в Дзене
Сергей Харченко

Учебное руководство, традиционные котлы Аристон Cares X, HS X, Cares XC, HS XC, Egis XC.

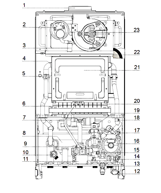
Перед Вами учебное руководство на традиционные котлы Аристон Cares X, HS X, Cares XC, HS XC, Egis XC. Этот обучающий материал по техническому устройству, навыкам настройки, ремонта и обслуживания котлов Аристон. Данное руководство предназначено для сервисных специалистов, специалистов по монтажу, инженеров технических служб и проектировщиков систем отопления и водоснабжения. Дата создания учебного пособия по котлам 01.2024 Статья взята отсюда https://progazblog.ru/uchebnoe-rukovodstvo-tradiczionnye-kotly-ariston-cares-x-hs-x-cares-xc-hs-xc-egis-xc/

Учебное руководство. Традиционные котлы Аристон
Учебное руководство. Традиционные котлы Аристон

Перед Вами учебное руководство на традиционные котлы Аристон Cares X, HS X, Cares XC, HS XC, Egis XC. Этот обучающий материал по техническому устройству, навыкам настройки, ремонта и обслуживания котлов Аристон. Данное руководство предназначено для сервисных специалистов, специалистов по монтажу, инженеров технических служб и проектировщиков систем отопления и водоснабжения.

Дата создания учебного пособия по котлам 01.2024

Статья взята отсюда https://progazblog.ru/uchebnoe-rukovodstvo-tradiczionnye-kotly-ariston-cares-x-hs-x-cares-xc-hs-xc-egis-xc/