Добавить в корзинуПозвонить
Найти в Дзене
Salex

Узел герметизации для колодцев и стен нелинейной формы: защита в сложных инженерных условиях

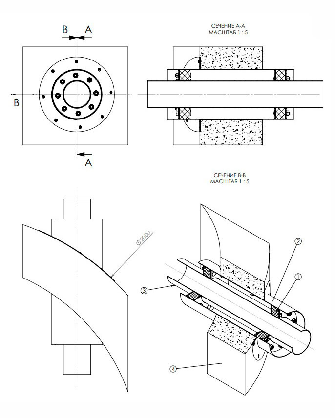
Когда инженерные коммуникации проходят через колодцы, шахты или стены нестандартной конфигурации, задача герметизации становится особенно сложной. Неровная поверхность стен, неоднородность материалов и сложная геометрия проемов требуют применения специальных решений, способных обеспечить герметичность и надежность даже в нестандартных условиях. Для таких задач применяется узел герметизации проходной для колодцев и стен нелинейной формы — конструкция, специально разработанная для герметичного уплотнения трубопроводов в сложных участках. Назначение и особенности конструкции Этот тип узла предназначен для защиты инженерных вводов от попадания влаги, грунтовых вод, химически агрессивных веществ и пыли. Он используется при строительстве и ремонте колодцев, насосных станций, подземных коммуникаций и промышленных объектов. Главная особенность конструкции — способность адаптироваться к неровным и изогнутым поверхностям. Узел сохраняет герметичность даже в местах с искривлением стен или неров
Оглавление

Когда инженерные коммуникации проходят через колодцы, шахты или стены нестандартной конфигурации, задача герметизации становится особенно сложной. Неровная поверхность стен, неоднородность материалов и сложная геометрия проемов требуют применения специальных решений, способных обеспечить герметичность и надежность даже в нестандартных условиях.

Для таких задач применяется узел герметизации проходной для колодцев и стен нелинейной формы — конструкция, специально разработанная для герметичного уплотнения трубопроводов в сложных участках.

Назначение и особенности конструкции

Этот тип узла предназначен для защиты инженерных вводов от попадания влаги, грунтовых вод, химически агрессивных веществ и пыли. Он используется при строительстве и ремонте колодцев, насосных станций, подземных коммуникаций и промышленных объектов.

Главная особенность конструкции — способность адаптироваться к неровным и изогнутым поверхностям. Узел сохраняет герметичность даже в местах с искривлением стен или неровными сопряжениями, где обычные решения неэффективны.

Благодаря разъемной структуре и использованию гибких уплотнительных элементов, узел можно монтировать без нарушения целостности конструкции и без применения сложного инструмента.

Состав узла герметизации

Узел включает в себя несколько взаимосвязанных компонентов, каждый из которых выполняет свою функцию в системе защиты:

  • Разъемная гермовтулка Salex® ГВ-Р — обеспечивает герметичное обжатие трубы по контуру и препятствует попаданию влаги и газов.
  • Проходная гильза Salex® ГП — формирует жесткий канал в теле конструкции, служит основанием для установки гермовтулки.
  • Рабочая труба — основной элемент инженерной системы, проходящий через стену или колодец.

Такой комплект обеспечивает не только герметичность, но и механическую защиту трубопровода от внешних воздействий, вибраций и возможных деформаций.

-2

Преимущества и технические характеристики

  • подходит для герметизации вводов в стенах и колодцах с нестандартной формой;
  • допускает монтаж в бетон, железобетон, кирпич и другие строительные материалы;
  • обеспечивает герметичность при осевом смещении и деформации трубы;
  • сохраняет эксплуатационные свойства при глубине установки до 50 м;
  • устойчив к воздействию воды, газа и химически активных сред;
  • подходит для всех типов трубопроводов — стальных, пластиковых, чугунных;
  • допускает угловые отклонения коммуникаций и использование деформированных труб.

Благодаря этим свойствам узел герметизации применяется не только при монтаже новых инженерных систем, но и при реконструкции существующих, где важно обеспечить герметичность без демонтажа основной конструкции.

Применение узлов Salex

Компания Salex разрабатывает и производит узлы герметизации для различных типов строительных конструкций, включая колодцы, фундаменты и технические помещения. Используемые материалы — нержавеющая сталь AISI 304/316 и эластомеры (EPDM, TPE, MBS) — обеспечивают долговечность и устойчивость к коррозии, перепадам температур и давлению.

Узлы Salex проходят заводские испытания и соответствуют современным нормативным требованиям к водо- и газонепроницаемости.

Где заказать надежный узел герметизации

Если Вам необходимо обеспечить герметичность инженерных вводов через стены сложной формы или колодцы, выберите узлы герметизации Salex. Мы предложим оптимальное решение под конкретные условия эксплуатации, подготовим техническую документацию и обеспечим поставку изделий с гарантией качества.

Перейдите на сайт компании Salex, чтобы заказать узлы герметизации и комплектующие, соответствующие требованиям вашего проекта.