Добавить в корзинуПозвонить
Найти в Дзене

Как построить баню своими руками.

Прежде всего нужно нарисовать проект того, что вы хотите. Это будет фундамент. На самом деле он получился проще, так как под небольшим слоем земли обнаружился сплошной песок, который является хорошим основанием. Под фундаменты понадобились отдельные блоки 20х20х40см, установленные вертикально. План нижней обвязки и лаг. Размер бани небольшой, но зато протапливать ее очень быстро. В моечной нужно сделать покатый пол, чтобы вода могла сливаться в одно отверстие. Для жесткости каркаса нужно установить раскосы по всем стенам. В каркасе предусмотреть расположение всех окон и дверей. Стропила около прохода дымовой трубы нужно расположить пошире, чтобы не нагревались и не сгорели. На дымовую трубу добавил еще одно колено по сравнению с тем что на рисунке. Дым пусть выходит повыше от земли и тяга будет получше. В реальности пластиковые панели заменены на вагонку. Фольга на бумажной основе в парной нужна- меньшие теплопотери. Нарисовать расположение печи и бака лучше заранее, чтобы потом не

Прежде всего нужно нарисовать проект того, что вы хотите.

-2

Это будет фундамент. На самом деле он получился проще, так как под небольшим слоем земли обнаружился сплошной песок, который является хорошим основанием. Под фундаменты понадобились отдельные блоки 20х20х40см, установленные вертикально.

-3

План нижней обвязки и лаг.

-4

Размер бани небольшой, но зато протапливать ее очень быстро.

-5

В моечной нужно сделать покатый пол, чтобы вода могла сливаться в одно отверстие.

-6

Для жесткости каркаса нужно установить раскосы по всем стенам.

-7

В каркасе предусмотреть расположение всех окон и дверей.

-8

Стропила около прохода дымовой трубы нужно расположить пошире, чтобы не нагревались и не сгорели.

-9

На дымовую трубу добавил еще одно колено по сравнению с тем что на рисунке. Дым пусть выходит повыше от земли и тяга будет получше.

-10

В реальности пластиковые панели заменены на вагонку. Фольга на бумажной основе в парной нужна- меньшие теплопотери.

.
.

Нарисовать расположение печи и бака лучше заранее, чтобы потом не было накладок с габаритами печи.

Узел опирания стропил на верхнюю обвязку. Доски раскосов не должны выпирать за плоскость стены. Иначе потом не обшить стен.

-13

Если никогда не монтировали софиты на кровле, то лучше посмотреть в интернете, как это правильно делается.

Не помешает составить ПОС ( проект организации строительства)

Перечень работ по бане.

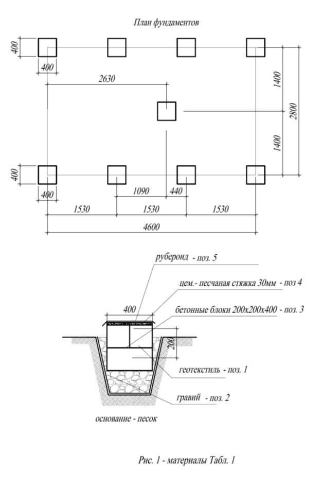
Фундамент. ( Рис. 1)

1. Откопать 9 ям 60х60х60см. Уложить геотекстить, дно ям засыпать гравием. Утрамбовать гравий.

2. Смонтировать на растворе столбчатые фундаменты из бетонных блоков 20х20х40см. Верхний обрез фундаментов выровнять по водяному уровню. Уложить на блоки сверху рубероид. Выполнить обратную засыпку гравия и грунта у фундаментов.

Нижняя обвязка. Каркас. (Рис. 5, Рис. 6)

1. Уложить по периметру брусья нижней обвязки 100х100мм ( поз. 1 Рис.2). Скрепить брусья в узлах гвоздями и металлическими скобами ( поз. 4 Рис.2).

2. Установить угловые стойки из бруса 100х100мм (поз.1 Рис.5). Разметить и установить рядовые стойки каркаса из досок 40х100мм (поз.2 Рис. 5). Установить подкосы на стойки из досок 25х100мм ( 4 сорт, поз. 3 Рис. 5). Смонтировать верхнюю обвязку из досок 25х100мм (поз. 13. Рис. 5). Рядовые стойки снизу и сверху закрепить металлическими уголками 50х35х50 ( поз.7, рис. 6).

Стропила, крыша ( Рис. 7).

1. Собрать за земле 8 стропильных ферм по Рис. 7 из досок 25х100мм ( поз.13. рис. 7).

2. Установить стропильные фермы на верхнюю обвязку по Рис. 7. Стропила в местах опирания закрепить при помощи уголков 50х35х50мм ( по два уголка с каждой стороны) к доскам верхней обвязки.

3. Раскатать по стропилам ветро-влагозащиту Axton А ( поз. 8. Рис. 7). Прибить сверху ветро-влагозащиты на стропила контр обрешетку 20х40мм ( поз.8. Рис. 7). Прибить на контр обрешетку доски обрешетки 25х100мм (4 сорт) с шагом 200мм. ( поз. 6 рис. 7).

4. Смонтировать по обрешетке листы ОСБ ( поз. 5). По карнизам закрепить карнизную планку ( поз.1 табл. 4). По фронтонам закрепить фронтонную планку (поз. 2 табл. 4) Смонтировать подкладочный ковер шинглас ( поз. 3). Смонтировать гибкую черепицу кровли ( поз. 4).

Внешняя отделка. ( Рис. 8, Рис.9)

1. Раскатать снаружи по стойкам каркаса ветро-влагозащиту Axton А и закрепить ее степлерами к стойкам ( поз. 6 Табл. 3). Набить поверх ветро-влагозащиты к стойкам каркаса контр рейки 20х40мм.

2. Установить оконные блоки ( поз. 1 табл. 6), подоконные сливы, цокольные сливы, входную дверь.

3. Обшить стены доской блок-хаус( поз. 3 табл. 6). На уровне цоколя и фундаментных блоков обшить стены фасадными панелями «крупный камень» ( поз. 5 табл. 6). Карнизные свесы обшить софитами ( поз. 7 табл. 6).

4. Выполнить утепление стен и крыши каменной ватой «Технониколь» 100мм.

5. Раскатать пароизоляцию Axton В по внутренней стороне стен, закрепить ее к стойкам степлерами. Прибить поверх пароизоляции контр рейки 20х40мм ( кроме участка парной – там будет фольга).

Пол. ( Рис. 2) – начало.

1. Разметить по Рис. 2 и прибить гвоздями к нижней обвязке металлические опоры бруса 140х76х50 ( поз. 3 Рис. 2).Вставить в опоры бруса лаги из досок 50х100мм и закрепить их к опорам.

2. Закрепить саморезами к нижней грани лаг доски подбора 25х100мм ( 4 сорт) с шагом 200мм ( поз. 5 Рис. 2).

3. В качестве черного пола уложить на лаги листы ОСБ.

Внутренние перегородки. Отделка. ( Рис. 3)

1. Установить стойки из досок 50х100мм для каркаса перегородок в соответствии с Рис. 3. Стойки сверху и снизу закрепить металлическими уголками.

2. На участке установки печи в перегородке выложить кирпичную кладку толщиной 120мм с отверстием под топку по Рис. 3. Утеплить перегородки мягким минераловатным утеплителем толщиной 50мм.

3. В парной раскатать фольгу на бумажной основе, закрепить степлерами к стойкам и стропилам на потолке. На фольгу к стойкам и стропилам прибить контр рейки 20х40мм. Стены и потолок парной обшить вагонкой из осины 16мм. В моечной по стойкам раскатать ветро-влагозащиту Axton А, набить на нее контр рейки 20х40мм. Обшить стены моечной пластиковыми панелями 2700х100х10.

4. Обшить стены и потолок комнаты отдыха вагонкой сосна ( поз. 10 табл. 7). Обшить потолок моечной вагонкой сосна.

5. Нанести на пол моечной из асбестоцементных плит обмазочную гидроизоляцию. Смонтировать слив в полу. Смонтировать порожки и установить стеклянные двери между моечной и комнатой отдыха и между моечной и парной.

Установка печи. ( Рис. 10).

1. На полу в парной выложить площадку 500х650мм из кирпичей под печь. Уложить на площадку лист минерита 630х500мм. Над печью выпилить доски потолка и кровли для дымохода. Стены в парной около печи обшить на высоту 1200мм фиброцементными плитами –минерит с отступом плит от стен 20-30мм.

2. Установить печь на кирпичное основание. Установить модуль-колено дымохода диаметром 115мм. Навесить бак 50л. Установить заслонку-шибер. Установить переходник на сэндвич. Все соединения ставить на герметик. Смонтировать на потолке проходной узел 500х500х290мм. Установить два колена сэндвич трубы 500мм + 1000мм. Стыки сэндвич трубы скрепить хомутами на герметике. Надеть на трубу крышную разделку. Стыки загерметизировать мастикой. Смонтировать зонтик искрогаситель на оголовке. В моечной уложить перед печью притопочный металлический лист 400х600.

Пол. ( Рис. 2) – конец.

1. Раскатать по доскам подбора и лагам ветро-влагозащиту Axton А ( поз. 7 Рис. 2). Уложить плиты утеплителя 100мм ( поз. 6 Рис. 2). Раскатать по утеплителю пароизоляцию Axton В ( поз. 8).

2. Уложить шпунтованные доски пола 35х146мм (поз. 9 Рис. 2) в местах, указанных на схеме Рис. 4. На участке пола моечной набить доски 25мм ( 4 сорт) с двойным уклоном к фасадной стене под укладку шифера ( см Рис. 4). В моечной уложить на пол и закрепить к доскам пола два листа шифера 1000х1100мм ( см. Рис. 4).

Чтобы представить, какие материалы нужно купить и сколько это будет стоить, заранее составить ведомость материалов.

-14
-15
-16

-17

-18

Монтаж фундамента нижней обвязки и лаг.

-19

Установка стоек каркаса

-20

Монтаж стропил.

-21

Когда крыша готова, то дождь не помешает внутренним работам по бане.

.
.

Обшивка стен.

-23

Утепление пола.

-24

Устройство внутренних перегородок.

.
.

Утепление потолка.

-26

Обшивка вагонкой стен комнаты отдыха.

-27

Обшивка вагонкой помещения моечной.

-28

Обшивка стен блок-хаусом. Установка окон и дверей.

-29

Устройство пола веранды.

-30

Монтаж стоек веранды.

-31

Монтаж навеса над верандой.

-32

Монтаж листов поликарбоната на крыше веранды.

.
.

Комната отдыха.

-34

Помещение моечной.

-35

Комната отдыха.

-36

Моечная и комната отдыха.

-37

Парная

-38

Ненавязчивое освещение парной.

-39

Баня зимой.