Добавить в корзинуПозвонить
Найти в Дзене
Прокачай свои мозги

Ferrari запатентовала боковой выхлоп - вот как выглядит новая конструкция

Задолго до того, как система патентования стала общепринятой практикой, инженеры Ferrari уже вовсю экспериментировали с боковым выхлопом на гоночных трассах. Модель Ferrari 250 TR59/60, появившаяся в 1960 году, представляла собой эволюцию версии TR59, которая, в свою очередь, пришла на смену легендарному Ferrari 335 S Sport Scaglietti 1957 года — одному из самых дорогих автомобилей марки из когда-либо проданных на аукционе. Три из пяти автомобилей этой ограниченной серии получили заводские боковые выхлопные трубы. Известный конструктор Карло Чити задумал её как гоночный автомобиль нового уровня, и именно эта модель принесла Ferrari победу в суточном марафоне «24 часа Ле-Мана» 1960 года, оставив заметный след в гоночном наследии марки. Спустя шесть десятилетий Ferrari подала патентную заявку на новую конфигурацию бокового выхлопа. Похоже, знаменитый бренд с гарцующим жеребцом всерьез рассматривает возможность применения такой системы на одной из будущих моделей. Будет ли это эксклюзивна
Оглавление

Задолго до того, как система патентования стала общепринятой практикой, инженеры Ferrari уже вовсю экспериментировали с боковым выхлопом на гоночных трассах. Модель Ferrari 250 TR59/60, появившаяся в 1960 году, представляла собой эволюцию версии TR59, которая, в свою очередь, пришла на смену легендарному Ferrari 335 S Sport Scaglietti 1957 года — одному из самых дорогих автомобилей марки из когда-либо проданных на аукционе. Три из пяти автомобилей этой ограниченной серии получили заводские боковые выхлопные трубы. Известный конструктор Карло Чити задумал её как гоночный автомобиль нового уровня, и именно эта модель принесла Ferrari победу в суточном марафоне «24 часа Ле-Мана» 1960 года, оставив заметный след в гоночном наследии марки.

Спустя шесть десятилетий Ferrari подала патентную заявку на новую конфигурацию бокового выхлопа. Похоже, знаменитый бренд с гарцующим жеребцом всерьез рассматривает возможность применения такой системы на одной из будущих моделей. Будет ли это эксклюзивная мелкосерийная версия, современное прочтение 250 TR59, нечто совершенно новое или же идея так и останется на бумаге, покажет время. Ведь сам по себе патент еще не гарантирует запуск в производство, но дает нам представление о векторе инженерной мысли. Давайте разберемся, что же представляет собой новейшая разработка Ferrari.

В чем уникальность патента Ferrari на боковой выхлоп и какие у него преимущества

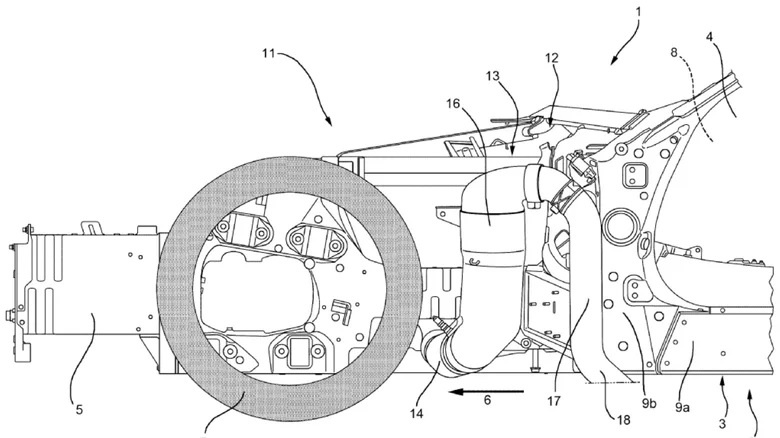
В патенте US20250319762, опубликованном 16 октября 2025 года, описан дорожный автомобиль с системой бокового выхлопа, трубы которой проходят под дверями и выходят в районе передних колес. Кроме того, в документе раскрывается, как инженеры Ferrari намерены совместить эффектный внешний вид такой системы с функцией пассивной безопасности. Новая конструкция призвана поглощать энергию удара и предотвращать смещение передних колес в сторону салона при столкновении.

Источник: Ferrari
Источник: Ferrari

Изначально боковой выхлоп был атрибутом исключительно гоночных автомобилей, ведь чем короче выхлопные трубы, тем меньше противодавление. К тому же для такой системы требуется меньше металла, что снижает ее общий вес. Располагается же она низко и в пределах колесной базы, что улучшает развесовку, понижает центр тяжести автомобиля и положительно сказывается на управляемости. О гоночных корнях технологии говорит и простота доступа к трубам, что позволяет механикам обслуживать систему без необходимости снимать защиту днища или поднимать машину.

Размещение выхлопа по бокам освобождает пространство сзади. Это позволяет глубже интегрировать диффузор и сделать днище более гладким для оптимизации воздушных потоков. Отчасти поэтому на большинстве современных спорткаров Ferrari выхлопные патрубки расположены максимально высоко, в отличие от суперкаров прошлых лет, у которых они чаще выходили в нижней части заднего бампера.

Стоит ли ожидать скорого появления бокового выхлопа в Ferrari?

Сам факт подачи патентной заявки еще ничего не гарантирует. Все автопроизводители, включая Ferrari, постоянно патентуют различные решения, но многие из них так и не доходят до конвейера. К примеру, еще в 2001 году Ferrari получила патент US6578916B2 на сиденье с адаптируемой внешней оболочкой. Прошло 24 года, а мы так и не увидели серийной Ferrari с сиденьями, способными динамически менять свою форму.

-3

Чтобы патент получил путевку в жизнь, он должен вписываться в постоянно ужесточающиеся нормы и стандарты. Некоторые изобретения просто опережают свое время, как, например, идея Tesla очищать лобовое стекло лазерами. Другие же, вроде тактильных носков от Apple, и вовсе относятся к числу самых странных запатентованных идей, так и не ставших реальностью. Как отмечается в исследовании журнала Scientometrics (2025), патенты охватывают лишь малую долю реальных инноваций.

Большинство изобретений так и остаются на бумаге, в то время как многие реально внедряемые инновации и вовсе обходятся без патентов. Для успешной реализации идеи должно совпасть множество факторов. Что касается Ferrari, то их патент на боковой выхлоп действительно может оказаться предвестником грядущих перемен. Но с тем же успехом он может быть всего лишь очередным дизайнерским решением, превентивной мерой для защиты интеллектуальной собственности или просто техническим экспериментом, которому не суждено дойти до конвейера по множеству причин.

Уважаемые читатели, если для вас данная статья была полезной, пожалуйста подпишитесь, это поможет начинающему автору и каналу в продвижении.