Добавить в корзинуПозвонить
Найти в Дзене
Евромеханика

Муфта GS28 с взрывозащищенным исполнением ATEX: точность по вашим чертежам

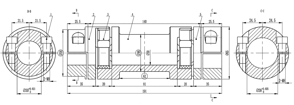
Реализован сложный заказ на изготовление безлюфтовой муфты GS28 с удлинителем DKM-H во взрывозащищенном исполнении ATEX. Все параметры, включая посадочные диаметры 38 мм и 30 мм и длину 81 мм, строго соответствовали предоставленным заказчиком чертежам. ТЕХНИЧЕСКИЕ ХАРАКТЕРИСТИКИ ИЗДЕЛИЯ ·         Тип муфты: GS28 (безлюфтная) + DKM-H (удлинитель) ·         Посадочные диаметры: d1 = 38 мм, d2 = 30 мм ·         Общая длина: L = 191 мм ·         Материал: Сталь C45 ·         Твердость упругого элемента: 98 Sh A ·         Исполнение: Взрывозащищенное (ATEX) ·         Особенность: Изготовлено по чертежам заказчика Данная муфта представляет собой комбинированное решение, объединяющее классическую безлюфтовую муфту GS28 и удлинитель DKM-H. Такая конструкция позволяет не только передавать крутящий момент без зазоров, обеспечивая высокую точность позиционирования, но и компенсировать возможные осевые смещения валов. Ключевые преимущества решения: ·         Абсолютное соответствие ТЗ: Все геометр

Реализован сложный заказ на изготовление безлюфтовой муфты GS28 с удлинителем DKM-H во взрывозащищенном исполнении ATEX. Все параметры, включая посадочные диаметры 38 мм и 30 мм и длину 81 мм, строго соответствовали предоставленным заказчиком чертежам.

-2

ТЕХНИЧЕСКИЕ ХАРАКТЕРИСТИКИ ИЗДЕЛИЯ

·         Тип муфты: GS28 (безлюфтная) + DKM-H (удлинитель)

·         Посадочные диаметры: d1 = 38 мм, d2 = 30 мм

·         Общая длина: L = 191 мм

·         Материал: Сталь C45

·         Твердость упругого элемента: 98 Sh A

·         Исполнение: Взрывозащищенное (ATEX)

·         Особенность: Изготовлено по чертежам заказчика

Данная муфта представляет собой комбинированное решение, объединяющее классическую безлюфтовую муфту GS28 и удлинитель DKM-H. Такая конструкция позволяет не только передавать крутящий момент без зазоров, обеспечивая высокую точность позиционирования, но и компенсировать возможные осевые смещения валов.

Ключевые преимущества решения:

·         Абсолютное соответствие ТЗ: Все геометрические параметры (диаметры, длина, посадочные места) были выдержаны с высокой точностью в соответствии с предоставленными эскизами. Это гарантирует идеальную посадку в существующую кинематическую схему заказчика.

·         Взрывозащита (ATEX): Исполнение муфты соответствует директиве ATEX, что позволяет безопасно эксплуатировать ее во взрывоопасных зонах (зоны 1 и 2). Это критически важно для применений в химической, нефтегазовой промышленности, а также на производствах, где присутствуют горючие газы или пыль.

·         Надежность и долговечность: Использование стали C45 и упругого элемента твердостью 98 Sh A обеспечивает высокую прочность, износостойкость и сопротивление усталости, что значительно увеличивает межсервисный интервал и ресурс всего узла.

·         Компенсация смещений: Конструкция эффективно компенсирует радиальные, осевые и угловые смещения валов, снижая вибрации и предотвращая преждевременный износ подшипников и других элементов привода.

Изготовление данной муфты — наглядный пример нашего подхода к решению нестандартных задач. Деталь не является серийной и была спроектирована и произведена «с нуля» на основании технического задания и чертежей заказчика. Весь цикл работ — от подбора марки стали и режимов термообработки до финишной механической обработки — был выполнен с учетом строгих требований к точности и взрывозащите.

Подобные решения востребованы в высокоточных и ответственных системах, работающих в жестких условиях:

·         Оборудование для химической и нефтегазовой промышленности

·         Взрывозащищенные вентиляторы и насосы

·         Дозирующие и упаковочные станки для горючих материалов

·         Системы аспирации на производствах с горючей пылью

·         Специализированные станки с ЧПУ, где требуется высокая точность и надежность

Реализованный проект по изготовлению муфты GS28 (d1=38, d2=30) + DKM-H (L=81) демонстрирует нашу способность точно и в срок производить сложные, нестандартные компоненты по чертежам заказчика. Соответствие стандарту ATEX и использование качественных материалов делает это решение надежным и безопасным для работы в самых требовательных условиях.