Добавить в корзинуПозвонить
Найти в Дзене
CLAMPS

FAQ по U-образным скобам: ответы на самые частые вопросы покупателей

По каким стандартам выпускаются U-скобы?
* Типовые: DIN 3570 (форма A/B), DIN 3567 (двуххомутовые), ISO/EN эквиваленты.
* Важно: у разных производителей отличаются радиусы, шаг резьбы и длина ножек — сверяйте с чертежом/каталогом. Как подобрать размер U-скобы под трубу?
* Ориентируйтесь на фактический наружный диаметр (ОД) изделия.
* Если есть теплоизоляция — учитывайте ОД трубы + 2×толщина изоляции + компрессионный запас 2–4 мм.
* Критичные размеры скобы: диаметр охвата (между стойками по внутренней дуге), шаг между стойками (в свету), длина ножек, тип/длина резьбы. Какой шаг резьбы и какие гайки использовать?
* Самые частые — метрические M6–M20 с шагом по стандарту; крупные диаметры — M24/M27.
* Комплект: гайки + шайбы плоские + гровер/пружинные или стопорные гайки. Для нержавейки используйте фитинг той же стали (A2 к A2, A4 к A4), чтобы исключить гальваническую пару. Какой момент затяжки применять?
* Зависит от размера резьбы, материала, наличия прокладки и прижимной
  • Что такое U-образная скоба и где она применяется?
    * U-скоба — это изогнутый в форме «U» стержень с резьбой на концах, который вместе с прижимной планкой/седлом фиксирует трубу, профиль, трос или кабельный лоток к опоре.
    * Применение: трубопроводы и HVAC, кабельные трассы, машиностроение, ограждения и опоры, автомобильная и судовая отрасль.
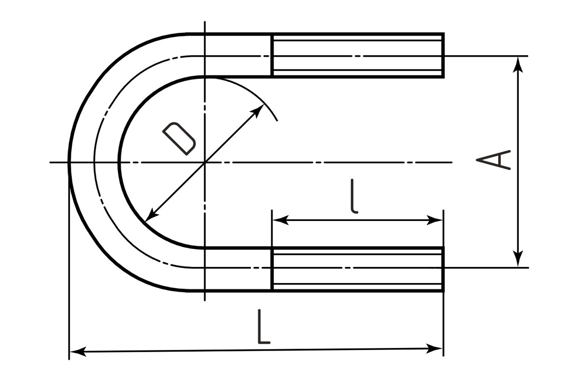
D - диаметр трубы, l - длинна резьбы, L - высота, А - межосевое расстояние
D - диаметр трубы, l - длинна резьбы, L - высота, А - межосевое расстояние
  • Из каких материалов бывают U-скобы?
    * Нержавеющая сталь:
    U - образная нержавеющая скоба AISI 304 (A2) для обычных условий; AISI 316 (A4) для агрессивных сред, соли и химии.
    * Оцинкованная сталь: электро- или горячее цинкование для экономичных наружных работ.
    * Спецварианты: кислотостойкие сплавы, черная сталь под последующее покрытие — под заказ.
  • Чем отличаются классы A2 и A4?
    * A2 — универсальная «нержавейка» для внутренних и умеренно влажных зон.
    * A4 — морская/химическая стойкость (молибден в составе), лучше против хлоридов и реагентов.

По каким стандартам выпускаются U-скобы?
* Типовые: DIN 3570 (форма A/B), DIN 3567 (двуххомутовые), ISO/EN эквиваленты.
* Важно: у разных производителей отличаются радиусы, шаг резьбы и длина ножек — сверяйте с чертежом/каталогом.

-3

Как подобрать размер U-скобы под трубу?
* Ориентируйтесь на фактический наружный диаметр (ОД) изделия.
* Если есть теплоизоляция — учитывайте ОД трубы + 2×толщина изоляции + компрессионный запас 2–4 мм.
* Критичные размеры скобы: диаметр охвата (между стойками по внутренней дуге), шаг между стойками (в свету), длина ножек, тип/длина резьбы.

Какой шаг резьбы и какие гайки использовать?
* Самые частые — метрические M6–M20 с шагом по стандарту; крупные диаметры — M24/M27.
* Комплект: гайки + шайбы плоские + гровер/пружинные или стопорные гайки. Для нержавейки используйте фитинг той же стали (A2 к A2, A4 к A4), чтобы исключить гальваническую пару.

Какой момент затяжки применять?
* Зависит от размера резьбы, материала, наличия прокладки и прижимной планки.
* Практика: затягивать поэтапно, попеременно на обеих стойках, контролируя прогиб прижимной планки. Используйте динамометрический ключ и данные из каталога производителя.

Что такое прижимная планка (седло) и нужна ли она всегда?
* Прижимная
пластина для U - образной скобы распределяет усилие и защищает трубу.
* Рекомендуется в 90% случаев, особенно при монтаже на мягкие материалы, изоляцию или тонкостенные трубы.

-4
  • Как избежать коррозии в месте крепления?
    * Подбирайте одинаковую или совместимую пару материалов (A4 с A4).
    * Исключайте контакт нержавейки с углеродистой сталью при высокой влажности без изоляции (прокладки/лаки).
    * Для улицы — используйте колпачки на резьбу, защитные смазки и VCI-упаковку при хранении.
  • Можно ли использовать U-скобы на изолированных трубах?
    * Да, но:
    • ставьте седло увеличенной площади и мягкую прокладку (EPDM/НЕОПРЕН) (этилен-пропилен-диеновый каучук) — синтетический каучук из класса эластомеров
    • не пережимайте изоляцию — следите за моментом затяжки;
    • при необходимости применяйте вставки-хомуты с терморазрывом.
  • Какие типичные ошибки при выборе и монтаже?
    * Выбор по «номиналу трубы», а не по фактическому наружному диаметру.
    * Перетяжка — повреждение покрытия, овальность трубы и быстрый износ.
    * Отсутствие седла/прокладки на изолированных и тонкостенных трубах.
    * Смешение материалов (нерж. скоба + «черные» гайки) и отсутствие защиты резьбы.
  • Можно ли заказывать нестандартные U-скобы?
    * Да: по чертежу или образцу, с нестандартным шагом между стойками, увеличенной длиной ножек, другим радиусом дуги, спецпокрытиями и метизами.
    * Сроки: от 15 до 45 рабочих дней в зависимости от партии и обработки. Сроки связаны с производством и утверждением необходимых штампов под нестандартную скобу, получением предварительных образцов изделия. Так же надо учитывать необходимость использования гальваники для оцинкованных скоб.
  • Как хранить U-скобы на складе?
    * Сухое помещение, RH < 60–65%, без контакта с агрессивной химией.
    * Разделяйте нержавейку и черный металл, используйте прокладки и VCI-вкладыши.
    * Не штабелируйте так, чтобы нагрузка приходилась на дуги и резьбу.
  • Какие аксессуары помогают продлить срок службы узла?
    * Резиновые прокладки (EPDM), капюшоны/колпачки на гайки, гроверы/стопорные гайки, антикоррозионные смазки, прижимные планки увеличенной площади.
  • Что выбрать для улицы: нержавейку или горячее цинкование?
    * Для долгого ресурса в агрессивной атмосфере — A2.
    * Для умеренного климата и экономии — горячее цинкование.
    * Вблизи моря, солевых дорог, химплощадок — однозначно A4
  • Что по срокам и логистике?
    * Типовые размеры держим на складе, отгрузка за 24–48 часов.