Добавить в корзинуПозвонить
Найти в Дзене
Salex

Узел герметизации с оклеечной гидроизоляцией Salex®: защита коммуникаций от влаги и агрессивных сред

При строительстве и эксплуатации инженерных объектов важно обеспечить надежную герметизацию мест прохода коммуникаций через стены, перекрытия и другие строительные конструкции. Особое внимание этому уделяется в зданиях и сооружениях, где повышен риск проникновения влаги, грунтовых вод или агрессивных веществ. Одним из наиболее эффективных решений является узел герметизации с оклеечной гидроизоляцией. Такой узел представляет собой конструктивный элемент, предназначенный для герметизации и защиты проходов трубопроводов, электротехнических линий и других инженерных систем. Применение оклеечной гидроизоляции обеспечивает герметичное перекрытие зазора между вводом и строительной конструкцией, создавая надежный барьер от влаги и вредных веществ. В отличие от локальных уплотнений, узел герметизации — это комплексное решение. Он не только перекрывает зазор вокруг трубы, но и защищает весь участок ввода от внешнего воздействия на протяжении длительного времени. Узел герметизации с оклеечной гид
Оглавление

При строительстве и эксплуатации инженерных объектов важно обеспечить надежную герметизацию мест прохода коммуникаций через стены, перекрытия и другие строительные конструкции. Особое внимание этому уделяется в зданиях и сооружениях, где повышен риск проникновения влаги, грунтовых вод или агрессивных веществ. Одним из наиболее эффективных решений является узел герметизации с оклеечной гидроизоляцией.

Назначение и принцип работы

Такой узел представляет собой конструктивный элемент, предназначенный для герметизации и защиты проходов трубопроводов, электротехнических линий и других инженерных систем. Применение оклеечной гидроизоляции обеспечивает герметичное перекрытие зазора между вводом и строительной конструкцией, создавая надежный барьер от влаги и вредных веществ.

В отличие от локальных уплотнений, узел герметизации — это комплексное решение. Он не только перекрывает зазор вокруг трубы, но и защищает весь участок ввода от внешнего воздействия на протяжении длительного времени.

Состав узла герметизации

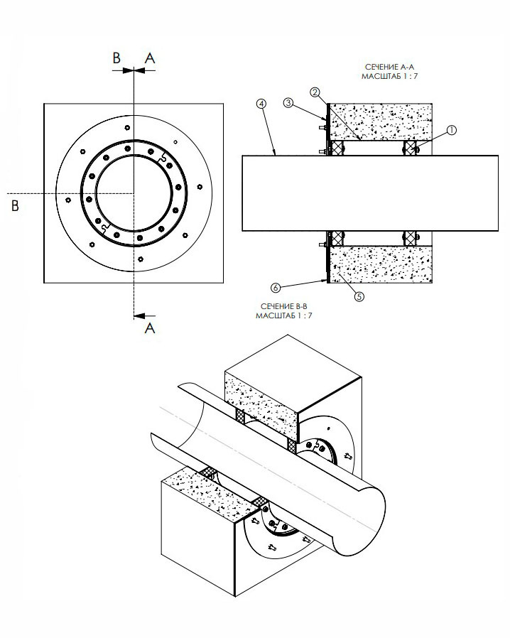
Узел герметизации с оклеечной гидроизоляцией включает в себя несколько элементов, каждый из которых выполняет свою техническую функцию:

  • Разъемная гермовтулка Salex® ГВ-Р — обеспечивает герметичное обжатие трубы по периметру и предотвращает протечки.
  • Гильза проходная Salex® ГП — формирует жесткий канал в строительной конструкции, в который монтируется трубопровод.
  • Фланец прижимной Salex® — фиксирует гермовтулку и создает равномерное распределение давления, повышая надежность герметизации.
  • Оклеечная гидроизоляция — наружный слой защиты от влаги и агрессивных сред, перекрывающий примыкание к строительной конструкции.
  • Рабочая труба — основной элемент инженерной сети, проходящий через узел.
  • Бетонная стенка или фундамент — конструктивная часть объекта, в которую монтируется узел.

Такое сочетание элементов формирует герметичный, устойчивый к нагрузкам и долговечный узел, который не требует частого обслуживания и сохраняет свои свойства на протяжении всего срока эксплуатации.

Области применения

  • подвальные помещения, технические зоны, гаражи;
  • насосные станции и распределительные узлы;
  • здания и сооружения с инженерными коммуникациями;
  • стены и фундаменты с повышенным уровнем грунтовых вод;
  • объекты, требующие усиленной защиты от влаги и агрессивных сред.

Технические особенности и преимущества

  • бурение отверстия под гильзу с запасом по диаметру;
  • установка в стены и фундаменты;
  • совместимость с любыми типами и материалами труб;
  • водо- и газонепроницаемость;
  • работоспособность на глубине до 50 м;
  • допускаются угловые отклонения и смещение рабочей трубы по оси.
-2

Закажите узел герметизации с оклеечной гидроизоляцией у производителя

Узел герметизации — это не просто уплотнительный элемент, а продуманная инженерная конструкция, от которой напрямую зависит герметичность и долговечность коммуникаций. Компания Salex производит готовые узлы, которые соответствуют современным требованиям к гидро- и газонепроницаемости, устойчивы к нагрузкам и легко монтируются.

Обратитесь к нам на сайт salexpro.ru, чтобы заказать надежные узлы герметизации с оклеечной гидроизоляцией, адаптированные под особенности Вашего объекта.