Добавить в корзинуПозвонить
Найти в Дзене

Мобильные архивные системы на рельсах: как увеличить вместимость архива вдвое без расширения площади

Рост объёмов документов и нехватка площадей — одна из главных проблем современных архивов, офисов и учреждений. Папки множатся, коридоры сужаются, а каждая полка становится на вес золота. Ситуация усугубляется тем, что традиционные способы решения проблемы хранения документов становятся всё менее доступными. Ежегодный рост цен на строительные материалы и услуги подрядчиков делает строительство новых архивных помещений непозволительно дорогим для большинства организаций. Переезд в новое помещение также требует значительных финансовых вложений: от демонтажа и упаковки документов до их транспортировки и последующей расстановки на новом месте. Не менее острой проблемой становится рост арендных ставок на коммерческую недвижимость. Организации, арендующие помещения под архивы, вынуждены либо существенно увеличивать свои расходы на содержание, либо искать альтернативные решения для оптимизации использования имеющегося пространства. В этих условиях особенно актуальным становится поиск решений
Оглавление

Рост объёмов документов и нехватка площадей — одна из главных проблем современных архивов, офисов и учреждений. Папки множатся, коридоры сужаются, а каждая полка становится на вес золота.

Ситуация усугубляется тем, что традиционные способы решения проблемы хранения документов становятся всё менее доступными.

Ежегодный рост цен на строительные материалы и услуги подрядчиков делает строительство новых архивных помещений непозволительно дорогим для большинства организаций. Переезд в новое помещение также требует значительных финансовых вложений: от демонтажа и упаковки документов до их транспортировки и последующей расстановки на новом месте.

Не менее острой проблемой становится рост арендных ставок на коммерческую недвижимость. Организации, арендующие помещения под архивы, вынуждены либо существенно увеличивать свои расходы на содержание, либо искать альтернативные решения для оптимизации использования имеющегося пространства.

В этих условиях особенно актуальным становится поиск решений для оптимизации хранения документов, позволяющих максимально эффективно использовать имеющееся пространство без дополнительных финансовых затрат на расширение площадей.

Но сегодня решение есть — архивные системы на рельсах, которые позволяют увеличить вместимость в 2 раза без перепланировки помещений и дорогостоящих ремонтов.

Давайте узнаем, как превратить Ваш архив в высокотехнологичное и безопасное пространство для хранения и управления информацией, где всё под контролем — от сохранности документов до удобства доступа.

Что такое архивные системы на рельсах

Архивная система на рельсах — это мобильная конструкция, где стеллажи перемещаются по направляющим. В отличие от стационарных систем, здесь нет фиксированных проходов — он формируется именно там, где нужно. Такой принцип позволяет освободить до 50% площади, которую в обычных архивах занимают пустые коридоры.

Работать с такой системой просто: стеллажи можно перемещать тремя удобными способами.

  • Первый вариант — механическое управление с помощью специального штурвала, которое не требует электричества и позволяет легко перемещать секции вручную.
  • Второй вариант — автоматическое управление через электропривод, обеспечивающий плавное и тихое перемещение стеллажей.
  • Третий вариант — компьютерное управление, позволяющее контролировать перемещение секций через специальную АРМ-систему, что особенно удобно для крупных архивов с большим количеством документов.
Конструкция мобильных стеллажей с механическим управлением  "Фирма "Сатурн"
Конструкция мобильных стеллажей с механическим управлением "Фирма "Сатурн"
  1. Полка. Устанавливается на быстросъемный клип.
  2. Стойка сплошная.
  3. Крестовина жесткости.
    Полки, стойки, крестовины жесткости образуют каркас (надстройку стеллажа).
    Каркас устанавливается на мобильную базу – сборную раму с колесами, карданной передачей.
  4. Рельс.
  5. Штурвал трехлучевой пластиковый с вращающимися эргономичными рукоятками. Ниже штурвала расположена ручка стопорного механизма.
  6. Стенка лицевая (дизайн – стенка). В базовой комплектации установлена со стороны главного прохода. Закрывает детали привода, обеспечивает безопасность, улучшает дизайн.
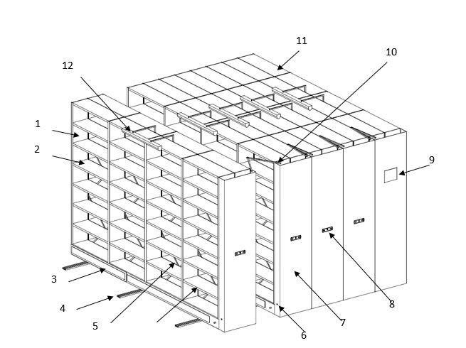
Конструкция мобильных стеллажей с электроприводом серии «Актив» ООО "Фирма "Сатурн"
Конструкция мобильных стеллажей с электроприводом серии «Актив» ООО "Фирма "Сатурн"
  1. Стойка сплошная.
  2. Рабочая полка в секции стеллажа.
  3. Мобильное основание с защитным плинтусом.
  4. Рельс.
  5. Крестовина жесткости.
  6. Инфракрасный датчик.
  7. Фронтальная панель.
  8. Панель управляющих кнопок на передвижном стеллаже.
  9. Сенсорный экран управления интегрирован в основной стеллаж системы, который может быть представлен как в стационарном, так и в передвижном исполнении.
  10. Соединительное колено.
  11. Крышка (не рабочая полка).
  12. Светильник с лампой дополнительная опция

Преимущества архивных систем на рельсах

1. Экономия площади до 50%

Главное преимущество мобильных архивов — отказ от постоянных проходов между рядами. Проход формируется только там, где он нужен в данный момент, поэтому на той же площади помещается в два раза больше документов. Это особенно актуально для архивов, расположенных в административных зданиях, где каждый квадратный метр — на счету.

2. Повышенная вместимость

Благодаря плотной компоновке и оптимизированной геометрии полок, один мобильный блок способен заменить два-три традиционных ряда стеллажей. При этом остаётся свободный доступ к каждому документу, а хранение организовано логично и структурно.

3. Эргономика и комфорт в работе

Архивариус открывает именно тот проход, где нужно работать — одним движением штурвала или нажатием кнопки. Не нужно ходить по длинным рядам, искать нужный отдел. Это снижает утомляемость и делает работу в архиве более комфортной.

4. Безопасность в работе и сохранность документов

Передвижные стеллажи на рельсах имеют устойчивую конструкцию, защиту от опрокидывания и многоуровневую систему безопасности, а также могут быть оснащены:

  • дверями и замками;
  • системой ограничения доступа ( RFD ).

Всё это обеспечивает максимальную безопасность хранения даже в помещениях с интенсивной эксплуатацией.

5. Масштабируемость и гибкость

Система обладает высокой гибкостью конфигурации: её можно модифицировать, перестраивать и перемещать без ущерба функциональности. Благодаря регулируемым полкам на клипах и модульной конструкции, комплекс легко адаптируется к изменению задач или расширению архивного фонда.

6. Эстетика и порядок

Современные архивные системы выглядят аккуратно и профессионально: закрытые торцы, ровные фасады, возможность брендирования или цветового оформления под интерьер офиса. Внешний вид архива перестаёт быть “подвалом с полками” — он становится частью корпоративной среды.

7. Богатый выбор дополнительных аксессуаров

Варианты оснащения мобильных стеллажей на рельсах
Варианты оснащения мобильных стеллажей на рельсах
  1. Разделитель полок.
  2. Разделитель папок.
  3. Выдвижная полка.
  4. Распашные двери.
  5. Двери – жалюзи.
  6. Штанга для одежды (для плечиков).
  7. Выдвижной ящик формата А1, А0 или другого требуемого размера.
  8. Выдвижной ящик для CD или картотеки на бумажном носителе.
  9. Задняя разделительная стенка.
  10. Замок. В сочетании с дверями или задней (межполочной) стенкой закрывает доступ к системе передвижных стеллажей.
  11. Идентификационная табличка (карман) на стеллаж (формат А5 и А4).
  12. Идентификационная табличка (карман) на полку (100 х 30 мм).

Недостатки и ограничения

1. Более высокая начальная стоимость

Мобильные стеллажи действительно дороже классических стационарных. Однако окупаются за счёт снижения арендных расходов и увеличения объёма хранения. В среднем, при полном заполнении архива экономический эффект достигается уже через 1,5–2 года эксплуатации.

2. Требования к полу и основанию

Для установки мобильной системы на рельсах необходим ровный, прочный и устойчивый пол. Перед монтажом специалисты проводят его оценку, и при отклонениях норм, устанавливают стеллажи на фальшпол. Это обязательный этап, но именно он гарантирует долговечность и безопасность дальнейшей эксплуатации стеллажей.

3. Ограниченный одновременный доступ

В отличие от стационарных стеллажей, мобильная система открывает только один проход в блоке. Если в архиве одновременно работает большое количество сотрудников, необходимо заранее продумать зонирование. Этот недостаток легко компенсируется продуманным проектированием.

Виды мобильных стеллажей "Фирмы "Сатурн"

  1. Серия Л облегчённая: подходит для помещений без усиленных перекрытий. Лёгкая база, алюминиевые рельсы, простота демонтажа и переноски.
  2. Серия Усиленная: выдерживает большую нагрузку, высоту стеллажа до 3,5 м и длину до 10 м. Идеальна для архивов с большим объёмом документов и высокими потолками.
Мобильные стеллажи "Фирма "Сатурн"
Мобильные стеллажи "Фирма "Сатурн"

Автоматизированные системы с электроприводом -серия «Актив»

Электрический привод делает работу с архивом максимально лёгкой. Доступные варианты управления:

  • с кнопок на стеллаже — открытие нужного прохода одним нажатием;
  • через сенсорный экран — управление, диагностика и отображение параметров: влажность, температура, ошибки. Установлен на главном стеллаже в блоке.
  • с ПК — поиск документа по базе: система сама открывает нужный проход.
Автоатизированный архив  Актив "Фирма "Сатурн"
Автоатизированный архив Актив "Фирма "Сатурн"

Конструктивные решения

  • Мобильные стеллажи с полками — для папок, коробов, книг, дел.
Мобильные стеллажи ООО "Фирма"Сатурн"
Мобильные стеллажи ООО "Фирма"Сатурн"
  • Мобильные картотеки — для карточек, кассет, мелких документов. Оборудуются выдвижными ящиками с разделителями.
Мобильные картотеки ООО "Фирма "Сатурн"
Мобильные картотеки ООО "Фирма "Сатурн"
Мобильные стеллажи с выдвижными ящиками ООО "Фирма"Сатурн"
Мобильные стеллажи с выдвижными ящиками ООО "Фирма"Сатурн"
  • Мобильные стеллажи с дверьми - для хранения документов, вещей и других ценностей, обеспечивая их защиту от пыли, влаги, несанкционированного доступа и позволяя создавать оптимальные условия микроклимата внутри секций.
Мобильные стеллажи с дверьми ООО "Фирма "Сатурн"
Мобильные стеллажи с дверьми ООО "Фирма "Сатурн"

Мы производим стеллажи по индивидуальным размерам и конфигурациям, чтобы максимально эффективно использовать каждый сантиметр вашего помещения.

Пошаговое внедрение системы

Аудит и планирование

  1. оценка объёма и веса документов;
  2. расчёт нагрузок;
  3. замеры помещения и анализ несущих конструкций;
    проверка требований по пожарной безопасности.

Эти этапы можно полностью доверить специалистам компании «Сатурн» — расчёты и проект выполняются бесплатно и в кратчайшие сроки.

Выбор конфигурации

Ручное или автоматическое управление, тип конструкции, аксессуары.

Подготовка помещения

Проверка ровности пола, при необходимости подключение электросети.

Монтаж и запуск

Профессиональная установка и обучение персонала.

От правильной установки рельс, расчёта нагрузок и настройки электропривода зависит безопасность, плавность хода и срок службы системы. Даже небольшой перекос может привести к заеданию или поломке. Профессиональный монтаж — это гарантия стабильной работы, соответствия нормам и сохранения гарантии производителя.

Архивы будущего — уже сегодня

Передвижные стеллажи серии «Актив» с электроприводом и компьютерным управлением Фирмы «Сатурн» — это шаг в сторону умного архива.

Мобильные стеллажи оснащены современным программным обеспечением с интеграцией в электронный документооборот: при вводе названия документа система автоматически открывает доступ к нужному проходу и подсвечивает полку с искомым материалом, а дополнительная функция RFD обеспечивает защиту конфиденциальной информации путём блокировки доступа к отдельным секциям хранения.

Это не просто хранение. Это — интеллектуальная система управления документами, где каждая полка работает на эффективность.

ООО Фирма «Сатурн» разрабатывает и внедряет мобильные архивные системы под любые задачи — от небольших офисных архивов до федеральных хранилищ.

Наши проекты — это десятки успешно реализованных объектов, где пространство работает эффективно, а документы всегда под контролем.

Не теряйте время и ресурсы на неэффективное хранение документов! Запишитесь на бесплатную консультацию прямо сейчас, и наши эксперты помогут:

  • Оценить потребности вашего архива
  • Подобрать оптимальное решение
  • Рассчитать стоимость внедрения
  • Составить детальный план реализации

Доверьте организацию вашего архива профессионалам с многолетним опытом. Свяжитесь с нами сегодня — и уже завтра ваш документооборот станет более эффективным!

Давыдова Юлия Романовна
Ведущий специалист по стеллажному оборудованию
Завода по производству металлических стеллажей
saturngk.ru