Найти в Дзене

Наблюдение дня: «Кажется, iPhone Air — это первый смартфон, у которого выступ камеры больше, чем толщина самого телефона

Наблюдение дня: «Кажется, iPhone Air — это первый смартфон, у которого выступ камеры больше, чем толщина самого телефона». (via) Согласно CAD-чертежам, заявленная толщина корпуса iPhone Air составляет 5.64мм, а высота модуля камеры — 5.68мм. А так то «самый тонкий», да. @fixed

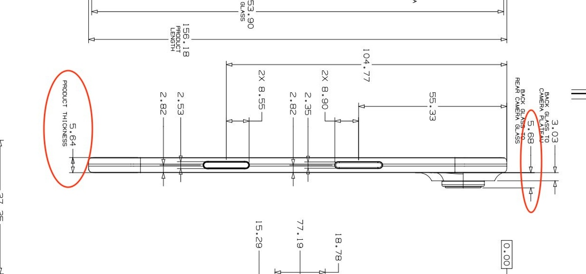
Наблюдение дня: «Кажется, iPhone Air — это первый смартфон, у которого выступ камеры больше, чем толщина самого телефона». (via)

Согласно CAD-чертежам, заявленная толщина корпуса iPhone Air составляет 5.64мм, а высота модуля камеры — 5.68мм. А так то «самый тонкий», да.

@fixed