Найти в Дзене
⚡ Инженерные Знания

Почему поршневой двигатель никогда не поднимет «Боинг»?

Поршневые двигатели окружают нас повсеместно. Мы встречаем их в самых разных устройствах и лёгкие самолёты тоже используют именно их. Почему же тогда современные авиалайнеры вроде Boeing 777 или Airbus A350 используют совсем другие типы двигателей? Что мешает увеличить количество цилиндров и продолжать работать с привычной и простой схемой? На практике максимальная мощность, которую может выдавать поршневой авиационный двигатель, ограничивается примерно тремя–четырьмя тысячами лошадиных сил. Самые лучшие двигатели такого типа приближались к этому пределу, но не могли его значительно превзойти без потери ресурса и стабильности. Главная проблема в физике. Мешают механика и термодинамика. Каждый поршень, шатун и коленвал испытывают огромные нагрузки и вибрации. При увеличении числа цилиндров или размеров двигателя растут силы инерции, трение и тепловыделение. В какой-то момент охлаждение и смазка перестают справляться, а вес конструкции становится запредельным. Турбореактивные двигатели

Поршневые двигатели окружают нас повсеместно. Мы встречаем их в самых разных устройствах и лёгкие самолёты тоже используют именно их. Почему же тогда современные авиалайнеры вроде Boeing 777 или Airbus A350 используют совсем другие типы двигателей? Что мешает увеличить количество цилиндров и продолжать работать с привычной и простой схемой?

На практике максимальная мощность, которую может выдавать поршневой авиационный двигатель, ограничивается примерно тремя–четырьмя тысячами лошадиных сил. Самые лучшие двигатели такого типа приближались к этому пределу, но не могли его значительно превзойти без потери ресурса и стабильности.

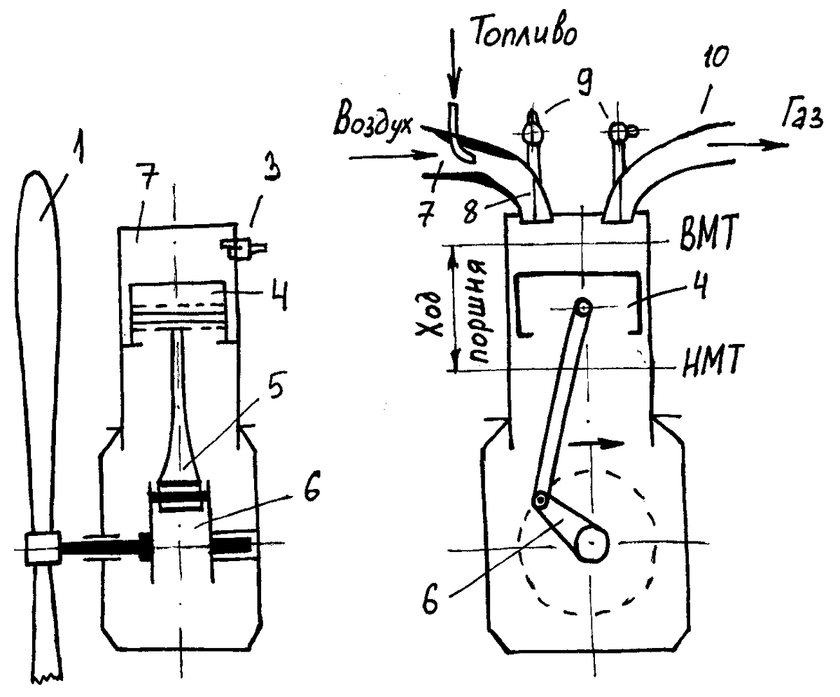
Обычный лёгкий поршневой двигатель
Обычный лёгкий поршневой двигатель

Главная проблема в физике. Мешают механика и термодинамика. Каждый поршень, шатун и коленвал испытывают огромные нагрузки и вибрации. При увеличении числа цилиндров или размеров двигателя растут силы инерции, трение и тепловыделение. В какой-то момент охлаждение и смазка перестают справляться, а вес конструкции становится запредельным.

Турбореактивные двигатели типа GE90 или Rolls-Royce Trent XWB при этом развивают эквивалент от 50 000 до 100 000 лошадиных сил. Это в десятки раз больше, чем способен выдать даже самый мощный поршневой мотор.

Чтобы получить такую же тягу с помощью поршневых двигателей, понадобилось бы 20–30 сверхлёгких, идеально синхронизированных моторов, соединённых в единую систему. Но каждая дополнительная единица - это новые редукторы, валы, вибрации, дополнительные топливные и масляные системы.

На практике это превратило бы самолёт в механического монстра, где половина массы - это только двигатель.

Газотурбинные двигатели работают на совершенно ином принципе.

Принципиальная схема
Принципиальная схема

Вместо возвратно-поступательного движения поршней у них есть непрерывный поток воздуха, сжатый компрессором и сгорающий в камере сгорания. Турбина превращает энергию газов в вращение эффективно и без вибраций.

Такой двигатель выдаёт колоссальную мощность при относительно малом весе, надёжно работает на больших высотах и проще масштабируется.

Уже к 1950-м годам стало ясно, что поршневые двигатели достигли своего предела, а турбины открыли путь к реактивной эре.

Это должно было бы выглядеть примерно так :)
Это должно было бы выглядеть примерно так :)

Иногда инженеры и энтузиасты возвращаются к идее «суперпоршня» — например, с использованием керамических материалов, безшатунных схем или роторных конструкций. Однако даже самые смелые проекты не приближаются к уровням мощности, необходимых для межконтинентальных авиалайнеров. Турбовентилятор остаётся безальтернативным решением для крупной авиации.

Создать поршневой двигатель мощностью, сопоставимой с современными реактивными моторами, невозможно - не из-за отсутствия технологий, а из-за фундаментальных физических ограничений.

Поршни, шатуны и коленвалы просто не выдерживают ни нагрузок, ни температуры, необходимых для 100 000 лошадиных сил.

Почитайте ещё и это:

Физика летающих машин и самолётов | ⚡ Инженерные Знания | Дзен

Подборка статей или мини-курс "Математика для физика простыми словами"

⚡ Ещё больше интересного в моём Telegram!

Хочется помочь проекту? Просто поставьте лайк 👍 и подписывайтесь на канал ✔️! Напишите комментарий и поделитесь статьёй с друзьями