Добавить в корзинуПозвонить
Найти в Дзене

Патенты Нобелевских лауреатов по физике 2025 года: Революционные открытия ученых и их влияние на науку

Присуждение Нобелевской премии по физике за 2025 год исследователям Джону Кларку, Мишелю Деворе и Джону Мартинису стало не просто признанием их личных заслуг, а символическим актом, отмечающим поворотный момент в истории науки. Формулировка Нобелевского комитета — "за открытие макроскопического квантовомеханического туннелирования и квантование энергии в электрической цепи" — для непосвященного уха может звучать как сухая абстракция. Однако за этими словами скрывается фундаментальное прозрение: квантовая механика перестала быть уделом субатомных частиц и стала почти осязаемым свойством нашего мира. Традиционно квантовая механика описывала странное и противоречащее интуиции поведение электронов, фотонов и других мельчайших объектов. Явления вроде туннелирования, когда частица "проходит сквозь стену", не имея на это энергии, или квантования, когда энергия может меняться только дискретными «порциями», считались прерогативой микромира. Работа лауреатов 2025 года решительно опровергла эту д

Присуждение Нобелевской премии по физике за 2025 год исследователям Джону Кларку, Мишелю Деворе и Джону Мартинису стало не просто признанием их личных заслуг, а символическим актом, отмечающим поворотный момент в истории науки. Формулировка Нобелевского комитета — "за открытие макроскопического квантовомеханического туннелирования и квантование энергии в электрической цепи" — для непосвященного уха может звучать как сухая абстракция. Однако за этими словами скрывается фундаментальное прозрение: квантовая механика перестала быть уделом субатомных частиц и стала почти осязаемым свойством нашего мира.

Традиционно квантовая механика описывала странное и противоречащее интуиции поведение электронов, фотонов и других мельчайших объектов. Явления вроде туннелирования, когда частица "проходит сквозь стену", не имея на это энергии, или квантования, когда энергия может меняться только дискретными «порциями», считались прерогативой микромира. Работа лауреатов 2025 года решительно опровергла эту догму. Они создали и изучили электрическую цепь — систему, которую, по выражению Нобелевского комитета, "можно держать в руках", — и показали, что она подчиняется тем же квантовым законам.

Ключевым достижением стало наблюдение макроскопического квантового туннелирования. Ученые продемонстрировали, что их сверхпроводящая система может переходить из одного энергетического состояния в другое так, как если бы она буквально проскальзывала через энергетический барьер, а не перескакивала через него. Это аналогично тому, как если бы мяч, запертый в яме, внезапно оказался бы снаружи, не будучи подброшенным. Одновременно они зафиксировали и квантование энергии в этой цепи, доказав, что она поглощает и излучает энергию строго определенными, дискретными дозами, а не произвольным образом.

Работа Кларка, Деворе и Мартиниса заложила экспериментальный фундамент для всей современной квантовой технологии. Без понимания и демонстрации того, что макроскопические системы могут находиться в квантовых состояниях (суперпозиции) и подвергаться туннелированию, было бы невозможно создание кубитов — базовых элементов квантовых компьютеров. Именно такие сверхпроводящие цепи, изученные лауреатами, сегодня являются одной из основных физических платформ для построения квантовых процессоров.

Таким образом, Нобелевская премия по физике 2025 года отмечает не просто очередное открытие, а рождение новой парадигмы. Она увенчала работу ученых, которые сделали квантовые странности рабочим инструментом инженеров. Их открытия — это мост от фундаментальной науки, задающейся вопросом о природе реальности, к прикладным технологиям, которые в будущем коренным образом могут изменить вычислительную технику, криптографию и материаловедение. Они доказали, что будущее, построенное на законах квантового мира, уже не является фантастикой — его можно буквально подержать в руках.

А что с патентами?

По словосочетанию “quantum mechanical tunnelling” на портале Google.patents найдено более 77000 охранных документов! Причем, самый первый патент, где встречается этот термин датируется 1959 годом.

Сами нобелиаты этого года оставили довольно интересный патентный след. Так, Джон Мартинис заявлен автором 31 патента. Большая часть из них принадлежит Google. Французский физик Мишель Добре куда более плодовит. Он автор и соавтор уже 65 патентов. Львиная их доля принадлежит Йельскому университету, еще пара… корпорации Google. Совпадение?

Определить патенты британского физика Джона Кларка оказалась невозможно. Во-первых, у него много полных тезок и однофамильцев. Во-вторых, по его теме патентов не обнаружено вовсе. Возможно, Университет Беркли почему-то решил никак не защищать его разработки, либо сам ученый решил ничего не патентовать. Напомним, что аналогичным образом поступил в США нобелиат 2023 года Алексей Екимов.

Вот примеры патентов нобелиатов этого года.

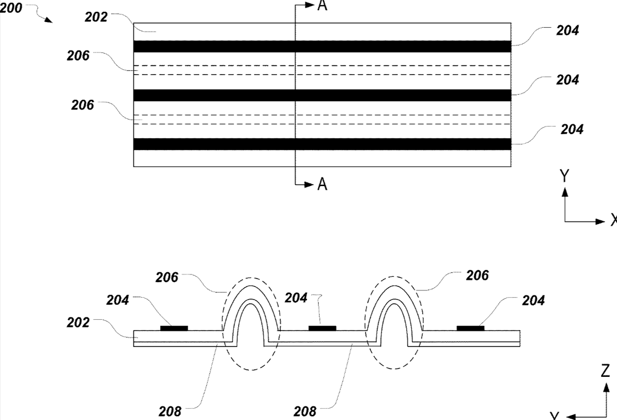
Гибкая электропроводка для применения при низких температурах

Схема из патента US20250160220A1
Схема из патента US20250160220A1

Вот перевод реферата из гугловского  патента Джона Мартиниса этого года: “Удлиненная гибкая подложка включает область сгиба между первой и второй токопроводящими дорожками таким образом, что слой электромагнитного экранирования обеспечивает электромагнитную защиту между первой и второй токопроводящими дорожками”.

Формирование импульсов для быстрых параметрически модулируемых квантовых вентилей с низкой утечкой

Схема из патента WO2025136875A1
Схема из патента WO2025136875A1

А это уже гугловский патент 2025 года Мишеля Деворе: “Предоставлены системы и способы формирования управляющего импульса для управления квантовой вычислительной системой. В некоторых случаях непосредственно управляемый физический параметр может быть использован для косвенного управления производным квантовым параметром. В одном примере способ может включать получение целевой формы импульса, связанной с целевым производным квантовым параметром. Целевая форма импульса может соответствовать параметрической модуляции. Способ может включать определение на основе целевой формы импульса второй формы импульса, связанной с управляемым физическим параметром. Способ может включать генерацию на основе второй формы импульса управляющего импульса”.

Кстати, среди соавторов Деворе указан Вадим Смелянский.

А мы еще раз поздравляем лауреатов этого года и их коллег! Особенно корпорацию Google. Она, как и в прошлом году, оказалась одним из главных бенефициаров открытий ученых.

Полезные ссылки: