Найти в Дзене

Гидравлические цилиндры. Как работают и какие бывают?

Современная спецтехника обязана своей мощью и производительностью надежным гидравлическим системам, сердцем которых являются гидроцилиндры. Эти устройства преобразуют энергию потока гидравлической жидкости в механическое движение, обеспечивая работу сложнейших механизмов — от подъема многотонных грузов до точного позиционирования рабочих органов. В данной статье мы подробно рассмотрим конструктивные особенности, принципы работы, методы расчета и практическое применение гидроцилиндров в различных отраслях промышленности и специального машиностроения. Профессиональный совет: Правильный подбор гидроцилиндра с учетом всех эксплуатационных параметров увеличивает срок службы оборудования на 30-40% и значительно снижает эксплуатационные расходы. Всегда консультируйтесь со специалистами при выборе гидравлических компонентов. Гидравлический цилиндр представляет собой объемный двигатель возвратно-поступательного действия, преобразующий энергию потока рабочей жидкости под давлением в механическое
Оглавление

Гидроцилиндры: устройство, принцип работы, расчет и применение в спецтехнике

Современная спецтехника обязана своей мощью и производительностью надежным гидравлическим системам, сердцем которых являются гидроцилиндры. Эти устройства преобразуют энергию потока гидравлической жидкости в механическое движение, обеспечивая работу сложнейших механизмов — от подъема многотонных грузов до точного позиционирования рабочих органов. В данной статье мы подробно рассмотрим конструктивные особенности, принципы работы, методы расчета и практическое применение гидроцилиндров в различных отраслях промышленности и специального машиностроения.

Профессиональный совет: Правильный подбор гидроцилиндра с учетом всех эксплуатационных параметров увеличивает срок службы оборудования на 30-40% и значительно снижает эксплуатационные расходы. Всегда консультируйтесь со специалистами при выборе гидравлических компонентов.

Устройство и принцип работы гидравлического цилиндра

Гидравлический цилиндр представляет собой объемный двигатель возвратно-поступательного действия, преобразующий энергию потока рабочей жидкости под давлением в механическое перемещение выходного звена. Конструктивная простота и высокая надежность сделали этот тип привода незаменимым в ситуациях, где требуется создание значительных усилий при ограниченных габаритных размерах.

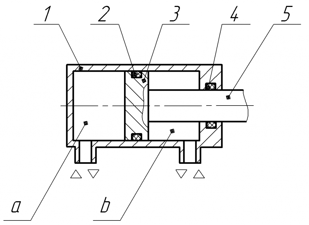
Рисунок 1. Конструкция типового гидравлического цилиндра двустороннего действия
Рисунок 1. Конструкция типового гидравлического цилиндра двустороннего действия

Основными конструктивными элементами гидроцилиндра (см. Рисунок 1) являются:

  • Гильза (1) — основной корпус цилиндра, представляющий собой трубу с тщательно обработанной внутренней поверхностью
  • Поршень (3) — подвижный элемент, разделяющий внутреннее пространство цилиндра на две изолированные полости
  • Шток (5) — элемент, передающий усилие от поршня к рабочему органу оборудования
  • Уплотнительные системы (2, 4) — комплект манжет, колец и других уплотнений, предотвращающих утечки рабочей жидкости
  • Крышка задняя — элемент, закрывающий гильзу со стороны, противоположной штоку
  • Проушины или фланцы — элементы крепления цилиндра к раме машины и рабочему оборудованию

Принцип работы основан на разности давлений в поршневой (a) и штоковой (b) полостях. При подаче жидкости под давлением в поршневую полость происходит выдвижение штока (прямой ход), а при подаче в штоковую полость — его втягивание (обратный ход). Переключение потоков жидкости осуществляется с помощью гидрораспределителя.

Классификация гидроцилиндров по различным признакам

Многообразие применений гидроцилиндров обусловило появление различных конструктивных исполнений, оптимально подходящих для конкретных задач. Классификация позволяет систематизировать знания и правильно подбирать оборудование для конкретных условий эксплуатации.

Рисунок 2. Основные типы гидроцилиндров и их конструктивные особенности
Рисунок 2. Основные типы гидроцилиндров и их конструктивные особенности
-3

Расчет основных параметров гидроцилиндров

Проектирование гидравлических систем требует точного расчета параметров гидроцилиндров, что обеспечивает их надежную работу в заданных условиях эксплуатации. Рассмотрим методики расчета для различных режимов работы.

Расчет усилия и скорости при выдвижении штока
При подаче рабочей жидкости в поршневую полость цилиндра развивается усилие, определяемое эффективной площадью поршня и давлением в системе.

Рисунок 3. Схема действия сил при выдвижении штока гидроцилиндра
Рисунок 3. Схема действия сил при выдвижении штока гидроцилиндра

Усилие F1, развиваемое гидроцилиндром при выдвижении штока:

-5

где: A1 – эффективная площадь поршня [м²]

-6

Скорость выдвижения штока W1 определяется расходом жидкости, поступающей в поршневую полость:

-7

Расход Qп, необходимый для обеспечения заданной скорости:

-8

Расчет усилия и скорости при втягивании штока

При подаче жидкости в штоковую полость эффективная площадь уменьшается на площадь сечения штока, что влияет на развиваемое усилие и скорость движения.

Рисунок 4. Схема действия сил при втягивании штока гидроцилиндра
Рисунок 4. Схема действия сил при втягивании штока гидроцилиндра

Усилие F2, развиваемое гидроцилиндром при втягивании штока:

-10

где: A2 – эффективная площадь поршня со стороны штоковой полости [м²]

-11

Скорость втягивания штока W2 рассчитывается аналогично:

-12

Расход Qшт, необходимый для обеспечения заданной скорости втягивания:

-13
Важно! При расчетах необходимо учитывать КПД гидроцилиндра (обычно 0.85-0.95), который зависит от качества изготовления, уплотнений и вязкости рабочей жидкости. Также следует предусматривать запас по усилию 15-20% для компенсации пиковых нагрузок.

Для удобства расчетов вы можете воспользоваться нашим онлайн-калькулятором: Калькулятор подбора гидроцилиндров

Применение гидроцилиндров в спецтехнике и промышленности

Универсальность и надежность гидроцилиндров обусловили их широкое применение в различных отраслях. Рассмотрим наиболее характерные примеры использования.

Строительная и дорожная техника

В экскаваторах, бульдозерах, погрузчиках и другой строительной технике применяются преимущественно поршневые гидроцилиндры двустороннего действия с шарнирным креплением.

Рисунок 5. Типовой гидроцилиндр для строительной техники с шарнирным креплением
Рисунок 5. Типовой гидроцилиндр для строительной техники с шарнирным креплением

Особенности применения:

  • Работа в условиях высоких ударных нагрузок и загрязнения
  • Необходимость обеспечения точного позиционирования рабочих органов
  • Высокие требования к надежности и ремонтопригодности
  • Широкий диапазон рабочих температур

Телескопические гидроцилиндры в самосвалах

Для подъема кузова самосвалов применяются телескопические гидроцилиндры одностороннего действия, обеспечивающие большой ход при минимальных сложенных габаритах.

Рисунок 6. Многосекционный телескопический гидроцилиндр для самосвала
Рисунок 6. Многосекционный телескопический гидроцилиндр для самосвала

Особенности конструкции:

  • Последовательное выдвижение секций от наибольшего диаметра к наименьшему
  • Увеличение скорости и уменьшение усилия с выдвижением каждой последующей секции
  • Возврат под действием силы тяжести без подачи жидкости
  • Специальные уплотнения, предотвращающие перетечки между секциями

Гидроцилиндры аутригеров (опор)

Для стабилизации кранов, манипуляторов и другой техники применяются специализированные гидроцилиндры выносных опор.

Рисунок 7. Гидроцилиндр аутригера с фланцевым креплением и сферической опорой
Рисунок 7. Гидроцилиндр аутригера с фланцевым креплением и сферической опорой

Конструктивные особенности:

  • Приваренный кронштейн для крепления к раме машины
  • Сферическая опора на конце штока для компенсации перекосов
  • Фланец для установки гидрозамков или предохранительных клапанов
  • Повышенная стойкость к боковым нагрузкам

Специальные применения

Помимо перечисленных, гидроцилиндры находят применение в множестве других областей:

-17

Правила эксплуатации и обслуживания гидроцилиндров

Соблюдение правил эксплуатации значительно увеличивает ресурс гидроцилиндров и предотвращает преждевременные отказы.

-18
Важно: Наиболее частые причины выхода из строя гидроцилиндров — загрязнение рабочей жидкости, нарушение правил монтажа, превышение рабочих параметров и несвоевременное обслуживание. Соблюдение регламентов эксплуатации увеличивает межремонтный ресурс в 2-3 раза.

Заключение

Гидроцилиндры остаются ключевыми компонентами гидравлических систем современной спецтехники, обеспечивая преобразование гидравлической энергии в механическое движение с высоким КПД и надежностью. Правильный выбор, расчет и эксплуатация гидроцилиндров позволяют значительно повысить эффективность и срок службы всего оборудования.

Специалисты компании "Гидравлик-Трак" готовы помочь вам с подбором, расчетом и поставкой гидроцилиндров для любых применений. Мы предлагаем широкий ассортимент качественного гидравлического оборудования и запасных частей от проверенных производителей.

✍️ Больше интересных статей — на нашем сайте!