Добавить в корзинуПозвонить
Найти в Дзене
Патент-шматент

Сушильно-мыльный аппарат для волос

Высокая автоматизация труда сегодня в тренде. Когда кажется, что "на AliExpress" можно купить уже точно всё, ... всё-таки не всё!
Нам точно не хватает автоматизации труда в салонах красоты и этих ваших цирюльнях. Так что вот вам инноваций, которые мы заслужили. Это патент США аж от 2003 года (тогда подали заявку на патент) – US 7171704 B2 Аннотация.
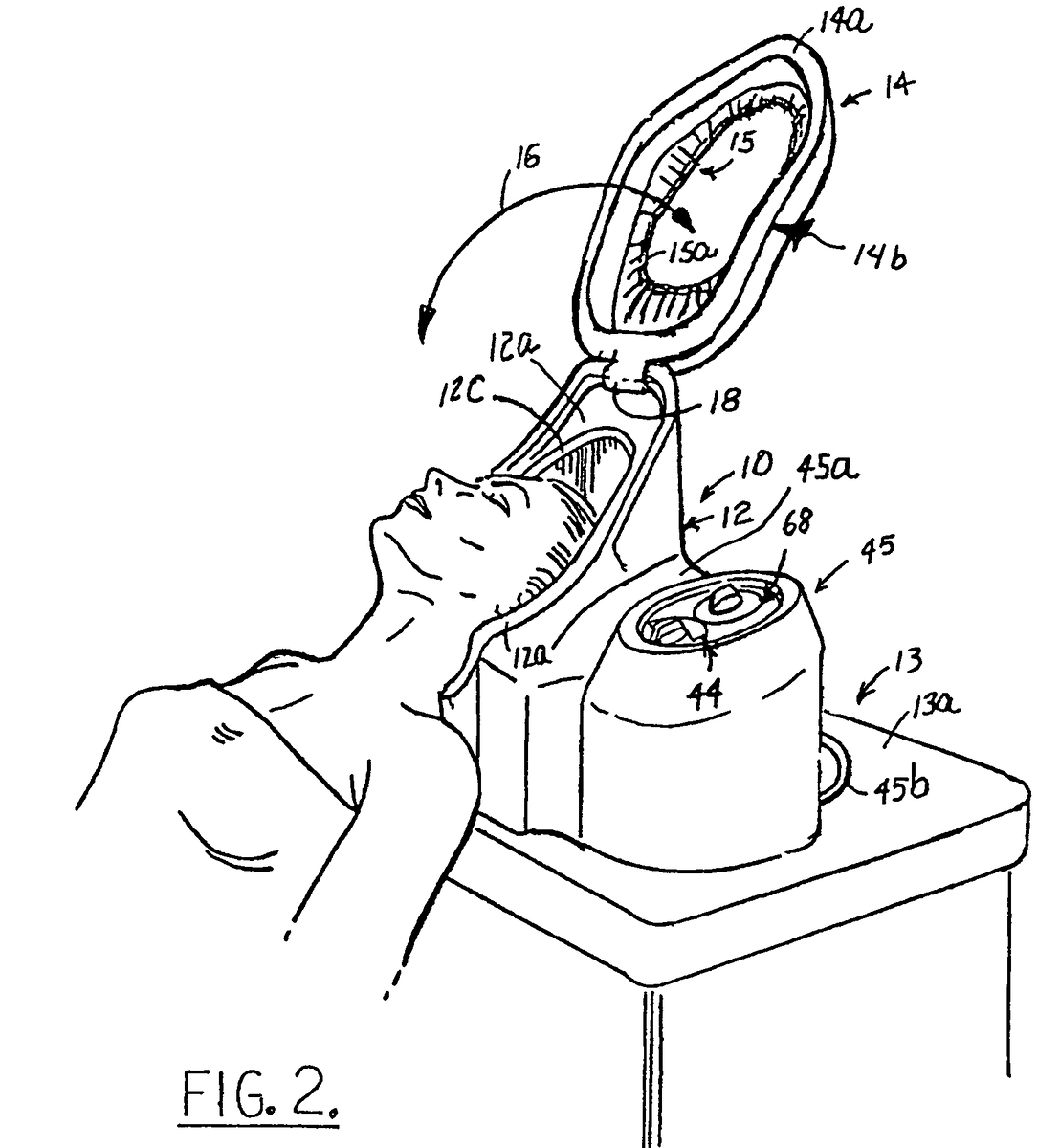
Автоматическое устройство для мытья волос, включающее в себя чашу с полой внутренней частью, множество вращающихся насадок, жёстко соединённых с внутренней частью чаши, для распыления множества выбранных жидкостей на волосы пользователя автоматического устройства для мытья волос, а также капюшон, вращательно соединённый с чашей, с гибкой лицевой панелью, закрывающей волосы и уши пользователя автоматического устройства для мытья волос. Автор патента предложил вот такую систему, в которой клиент кладёт голову в специальную чашу (в патенте называют капюшоном), куда подведена вода. В чаше также могут быть установлены различные массажные насадк

Высокая автоматизация труда сегодня в тренде. Когда кажется, что "на AliExpress" можно купить уже точно всё, ... всё-таки не всё!
Нам точно не хватает автоматизации труда в салонах красоты и этих ваших цирюльнях. Так что вот вам инноваций, которые мы заслужили. Это патент США аж от 2003 года (тогда подали заявку на патент) –
US 7171704 B2

Аннотация.
Автоматическое устройство для мытья волос, включающее в себя чашу с полой внутренней частью, множество вращающихся насадок, жёстко соединённых с внутренней частью чаши, для распыления множества выбранных жидкостей на волосы пользователя автоматического устройства для мытья волос, а также капюшон, вращательно соединённый с чашей, с гибкой лицевой панелью, закрывающей волосы и уши пользователя автоматического устройства для мытья волос.
Патент США 7171704 B2
Патент США 7171704 B2

Автор патента предложил вот такую систему, в которой клиент кладёт голову в специальную чашу (в патенте называют капюшоном), куда подведена вода. В чаше также могут быть установлены различные массажные насадки, и т.д. В чашу подают шампунь, моют голову. А после, с учётом подачи и воздуха (!), могут посушить волосы.

Самой любопытной особенность, как мне кажется, является конструкция этого капюшона. Чтобы вода не выливалась в стороны во время мойки, нужно как-то фиксировать голову клиента.

Поэтому капюшон застёгивается особым образом:

-2

Помимо элегантного инженерного решения в этом можно увидеть и бизнес-подход. Пока голова клиента надежно зафиксирована ... можно смело предлагать доп. услуги, – куда же теперь клиент денется!