Найти в Дзене
Старый радио любитель

Старые журналы. "Радио", №10 за 1956 год. КВ-передатчик 3-й категории.

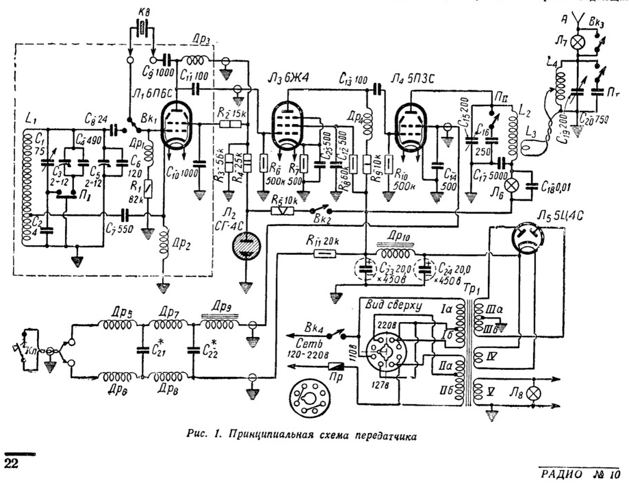
Этот простой ламповый передатчик является разработкой лаборатории Центрального радиоклуба ДОСААФ. Он предназначен для работы телеграфом в диапазонах 160 и 80 метров. Передатчик, конечно, ламповый, его выходная мощность около 10 Вт, а потребляемая - около 40 Вт, что поделать - лампы любят кушать :)). Задающий генератор собран по схеме индуктивной трехточки на лучевом тетроде 6П6С. Катушка одна для обоих диапазонов, переключаются только конденсаторы. Так как перекрытие по диапазону должно быть небольшим, то КПЕ имеет максимальную емкость всего 75 пФ и в диапазоне 160 м параллельно ему подключается емкость более 600 пФ (С3+С4+С5+С6). А в диапазоне 80 м последовательно с ним включается конденсатор С2 емкостью около 5 пФ (подбирается при наладке), так что общая емкость С1+С2<С2. Генератор может переключаться на работу с кварцевыми резонаторами, но, думаю, мало у кого возникала такая необходимость из-за дефицитности кварцев. Режим генератора по постоянному току стабилизирован газоразрядным с

Этот простой ламповый передатчик является разработкой лаборатории Центрального радиоклуба ДОСААФ. Он предназначен для работы телеграфом в диапазонах 160 и 80 метров. Передатчик, конечно, ламповый, его выходная мощность около 10 Вт, а потребляемая - около 40 Вт, что поделать - лампы любят кушать :)).

Рис. 1. Из журнала "Радио", №10 за 1956 год.
Рис. 1. Из журнала "Радио", №10 за 1956 год.

Задающий генератор собран по схеме индуктивной трехточки на лучевом тетроде 6П6С. Катушка одна для обоих диапазонов, переключаются только конденсаторы. Так как перекрытие по диапазону должно быть небольшим, то КПЕ имеет максимальную емкость всего 75 пФ и в диапазоне 160 м параллельно ему подключается емкость более 600 пФ (С3+С4+С5+С6). А в диапазоне 80 м последовательно с ним включается конденсатор С2 емкостью около 5 пФ (подбирается при наладке), так что общая емкость С1+С2<С2. Генератор может переключаться на работу с кварцевыми резонаторами, но, думаю, мало у кого возникала такая необходимость из-за дефицитности кварцев. Режим генератора по постоянному току стабилизирован газоразрядным стабилитроном СГ4С.

Нагрузкой генератора является дроссель Др3, откуда сигнал подается на апериодический усилитель, собранный на пентоде 6Ж4, нагрузкой которого являются дроссель Др4 и резистор R9.

Далее сигнал поступает на сетку усилителя мощности на лучевом тетроде 6П3С, который знаком всем "шарманщикам" и любителям громкого звука старшего поколения. Этот усилитель резонансный, его нагрузкой служит широкополосный колебательный контур, настроенный на среднюю частоту соответствующего диапазона. Катушкой связи этот контур связан с антенным перестраиваемым узкополосным контуром, который осуществляет подавление гармоник и согласование с антенной.

В цепь постоянного тока выходного каскада включена лампочка от карманного фонарика на 2,5 В, зашунтированная по переменному току конденсатором С18. По минимуму свечения этой лампочки настраивают анодный контур на резонансную частоту. Такая же маленькая лампочка Л7, но на напряжение 6,3 В, включается при настройке антенны в ее цепь. Настройка ведется по максимуму свечения, т.е. по максимальному отдаваемому току.

Телеграфная манипуляция осуществляется в цепи экранной сетки выходной лампы, при нажатии ключа на нее подается высокое напряжение, переводя ее в режим усиления. Цепочка С14, Др9 обеспечивает мягкий переход в режим усиления, сглаживая крутые фронты телеграфных посылок.

В статье приводятся подробные сведения по постройке и наладке передатчика.

Рис. 2. Из журнала "Радио", №10 за 1956 год.
Рис. 2. Из журнала "Радио", №10 за 1956 год.

Рассказывается и о способах стабилизации частоты генератора. Во-первых, это намотка катушки контура генератора на керамическим каркасе. Во вторых, рекомендуется конденсаторы контура генератора С4 и С6 составить из двух конденсаторов, соединенных параллельно, один из которых должен был иметь отрицательный КТЕ. Именно подбор соотношения этих конденсаторов является наиболее длительным процессом, так как после каждого изменения передатчик нужно прогреть 20-30 минут, а в случае необходимости коррекции охлаждать его 30-40 мин.

Интересно, почему бы не применить удвоение частоты во втором каскаде, ведь тогда никаких переключений в контуре генератора делать было бы не нужно. Тем более, что схемы с удвоением применялись тогда широко. Недостатком такого решения была бы необходимость иметь диапазон перестройки генератора, начиная с частоты 1,75 МГц, а не с 1,8 МГц. Да и плотность настройки бы на 80-ти метровом диапазоне больше, чем на 162 м. Что поделать - везде нужны компромиссы :)).

Всем здоровья и успехов!