Добавить в корзинуПозвонить
Найти в Дзене
Артём Суриков

Кинопроектор "Русь"

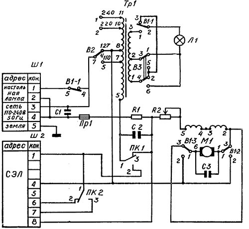
Кинопроектор "Русь" предназначен для просматривания пленки Super 8mm и Normal 8mm. Этот достался от дедушки, который увлекался видеосъёмкой. Долго не мог понять, почему не работает лампа - то ли трансформатор, то ли клавиша включения лампы, то ли патрон лампы. Проблемой оказался всего-то тумблер для переключения яркости лампы (между 12В и 6В), он просто развалился от времени. Заменил, лампа заработала.

Кинопроектор "Русь" предназначен для просматривания пленки Super 8mm и Normal 8mm. Этот достался от дедушки, который увлекался видеосъёмкой. Долго не мог понять, почему не работает лампа - то ли трансформатор, то ли клавиша включения лампы, то ли патрон лампы. Проблемой оказался всего-то тумблер для переключения яркости лампы (между 12В и 6В), он просто развалился от времени. Заменил, лампа заработала.

Схема проектора
Схема проектора

Рассыпавшийся от времени контакт тумблера
Рассыпавшийся от времени контакт тумблера

-4

Внутри
Внутри