Добавить в корзинуПозвонить
Найти в Дзене
Инженер Васичкин

Сигнализация с нулевым потреблением энергии

Это хорошо забытое старое. Сделал я ее еще в СССР по схеме с журнала Радио №9 1981г.. Затем она переходила из машины в машину и дорабатывалась. На данный момент версия не менее чем 10.0 и стоит она в ВАЗ-2107. За все это время сигнализация срабатывала пару раз!!!! Спасла пару аккумуляторов от хищения с жигулей, а возможно и самих Жигулей.... Сигнализация показала себя как не разряжающая аккумулятор в режиме охраны - совсем. Изначально ее схема выглядела так: А вот предпоследняя версия (9.0): https://disk.yandex.ru/d/F1RhDimEkvi4gw Сейчас идет очередная доработка до Вер. 10.0 Ставится дополнительное реле (РЭС-10 РС4.529.031-04) в цепь кнопок дверей. РЭС-10 РС4.529.031-04 РЭС-10 РС4.529.031-07 РЭС-10 РС4.529.031-08
РЭС-10 РС4.529.031-09 РЭС-10 РС4.529.031-19
РЭС-10 РС4.529.031-22 Сопротивление обмотки реле нужно чтобы было 120 Ом. Это дает дополнительную надежность в случае наличия тока утечки на массу в проводке при наличии влаги или даже воды и в этом случае для надежности больше

Это хорошо забытое старое. Сделал я ее еще в СССР по схеме с журнала Радио №9 1981г.. Затем она переходила из машины в машину и дорабатывалась.

На данный момент версия не менее чем 10.0 и стоит она в ВАЗ-2107.

За все это время сигнализация срабатывала пару раз!!!! Спасла пару аккумуляторов от хищения с жигулей, а возможно и самих Жигулей....

Сигнализация показала себя как не разряжающая аккумулятор в режиме охраны - совсем.

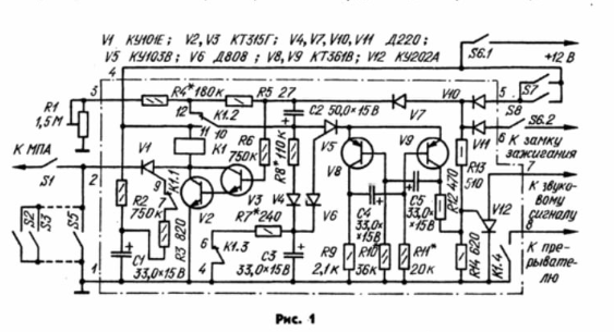
Изначально ее схема выглядела так:

Сигнализация с нулевым током потребления. Схема.
Сигнализация с нулевым током потребления. Схема.

Универсальный электронный сторож. Журнал Радио №9 1981г. Кошев (инж.)
Универсальный электронный сторож. Журнал Радио №9 1981г. Кошев (инж.)

Универсальный электронный сторож. Журнал Радио №9 1981г. Кошев (инж.) 2
Универсальный электронный сторож. Журнал Радио №9 1981г. Кошев (инж.) 2

Универсальный электронный сторож. Журнал Радио №9 1981г. Кошев (инж.) 3
Универсальный электронный сторож. Журнал Радио №9 1981г. Кошев (инж.) 3

А вот предпоследняя версия (9.0):

Автомобильная сигнализация с нулевой энергией потребления в режиме охраны. Вер. 9.0
Автомобильная сигнализация с нулевой энергией потребления в режиме охраны. Вер. 9.0

Автомобильная сигнализация с нулевой энергией потребления в режиме охраны. Вер. 9.0
Автомобильная сигнализация с нулевой энергией потребления в режиме охраны. Вер. 9.0

https://disk.yandex.ru/d/F1RhDimEkvi4gw

disk.yandex.ruУниверсальный электронный сторож — Яндекс Диск
disk.yandex.ruУниверсальный электронный сторож — Яндекс Диск

Сейчас идет очередная доработка до Вер. 10.0

Схема сигнализации Вер. 10.0
Схема сигнализации Вер. 10.0

Ставится дополнительное реле (РЭС-10 РС4.529.031-04) в цепь кнопок дверей.

РЭС10 РС4.529.031-04.01, Реле электромагнитные слаботочные, характеристики, применение, даташит, аналоги | Реле РЭС10 РС4.529.031-04.01 - купить с гарантией и доставкой по цене от 850.00 руб.

РЭС-10 РС4.529.031-04

РЭС-10 РС4.529.031-07

РЭС-10 РС4.529.031-08
РЭС-10 РС4.529.031-09

РЭС-10 РС4.529.031-19
РЭС-10 РС4.529.031-22

Сопротивление обмотки реле нужно чтобы было 120 Ом.

Это дает дополнительную надежность в случае наличия тока утечки на массу в проводке при наличии влаги или даже воды и в этом случае для надежности больше не требуется исправность лампочки плафона освещения, который включается кнопками дверей. Лампочка держала на контакте кнопок дверей через себя потенциал +12В при закрытых дверях (когда кнопки разомкнуты).

Автомобильная сигнализация с нулевой энергией потребления в режиме охраны. Вер. 10.0
Автомобильная сигнализация с нулевой энергией потребления в режиме охраны. Вер. 10.0
Сигнализация с нулевым потреблением энергии в режиме охраны.
Схема. Сигнализация с нулевым потреблением энергии в режиме охраны.

На этом на сегодня все.

Всем пока!!! Желаю удачных конструкций!!!