Добавить в корзинуПозвонить
Найти в Дзене
4pda.to

Tesla запатентовала «прилипающий» к дороге Roadster

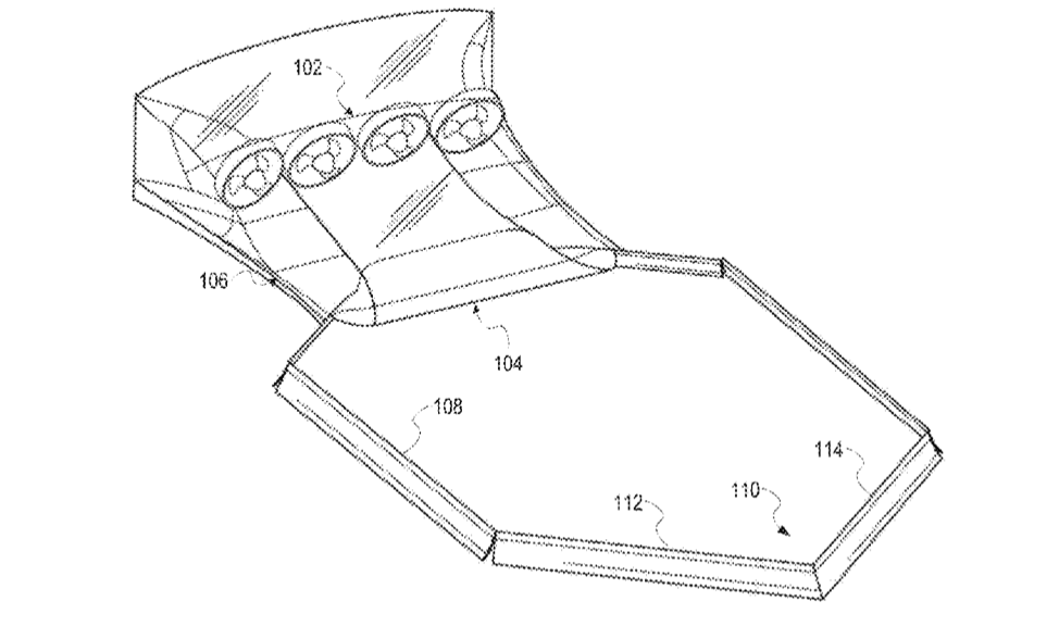
Спустя годы обещаний о летающем Roadster с «пакетом SpaceX» Tesla наконец сделала реальный шаг в эту сторону: компания подала патент на систему активной аэродинамики с вентиляторами. Это решение создаёт вакуум под машиной, и та буквально «прилипает» к дороге, увеличивая прижимную силу и улучшая управляемость. По замыслу Tesla, система будет адаптивной: автомобиль сам будет регулировать положение юбок и работу вентиляторов в зависимости от дорожных условий, скорости, GPS-данных и других факторов. Всё это обещает сделать поведение машины на трассе более стабильным, а разгон и торможение — эффективнее. Но никакого полёта: в патенте нет и намёка на «ракетные» ускорители или «холодный газ», о которых так любил говорить Маск. Скорее всего, перед нами и есть тот самый «пакет SpaceX» — только не с фантастическими полётами, а с вполне реальной технологией. Аналогичную систему уже реализовала британская McMurtry Spierling, чей «вентиляторный» электрокар побил рекорд на фестивале скорости в Гудву
   Tesla запатентовала «прилипающий» к дороге Roadster
Tesla запатентовала «прилипающий» к дороге Roadster

Спустя годы обещаний о летающем Roadster с «пакетом SpaceX» Tesla наконец сделала реальный шаг в эту сторону: компания подала патент на систему активной аэродинамики с вентиляторами. Это решение создаёт вакуум под машиной, и та буквально «прилипает» к дороге, увеличивая прижимную силу и улучшая управляемость.

-2

По замыслу Tesla, система будет адаптивной: автомобиль сам будет регулировать положение юбок и работу вентиляторов в зависимости от дорожных условий, скорости, GPS-данных и других факторов. Всё это обещает сделать поведение машины на трассе более стабильным, а разгон и торможение — эффективнее. Но никакого полёта: в патенте нет и намёка на «ракетные» ускорители или «холодный газ», о которых так любил говорить Маск.

Скорее всего, перед нами и есть тот самый «пакет SpaceX» — только не с фантастическими полётами, а с вполне реальной технологией. Аналогичную систему уже реализовала британская McMurtry Spierling, чей «вентиляторный» электрокар побил рекорд на фестивале скорости в Гудвуде. Так что Tesla тут не первая, но, возможно, она сделает технологию более универсальной и пригодной для повседневного использования.

Tesla
126 тыс интересуются