Добавить в корзинуПозвонить
Найти в Дзене
OVERCLOCKERS.RU

Сокет AMD AM6 будет иметь на 22% больше контактов, чем AM5, но сохранит тот же размер

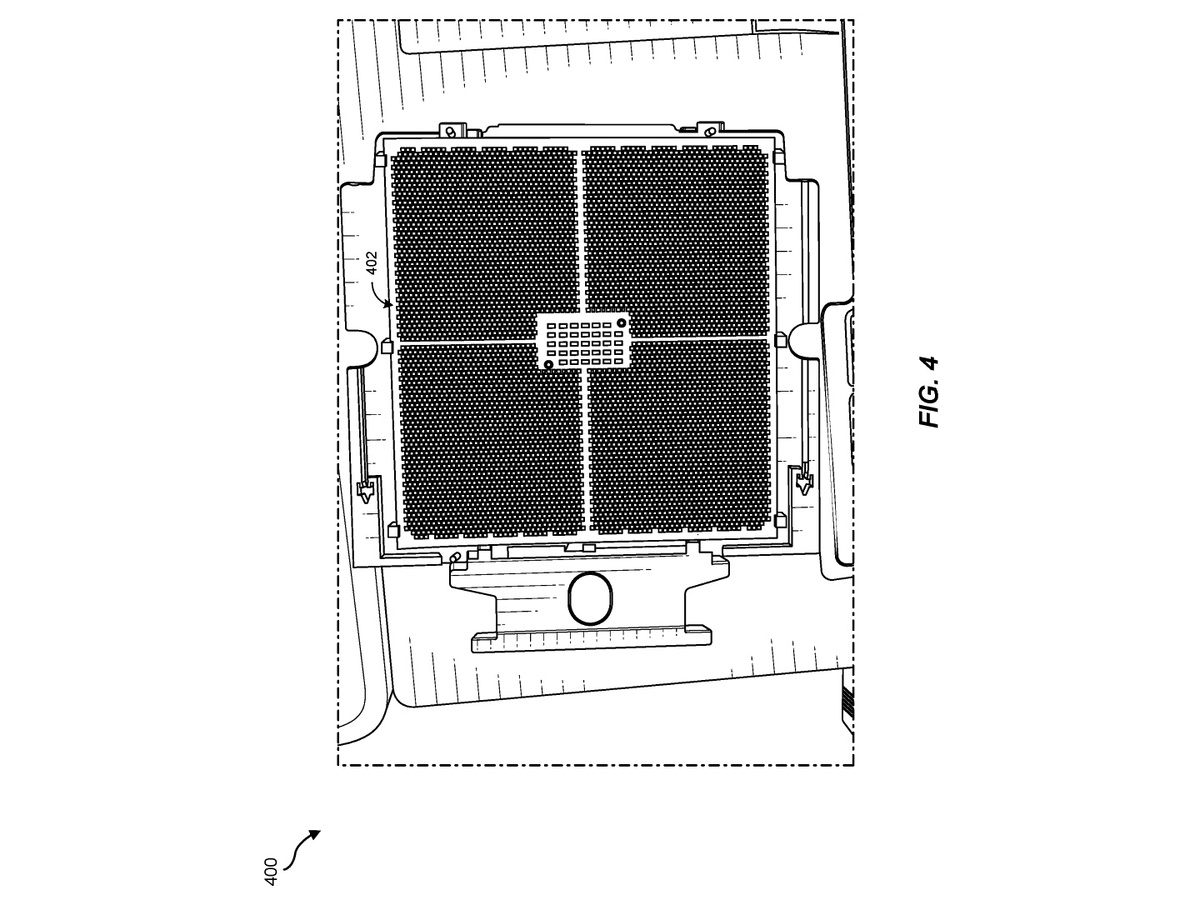
По всей видимости, AMD планирует вновь усовершенствовать количество пинов в своем будущем сокете AM6. Однако владельцы кулеров, созданных для AM5, могут не беспокоиться, так как общие габариты разъема, скорее всего, не претерпят значительных изменений. Ожидается, что новый сокет выйдет на рынок через пару лет и станет платформой для процессоров AMD на архитектуре Zen 7, а также поддержит передовые стандарты PCIe. Согласно данным от Bits and Chips, ссылающегося на собственные источники, плотность контактов в AM6 будет увеличена по сравнению с AM5, достигнув примерно 2100 пинов против 1718. Это означает увеличение на 22%. В отчете также приводятся изображения из патентной документации AMD, демонстрирующие разъем с высокой плотностью расположения контактов. Несмотря на то, что детали на изображениях различимы нечетко, структура расположения пинов отличается от существующего поколения разъемов. Примечательно, что габариты нового сокета, по имеющимся данным, останутся сопоставимыми с AM5. П

По всей видимости, AMD планирует вновь усовершенствовать количество пинов в своем будущем сокете AM6. Однако владельцы кулеров, созданных для AM5, могут не беспокоиться, так как общие габариты разъема, скорее всего, не претерпят значительных изменений. Ожидается, что новый сокет выйдет на рынок через пару лет и станет платформой для процессоров AMD на архитектуре Zen 7, а также поддержит передовые стандарты PCIe.

Согласно данным от Bits and Chips, ссылающегося на собственные источники, плотность контактов в AM6 будет увеличена по сравнению с AM5, достигнув примерно 2100 пинов против 1718. Это означает увеличение на 22%. В отчете также приводятся изображения из патентной документации AMD, демонстрирующие разъем с высокой плотностью расположения контактов. Несмотря на то, что детали на изображениях различимы нечетко, структура расположения пинов отличается от существующего поколения разъемов.

Примечательно, что габариты нового сокета, по имеющимся данным, останутся сопоставимыми с AM5. По-видимому, AMD смогла добиться увеличения плотности контактов без изменения общего размера, что потенциально позволит использовать процессорные кулеры, разработанные для AM5. Более высокая плотность контактов также обеспечит поддержку памяти DDR6 и интерфейса PCIe 6.0. Кроме того, заявлена совместимость с архитектурой AMD Zen 7, процессоры на базе которой, как утверждается, будут обладать впечатляющей производительностью по сравнению с Zen 6.

-2

В июне один из авторитетных инсайдеров сообщил о значительном увеличении количества ядер в процессорах Zen 7 – до 32, благодаря использованию двух 16-ядерных CCD-чиплетов. Благодаря технологии Hyper-Threading эти процессоры смогут обрабатывать до 64 потоков. Инсайдер также отметил, что данные процессоры будут обладать "огромным объемом V-кэша".

Издание Bits and Chips прогнозирует, что AM6 появится в продаже ориентировочно в 2028 году, что совпадает с ожидаемым сроком выхода архитектуры Zen 7.

📃 Читайте далее на сайте