Добавить в корзинуПозвонить
Найти в Дзене

Вольтметр с большим входным сопротивлением.

Чувствительный микроамперметр
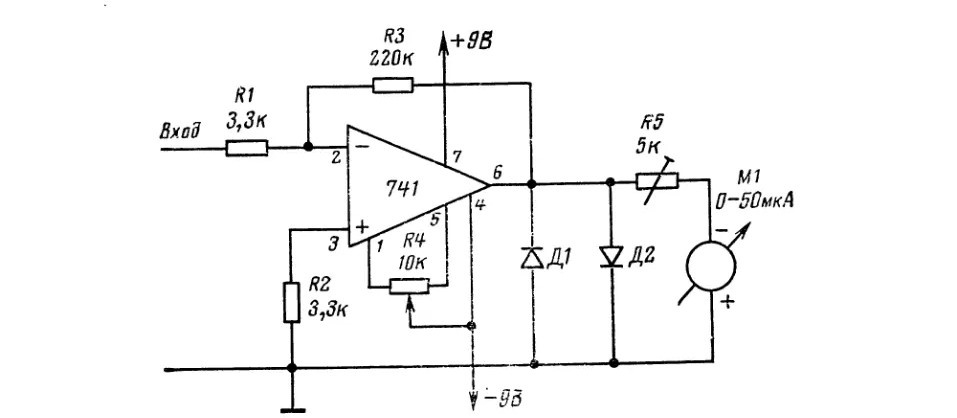
На схеме на рис. 14 показано, как использовать микросхему 741
для создания высокочувствительного микроамперметра с током полного
отклонения 1 мкА. Кроме того, эта схема является полезной и радио-
любитель, не обладающий опытом работы с операционными усилите-
лями и экспериментирующий с простыми схемами, подобными этой,
получит много полезных практических навыков.
Если предположить, что во входную цепь этой схемы • втекает
некоторый входной ток, то почти такой же ток протекает и через
резистор R3, так как входное сопротивление операционного усилителя
очень велико. Если входной ток равен 1 мкА, то этот ток, протекаю-
щий через резистор R3, создает на нем падение напряжения 0,22 В.
Так как вывод 2 микросхемы остается под нулевым потенциалом,
в результате входной ток значением 1 мкА приведет к формированию
выходного напряжения 0,22 В. Если общее сопротивление микроампер-
потенциометра R5 равно 4,4 кОм, то через микроамперметр
потечет 1 В гл. 5 описаны усилител

Чувствительный микроамперметр
На схеме на рис. 14 показано, как использовать микросхему 741
для создания высокочувствительного микроамперметра с током полного
отклонения 1 мкА. Кроме того, эта схема является полезной и радио-
любитель, не обладающий опытом работы с операционными усилите-
лями и экспериментирующий с простыми схемами, подобными этой,
получит много полезных практических навыков.
Если предположить, что во входную цепь этой схемы • втекает
некоторый входной ток, то почти такой же ток протекает и через
резистор R3, так как входное сопротивление операционного усилителя
очень велико. Если входной ток равен 1 мкА, то этот ток, протекаю-
щий через резистор R3, создает на нем падение напряжения 0,22 В.
Так как вывод 2 микросхемы остается под нулевым потенциалом,
в результате входной ток значением 1 мкА приведет к формированию
выходного напряжения 0,22 В. Если общее сопротивление микроампер-
потенциометра R5 равно 4,4 кОм, то через микроамперметр
потечет

1 В гл. 5 описаны усилители, более удобные для
создания схем с высоким входным сопротивлением, чем микросхемы
типа 741.

ток 50 мкА. Таким образом, входной ток 1 мкА обеспечивает
полное отклонение стрелки прибора.
Диоды Д1 и Д2 не проводят тока, если выходное напряжение
не превышает по модулю 0,6 В. Если напряжение выходит за указан-
ные границы, то один из диодов отпирается, что предотвращает пере-
грузку измерительного прибора, которая может привести к выходу его
из строя.

Рис.14
Рис.14


Рис. 14. Схема, обеспечивающая полное отклонение стрелки измерительного прибора при входном токе 1 мкА (схема может быть использована в качестве милливольтметра постоянного напряжения)
из строя. Равенство сопротивлений входных резисторов R1 и R2 умень-
шает дрейф выходного напряжения.


Если входной сигнал имеет положительную полярность (т. е. если
входной ток «'втекает» в резистор R1), то выходной сигнал становится
отрицательным. Поэтому в этом случае положительный полюс микро-
амперметра следует заземлить, а отрицательный соединить с выходом
микросхемы 741. При желании можно использовать двуполярный микроамперметр с центральной стрелкой (50—0—50), в этом случае
можно осуществить измерение сигнала любой полярности.
При практическом использовании схемы сначала следует отрегу-
лировать потенциометр R4 так, чтобы при нулевом входном сигнале
прибор показывал нуль. Затем следует подать на вход ток 1 мкА.
Это можно сделать, соединив положительный полюс источника напря-
жения 10 В со входом схемы через резистор сопротивлением 10 МОм
и отрицательный полюс этого источника — с землей. После этого сле-
дует отрегулировать потенциометр R5 полного отклонения так, чтобы
обеспечить отклонение стрелки микроамперметра на всю шкалу.
В этом устройстве можно использовать микроамперметр 0—
100 мкА, но тогда сопротивление потенциометра R5 следует уменьшить
до 2,5 кОм. Можно также использовать и другие достаточно чувстви-
тельные микроамперметры с полным отклонением до 500 мкА, но при
этом необходимо уменьшить сопротивление R5.
Типовое значение входного тока операционного усилителя типа
741 равно 0,2 мкА (максимальное значение 0,5 мкА). Разность входных
токов, измеряемая при нулевом выходном напряжении, для опера-
ционного усилителя типа 741 равна 0,03 мкА (максимум 0,2 мкА) и
меняется с температурой. Таким образом, при попытках значительно
увеличить чувствительность схемы на рис. 14 для обеспечения полного
отклонения стрелки при намного меньших входных токах возникают
существенные погрешности в работе. Далее покажем, что для изме-
рения токов, существенно меньших тех, которые можно измерять
с помощью схемы на рис. 14, целесообразно применять операционные
усилители других типов.
Схему на рис. 14 можно использовать также как вольтметр по-
стоянного напряжения, тогда потенциометр R5 следует отрегулиро-
вать так, чтобы полное отклонение стрелки измерительного прибора
соответствовало входному напряжению 200 мВ.
Подключения источников питания и цепей регулировки нуля, пока-
занные на рис. 14 и 15, нужно использовать и в схемах на рис. 9
я 13.

Источник: Дж. Б. Данс «Операционные усилители: принцип работы и применение» (1982)

Когда с помощью резистора 10 мом и источника питания 10 вольт установим стрелку прибора на максимум с помощью R5 на 4,7 ком получается вольтметр с входным сопротивлением 1 мом на вольт. Схема не изменяется, добавляются резисторы согласно предельным измерениям. В данном случае использовал микроамперметр на 100 микроампер М906, сопротивление рамки 486 ом. Содержит пять больших делений, каждый разделен на десять делений. Получилась шкала от 0 до 250 вольт, резисторы подбираются каждый из нескольких штук. Приводится схема с переключателем пределов измерения и номиналы резисторов. Схема надежно работает несколько лет. Источник питания собран на микросхемах ЛМ317 и проблем для изготовления не представляет.

-2