Добавить в корзинуПозвонить
Найти в Дзене
Мир в деталях 🧩

📺 Apple снова гнёт своё: монитор сам меняет форму, если вы на него «не так» смотрите

📺 Apple снова гнёт своё: монитор сам меняет форму, если вы на него «не так» смотрите 😲 Apple запатентовала монитор, который умеет гнуться сам - в зависимости от того, где и как вы сидите. Внутри - сенсоры и приводы: они следят за вашим положением и меняют угол экрана, чтобы картинка всегда была чёткой. Судя по схеме, это что-то вроде гибкого iMac, который может раскладываться для работы и складываться для удобства хранения.

📺 Apple снова гнёт своё: монитор сам меняет форму, если вы на него «не так» смотрите 😲

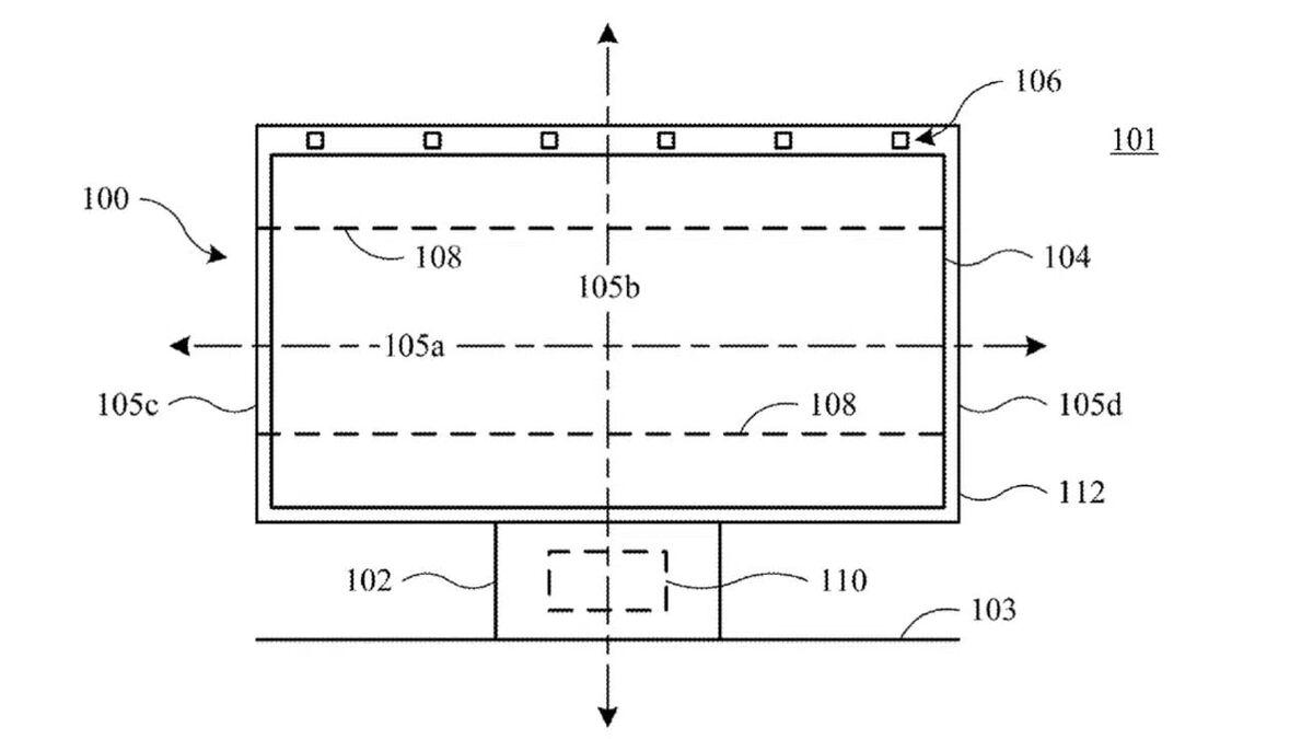
Apple запатентовала монитор, который умеет гнуться сам - в зависимости от того, где и как вы сидите.

Внутри - сенсоры и приводы: они следят за вашим положением и меняют угол экрана, чтобы картинка всегда была чёткой.

Судя по схеме, это что-то вроде гибкого iMac, который может раскладываться для работы и складываться для удобства хранения.

-2