Найти в Дзене
Н.В.

Лучшее - враг хорошего.

Стажер Василий (среди коллектива - Васюля), вытерев руку ветошью, взял ручку и расчертил лист бумаги А4 на две части. Верхняя - рацпредложение, маленькая, нижняя - пояснения, значительно больше. Интуитивный опыт пришел быстро - нужно усилить пружину, а вот зачем - требует обоснования. Если есть пружина - должна давить, хрен тут думать. А размер гнезда для неё позволяет засунуть пружину втрое более сильную. И зачем пропадать пространству внутри хитрого блока непонятного назначения? Тем более, что старый директор поощрял рационализаторов, ну чем не повод постараться? ***** Генеральный Директор откинулся в кресле. Да, он всем докажет, что не зря папаня хлопотал и дядя-ПОКРОВИТЕЛЬ долго договаривался на самом ВЕРХУ! Ну и что, что нет тупого профильного образования? Они что, примитивно так мыслят все? Мозги ведь на месте, а диплом по менеджменту самого широкого профиля полностью настоящий! Импортный! Завидуйте, кому такого не дано! Неделя после назначения пролетела как в тумане - проста
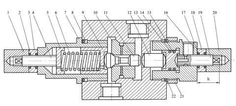
пример клапана не очень сложного
пример клапана не очень сложного

Стажер Василий (среди коллектива - Васюля), вытерев руку ветошью, взял ручку и расчертил лист бумаги А4 на две части. Верхняя - рацпредложение, маленькая, нижняя - пояснения, значительно больше. Интуитивный опыт пришел быстро - нужно усилить пружину, а вот зачем - требует обоснования. Если есть пружина - должна давить, хрен тут думать. А размер гнезда для неё позволяет засунуть пружину втрое более сильную. И зачем пропадать пространству внутри хитрого блока непонятного назначения? Тем более, что старый директор поощрял рационализаторов, ну чем не повод постараться?

*****

Генеральный Директор откинулся в кресле. Да, он всем докажет, что не зря папаня хлопотал и дядя-ПОКРОВИТЕЛЬ долго договаривался на самом ВЕРХУ! Ну и что, что нет тупого профильного образования? Они что, примитивно так мыслят все? Мозги ведь на месте, а диплом по менеджменту самого широкого профиля полностью настоящий! Импортный! Завидуйте, кому такого не дано! Неделя после назначения пролетела как в тумане - проставиться, с дружбанами посидеть, документы сдать, чтоб все по приходу уже понимали, кто здесь новый хозяин! И для полноты понимания в коллективе, что он самый, что ни на есть, серьезный лидер, начал с дресс-кода (рубашка белая, что ниже - черное) и пропускного режима. Нефиг нарушать режим работы, для того он здесь и зрит, чтоб все понимали - опоздал на три минуты - выговор, порядок - основа успехов в работе.

*****

После третьей планерки, где он донес до своих руководителей правила работы, взаимоотношений, новые требования и личное отношение ко всему, что вокруг, началась неприятная ситуация. На ритуальный вопрос: "какие вопросы", начали замы говорить непонятным языком, коверкали всякие умности, которые сразу и не поймешь, просили принять решения по каким-то тупым вопросам марок стали, каких-то допусков непонятных (кто их только куда допускать должен...) и выставили Генерального!!! дураком, молча ожидая его решения... Сговорились, видимо, гады.

- эти вопросы не стояли в плане совещания, следующая встреча, как обычно, в понедельник в десять - ноль-ноль. Опозданий не потерплю!

Все разошлись с непонятными разговорами вполголоса и Генеральный понял, что нужно менять коллектив. Эти совершенно не понимают его богатую речь, насыщенную английскими вкраплениями, термины современные не понимают, недоуменно пялясь на слово "вайб" или "хейт*". Динозавры вымирающие. Два его дружбана давно просились в теплое место, благодарны будут до окончания веков, а если и зарплатку им подкинуть - вообще станут преданней собаки.

*****

Вяло ковыряясь в кипе непонятных документов, Генеральный увидел написанный от руки неплохим почерком листок с понятными для него словами "давит пружина", "дырка большая", "сильнее давить будет", "оптимизируем дырку под пружину". Видно, что не дурак писал, слова знает "оптимизирует". Нужно дать дорогу этому предложению. Поразмяв руку, Генеральный наложил красивую визу "Принять к исполнению!". И подпись витиеватая, долго отрабатывал ее, теперь и ставить не стыдно.

- Кристиночка, зайди за бумагами и вот эту направь куда-нибудь, кто этим занимается.

Кристиночка сменила нудную и отсталую возрастную секретаршу и радовала глаз. Сразу видно по приемной, что за охраняемой ей дверью сидит человек солидный и ценитель красоты.

*****

Взрыв случился неожиданно. Черное облако прятало солнце, а пыль - ломаных людей и бесцветную технику. По необъяснимой причине, самая надежная ракета сработала при транспортировке. Пружина передавила мембрану и предохранительный клапан запустил смешивание сложного коктейля, самовоспламеняющегося и плавящего сталь. Самое страшное, что за эту ракету отвечал Покровитель Покровителя Генерального директора.

*****

Васюля потерял интерес к рационализаторству. Что-то там случилось, какие-то проблемы понеслись, сняли директора нового с замами новыми, старого вернули, но он почему-то Васюлю молча выгнал, хоть и усмехнулся незлобиво и загадочно. И фразу бросил негромко "лучшее враг хорошего, но получилось удачно...". Удачно, а выгнал... это называется плагиатом - украсть у человека его творческую идею... Незачем теперь рационализаторствовать. Нужно работу новую искать.

*****

*Вайб — атмосфера, настроение. Англицизм-калька слова vibe (вибрация)

*Хейтить — открыто ненавидеть кого-то или что-то, проявлять эту эмоцию, травить словами — устно или письменно. Калька с hate — ненависть.