Найти в Дзене
МотоМир

Yamaha разрабатывает электрический турбокомпрессор для мотоциклов

Японская компания Yamaha подала заявку на патент, раскрывающий новую технологию электрического турбокомпрессора (E-Turbo) для мотоциклов. Эта инновация может значительно повысить мощность двигателей, что особенно важно для моделей CP3, YZF-R9 и MT-09.

Решение Yamaha последовать примеру Honda, которая установила электрический компрессор на двигатель V3, свидетельствует о стремлении японских производителей к лидерству в области технологий. Электрический турбокомпрессор, в отличие от традиционных, использует энергию генератора для быстрого вращения лопастей, что позволяет уменьшить турбозадержку и обеспечить более плавное увеличение мощности.

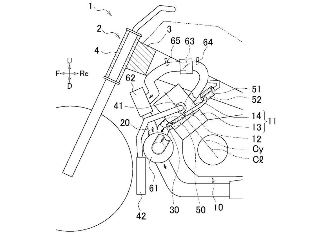
Патентные изображения демонстрируют простую конструкцию E-Turbo, что говорит о его потенциальной эффективности и надёжности. На них видно, что компрессор соединён с генератором, который, в свою очередь, получает энергию от высоковольтной системы. Такая схема аналогична тем, что используются в современных автомобилях с электрическим турбокомпрессором.

Хотя на данный момент информации о новой технологии немного, известно, что Yamaha уже проводила эксперименты с электрическим турбокомпрессором. Это свидетельствует о том, что компания готова внедрить инновацию в серийное производство в ближайшем будущем.

Ожидается, что электрический турбокомпрессор от Yamaha станет значительным шагом вперёд в развитии мотоциклетных технологий, предлагая водителям улучшенные характеристики и новые возможности для тюнинга.

-2