Добавить в корзинуПозвонить
Найти в Дзене
КНИТУ-КАИ

Как помыть окна в небоскребе

Группа ученых КНИТУ-КАИ разработала новый способ мытья окон в высотных зданиях. В Государственном реестре изобретений Российской Федерации 14 января 2025 года сделана запись о выдаче авторам Патента №2833048 на изобретение «Способ очистки стекол окон снаружи высотного здания и стеклоочиститель для его осуществления». Срок действия исключительного права на изобретение истекает 6 февраля 2044 года. Как известно, мытье панорамных окон в многоэтажных домах является непростой задачей. Она сопряжена не только с трудоемкостью, но и с большим риском для уборщика выпасть из окна в попытке добраться до самых удаленных и труднодоступных мест. Кроме того, стекла – капризная поверхность, и неудовлетворительное качество уборки сильно бросается в глаза. Чтобы решить проблему, одни обычно пользуются специальными инструментами - магнитными щетками, скребками и телескопическими швабрами, другие обращаются к услугам профессиональных клининговых компаний, и тогда мытьем окон занимаются альпинисты. Однако

В КНИТУ-КАИ запатентовали новый способ очистки стекол снаружи высотного здания

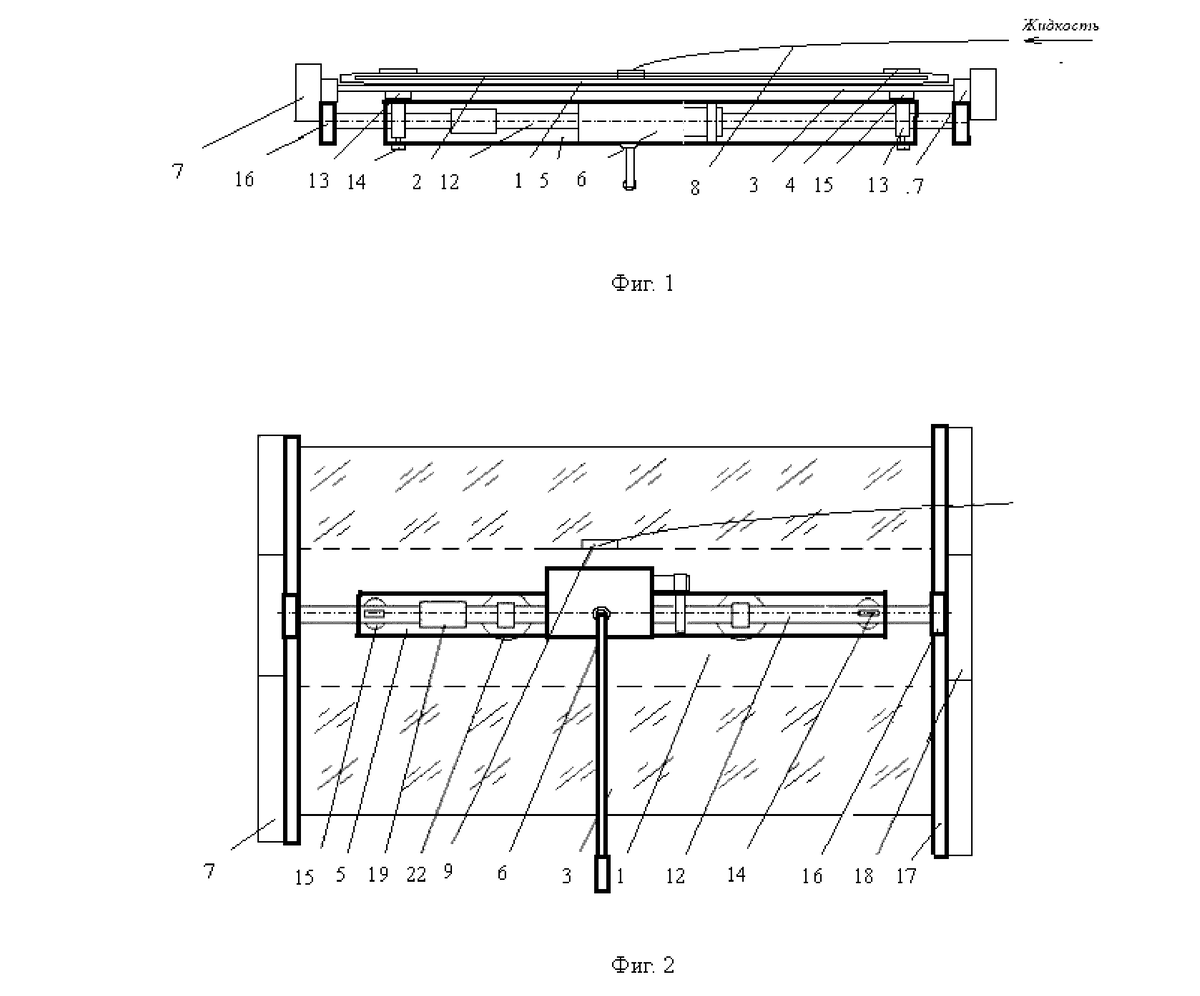
Группа ученых КНИТУ-КАИ разработала новый способ мытья окон в высотных зданиях. В Государственном реестре изобретений Российской Федерации 14 января 2025 года сделана запись о выдаче авторам Патента №2833048 на изобретение «Способ очистки стекол окон снаружи высотного здания и стеклоочиститель для его осуществления». Срок действия исключительного права на изобретение истекает 6 февраля 2044 года.

Как известно, мытье панорамных окон в многоэтажных домах является непростой задачей. Она сопряжена не только с трудоемкостью, но и с большим риском для уборщика выпасть из окна в попытке добраться до самых удаленных и труднодоступных мест. Кроме того, стекла – капризная поверхность, и неудовлетворительное качество уборки сильно бросается в глаза.

Чтобы решить проблему, одни обычно пользуются специальными инструментами - магнитными щетками, скребками и телескопическими швабрами, другие обращаются к услугам профессиональных клининговых компаний, и тогда мытьем окон занимаются альпинисты. Однако первый способ может быть не всегда эффективным и удобным, а второй может быть слишком дорогим.

Минусы предлагаемых способов очистки витражных окон можно свести к минимуму, если использовать устройство для мытья окон, запатентованное сотрудниками КНИТУ-КАИ. Это устройство может быть использовано сотрудниками ЖКХ, специализированными компаниями по клинингу и т. д.

-2

Недостатком известного устройства, принятого за прототип, является сложность конструкции и необходимость приложения значительных физических усилий для прижатия щетки и скребка к стеклу, а также опасность при очистке наружных поверхностей стекол окон высотных зданий.

Основными элементами предлагаемого устройства являются телескопическая швабра с возможностью регулировки по ширине оконной рамы и электропривод с колесным ходом и магнитными держателями, совершающий возвратно-поступательное движение в вертикальном направлении. Направляющими для электропривода служат оконные рамы. В состав устройства входит вспомогательное оборудование: бачок с жидкостью, насос, штанги для крепления швабры с внешней стороны и страховочный тросик. Устройство работает от сети 220 В. В качестве жидкости используется вода, поступающая на швабру из бачка при помощи насоса.

Монтаж устройства включает несколько простых операций: измерение ширины окна и подбор швабры, соответствующей данной ширине (из комплекта), крепление швабры к окну с внешней стороны при помощи магнитов, для чего используется штанга. Магниты установлены на раме электропривода, который, в свою очередь, крепится к окну с внутренней стороны.

-3

Мытье окна осуществляется в автоматическом режиме под контролем оператора. Оператор же регулирует расход жидкости, который зависит от степени загрязненности стекол. Оконные проемы чистятся поочередно путем перестановки элементов данного устройства.

Перспектива коммерциализации этого технического решения видится в серийном производстве таких устройств, которые могут быть широко востребованы на рынке ЖКХ.

По словам заведующего кафедрой специальных технологий в образовании КНИТУ-КАИ Григория Павлова, новизна устройства связана с возможностью использования регулируемой швабры на всю ширину оконной рамы, благодаря чему удается уменьшить время мытья окон. Кроме того, отмечает автор изобретения, оригинальна система автоматизации процесса мытья окон с подачей на швабру чистой жидкости и отсоса грязной жидкости в отдельную емкость устройства вакуумным насосом.