Добавить в корзинуПозвонить
Найти в Дзене
Роспатент

ТОП-10 актуальных разработок юных инноваторов

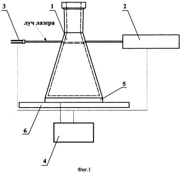
С 2022 года Роспатент поступило около 60 заявок от учащихся российских школ на регистрацию изобретений и полезных моделей. На треть школьных заявок уже выданы патенты. Ко Дню защиты детей эксперты Роспатента отобрали 10 разработок для нашего обзора. Иван В. из Зеленограда придумал устройство для определения скорости наполнения контейнера жидким содержимым, которое производит замер жидкости с помощью лазера и фотоэлемента, включает в себя прозрачный контейнер, таймер и блок памяти, может применяться в разных отраслях: от пивоварения или молочной промышленности нефте- и газодобыче при транспортировке сырья, а также в быту. Устройство управления сном Александры К. из Зеленограда и ее соавторов повышает эффективность сна человека, изменяя сенсорный стимул и переводя спящего из первой стадии сна во вторую. Выглядит как светозащитная маска с двумя заземляющими контактами в виде клипсы на мочку уха. Артем С. из Саратова для сбора урожая с плодовых деревьев разработал конструкцию из нескольки

С 2022 года Роспатент поступило около 60 заявок от учащихся российских школ на регистрацию изобретений и полезных моделей. На треть школьных заявок уже выданы патенты.

Ко Дню защиты детей эксперты Роспатента отобрали 10 разработок для нашего обзора.

Иван В. из Зеленограда придумал устройство для определения скорости наполнения контейнера жидким содержимым, которое производит замер жидкости с помощью лазера и фотоэлемента, включает в себя прозрачный контейнер, таймер и блок памяти, может применяться в разных отраслях: от пивоварения или молочной промышленности нефте- и газодобыче при транспортировке сырья, а также в быту.

Устройство управления сном Александры К. из Зеленограда и ее соавторов повышает эффективность сна человека, изменяя сенсорный стимул и переводя спящего из первой стадии сна во вторую. Выглядит как светозащитная маска с двумя заземляющими контактами в виде клипсы на мочку уха.

Артем С. из Саратова для сбора урожая с плодовых деревьев разработал конструкцию из нескольких трапециевидных сетчатых полотен. Она устанавливается по контуру кроны на опорах и крепится другой стороной к стволу дерева, охватывая его на разной высоте. Благодаря этому мягкие плоды не повреждаются при падении, а остаются на полотне. Материал для полотен - солнцезащитная сетка, спанбонд или другие доступные материалы.

Кирилл М. из Белгорода предложил усовершенствовать сигнальные браслеты для предупреждения об особенностях здоровья человека при оказании экстренной помощи в больницах, госпиталях, в полевых условиях. В гнезда на корпусе браслета надежно крепятся сменные вставки, цвет которых сигнализирует о наличии аллергии, диабета, о характере ранения и других нарушениях. Также предусмотрено поле для надписи. Устройство особенно актуально для помощи пациентам при потере сознания или в экстремальных условиях, когда сложно идентифицировать человека и его заболевания.

Москвичка Алина С. придумала как улучшить лезвие коньков для спортивного катания. Заточка лезвия в форме латинской W повышает устойчивость при исполнении прыжков, улучшает скольжение и сцепление лезвия со льдом.

Никита Л. из Новосибирска разработал компактный детектор паров глицерина и табачного дыма, которые свидетельствуют об использовании вейпов и подобных устройств в местах, не предназначенных для курения. Прибор при помощи инфракрасного датчика и микроконтроллера фиксирует повышение концентрации СО2, наличие паров пропиленгликоля и дистанционно уведомляет об этом пользователя.

Надежную конструкцию из блоков несъемной опалубки предложил Егор С. из Москвы. Блок из фасадных и внутренних плит из материалов, предназначенных для наружной и внутренней отделки с перемычками из пористого теплоизоляционного материала и пространством для монтажа арматуры заполняют затвердевающим материалом. Полезная модель позволяет значительно расширить ассортимент выпускаемых блоков за счет разных габаритов и материалов облицовки, повысить качество и точность монтажа, ускорить и удешевить процесс строительства в целом.

Учебное пособие создала Анастасия Ц. из Королева. Демонстрационный макет для изучения орбит космических аппаратов содержит детальную реализацию основных математических понятий в виде характерных плоскостей и линий: экватора Земли, орбиты космического аппарата, линии узлов. Макет выполнен из дерева и металла. Полезная модель предназначена для школьников и студентов, начинающих изучать внешнюю баллистику. Еще одна учебная модель юной изобретательницы служит для комплексного визуального представления одновременно нескольких орбит космических аппаратов для иллюстрации работы группировок спутников.

Устройство для диагностики нарушений и коррекции зрительных функций разработал житель Краснодарского края Фёдор Я. Для оценки лабильности зрительной системы. Устройство позволяет определять степень утомления операторов сложных механизмов, например: водителей, машинистов, летчиков, операторов, работающих в очках виртуальной реальности. Светозащитная очковая оправа со встроенными светодиодами при помощи световых импульсов разных цветов позволяет автоматически измерять необходимые параметры.

Роспатент поддерживает инициативу юных изобретателей: развивает в своей системе просветительские проекты, проводит конкурсы, лекции и другие мероприятия, направленные на рост изобретательской культуры и инновационной активности со школьной скамьи.

#Дети