Найти в Дзене
Инструменты в действии!

ВЫБИРАЕМ МОНТАЖНЫЙ ПИСТОЛЕТ

Монтажный пистолет – это инструмент, предназначенный для быстрого крепления различных материалов (досок, металлических элементов, изоляции и др.) к твердым поверхностям (бетон, сталь, кирпич) с помощью дюбелей, гвоздей или шпилек.
ПОРОХОВОЙ МОНТАЖНЫЙ ПИСТОЛЕТ. Пороховой монтажный пистолет – наиболее мощный вид техники для прямого монтажа, позволяющий работать с широким перечнем материалов, включая основания высокой твердости – кирпич, бетон и сталь. Прямой монтаж, также называемый «пристрелкой» обеспечивает установку крепежного элемента (гвоздя или дюбель-гвоздя) за один удар бойка. За счет этого строительный пистолет в сравнении с обычным молотком позволяет увеличить производительность в 5-6 раз. Работа порохового строительного пистолета основана на использовании специальных холостых бездымных патронов калибра 6,8 мм, выстрелы которыми и обеспечивают установку крепежных элементов. Патроны выпускаются в 2 вариантах: Кроме того, они различаются энергоотдачей, обеспечиваемой увеличение
Оглавление


Монтажный пистолет – это инструмент, предназначенный для быстрого крепления различных материалов (досок, металлических элементов, изоляции и др.) к твердым поверхностям (бетон, сталь, кирпич) с помощью дюбелей, гвоздей или шпилек.

ПОРОХОВОЙ МОНТАЖНЫЙ ПИСТОЛЕТ.

Пороховой монтажный пистолет – наиболее мощный вид техники для прямого монтажа, позволяющий работать с широким перечнем материалов, включая основания высокой твердости – кирпич, бетон и сталь.

Прямой монтаж, также называемый «пристрелкой» обеспечивает установку крепежного элемента (гвоздя или дюбель-гвоздя) за один удар бойка. За счет этого строительный пистолет в сравнении с обычным молотком позволяет увеличить производительность в 5-6 раз.

Работа порохового строительного пистолета основана на использовании специальных холостых бездымных патронов калибра 6,8 мм, выстрелы которыми и обеспечивают установку крепежных элементов. Патроны выпускаются в 2 вариантах:

  • длинные – маркировка «Д», длина 18 мм,
  • короткие – маркировка «К», длина 11 мм.

Кроме того, они различаются энергоотдачей, обеспечиваемой увеличением массы заряда в патроне. Для большего удобства при покупке и использовании монтажного патрона применяется цветовая маркировка и нумерация: белая (1), желтая (2), синяя (3) или красная (4) в соответствии с ростом мощности. Соответственно, чем она выше, тем более плотным и твердым может быть основание при монтаже и тем длиннее и толще может применяться крепеж.

Несмотря на то, что в патронах используется бездымный порох, работы в закрытых, непроветриваемых помещениях производить не рекомендуется.

ПРИНЦИП РАБОТЫ

Если не вдаваться в подробности, принцип работы порохового монтажного пистолета относительно прост: после нажатия на курок происходит выстрел, сопровождающийся выбросом энергии (в соответствии с массой заряда патрона) и приводящий в движение поршень, который вбивает крепеж в основание.

Более полно понять принцип работы позволит устройство порохового монтажного пистолета. Несмотря на разницу в производителе и дизайне, оно у всех представленных на рынке моделей примерно одинаковое.

УСТРОЙСТВО

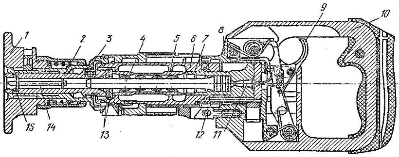
Типовое устройство порохового строительного пистолета выглядит следующим образом:

-2
  1. направитель,
  2. наконечник,
  3. поршень,
  4. рассекатель,
  5. муфта,
  6. ствол,
  7. коробка,
  8. спусковой крючок,
  9. рукоять,
  10. монтажный патрон,
  11. соединительная ось,
  12. амортизатор,
  13. гвоздь,
  14. шариковый фиксатор.

Крепеж помещается напрямую в ствол. Чтобы предотвратить его выпадение используется шариковый фиксатор, а для лучшей центровки – металлическая шайба, установленная непосредственно за наконечником гвоздя. И поскольку после установки она играет роль шляпки, дополнительно удерживающей прикрепляемый материал, шайба всегда имеет антикоррозийное покрытие.

-3

Высокая мощность устройства обеспечивает начальную скорость дюбель-гвоздя практически до 100 м/с, что исключает возможность его рикошета. Сам поршень разгоняется лишь на первых 25-35 мм ствола, после чего производится выброс пороховых газов в полости муфты через рассекатель. Его торможение при этом происходит за счет сопротивления крепежа, вгоняемого в плотную основу. Дополнительно ход поршня ограничивают амортизаторы, не позволяющие ему осуществить сквозное пробитие метизом тонкой основы.

Пружинный прижим, установленный во фронтальной части и требующий нажатия на инструмент во время пристрелки, обеспечивает перпендикулярность вхождения метиза в основу, играет роль системы защиты от случайного выстрела в воздух и предотвращает раскрашивание бетонного или железобетонного основания при выстреле, попутно защищая рабочего от осколков.

Помимо указанного на схематичном рисунке пистолета, в котором каждый патрон устанавливается вручную путем «перелома» инструмента пополам, существуют также полуавтоматические модели с автоподачей патронов и дополнительной направляющей для гвоздей. Эти дополнения позволяют еще более ускорить монтаж и реже отвлекаться на перезарядку.

ГАЗОВЫЙ МОНТАЖНЫЙ ПИСТОЛЕТ.

-4
-5

ПРИНЦЫП РАБОТЫ

При нажатии курка в камеру сгорания подается порция газа. После этого включается вентилятор, который смешивает пропан-бутан с воздухом. Затем с помощью тока создается искра, которая поджигает газовую смесь. Происходит небольшой взрыв прямо как в камере сгорания. Расширяющийся газ толкает поршень, который передает энергию на боек, забивающий гвоздь или дюбель.

Отработанный газ выпускается через систему охлаждения спереди. В конце движения поршень врезается в резиновый отбойник и его немного отбрасывает назад. Так он перекрывает выпускные отверстия. Благодаря этому в камере сгорания происходит обратное сжатие газа, которое вытягивает поршень назад.

Заметим, что современные газовые пистолеты для дюбелей и гвоздей имеют защиту от случайного срабатывания. Чтобы забить гвоздь, нужно прижать носик инструмента к рабочей поверхности. Только тогда камера сгорания закроется. А без этого просто нельзя произвести выстрел.

Также важно отметить, что газ не полностью сгорает во время выстрела, поэтому при работе в закрытом помещении обязательно нужно проветривание.

УСТРОЙСТВО

Для работы газового пистолета понадобится аккумулятор и баллончик с газом. Об аккумуляторе особо беспокоиться не нужно. Поскольку он используется только для создания искры в камере сгорания, то и расход энергии минимален. Так что заряжать его вы будете редко. Что касается газа, то в среднем при работе с металлом и бетоном одного баллончика хватает примерно 800 – 1500 выстрелов, а при работе с деревом или гипсокартоном – на 2000 – 2500 выстрелов. Главное не забыть поменять режим выстрела. Однако помните, что если баллончик уже вставлен в пистолет, то газ будет постепенно выходить через уплотнительную прокладку. Поэтому лучше использовать баллончик полностью.

Кроме замены баллончика и зарядки аккумулятора газовому пистолету особо ничего не нужно. Разве что иногда нужно чистить камеру сгорания.