Добавить в корзинуПозвонить
Найти в Дзене
Старый радио любитель

Старые книги. О.Г. Туторский. Простейшие любительские передатчики и приемники УКВ. 1952 год МРБ №135.

Я писал об интереснейшем человеке Олеге Георгиевиче Туторском и в комментариях меня попросили рассказать о его книгах. Как ни странно, хотя Олег Георгиевич в своей работе был теснейшим образом связан с короткими волнами, а его книги - об УКВ. Мне кажется, что в этом виден его интерес к новым областям радиотехники. В начале 50-х освоение УКВ у нас только начиналось, и, как в случае с КВ в 30-х, "бросовый" диапазон отдали радиолюбителям, чтобы они занялись его освоением. Был выделен диапазон 85 - 87 МГц. В начале книги автор знакомит с особенностью распространения ультракоротких вол, возможности их отражения от разных слоев атмосферы и ионосферы, а также от неоднородностей в атмосфере. К достоинством связи на УКВ автор относит низкий уровень природных и промышленных помех, малые размеры антенн, что позволяет делать их остронаправленными. Но есть и недостатки, связанные с усложнением конструирования аппаратуры, повышение требований к качеству комплектующих. Так, он рекомендует использов
Рис. 1. Из книги О.Г. Туторский. Простейшие любительские передатчики и приемники УКВ.
Рис. 1. Из книги О.Г. Туторский. Простейшие любительские передатчики и приемники УКВ.

Я писал об интереснейшем человеке Олеге Георгиевиче Туторском и в комментариях меня попросили рассказать о его книгах.

Как ни странно, хотя Олег Георгиевич в своей работе был теснейшим образом связан с короткими волнами, а его книги - об УКВ. Мне кажется, что в этом виден его интерес к новым областям радиотехники.

В начале 50-х освоение УКВ у нас только начиналось, и, как в случае с КВ в 30-х, "бросовый" диапазон отдали радиолюбителям, чтобы они занялись его освоением. Был выделен диапазон 85 - 87 МГц.

В начале книги автор знакомит с особенностью распространения ультракоротких вол, возможности их отражения от разных слоев атмосферы и ионосферы, а также от неоднородностей в атмосфере.

К достоинством связи на УКВ автор относит низкий уровень природных и промышленных помех, малые размеры антенн, что позволяет делать их остронаправленными. Но есть и недостатки, связанные с усложнением конструирования аппаратуры, повышение требований к качеству комплектующих. Так, он рекомендует использовать только керамические или воздушные конденсаторы, керамические изоляторы, укорачивать выводы деталей.

В качестве простого приемника предлагаются сверхрегенераторы. но указывается на их существенные недостатки: малую избирательность, сильный "примусный" шум, собственное излучение в антенну, мешающее другим приемникам. Но их простота ...

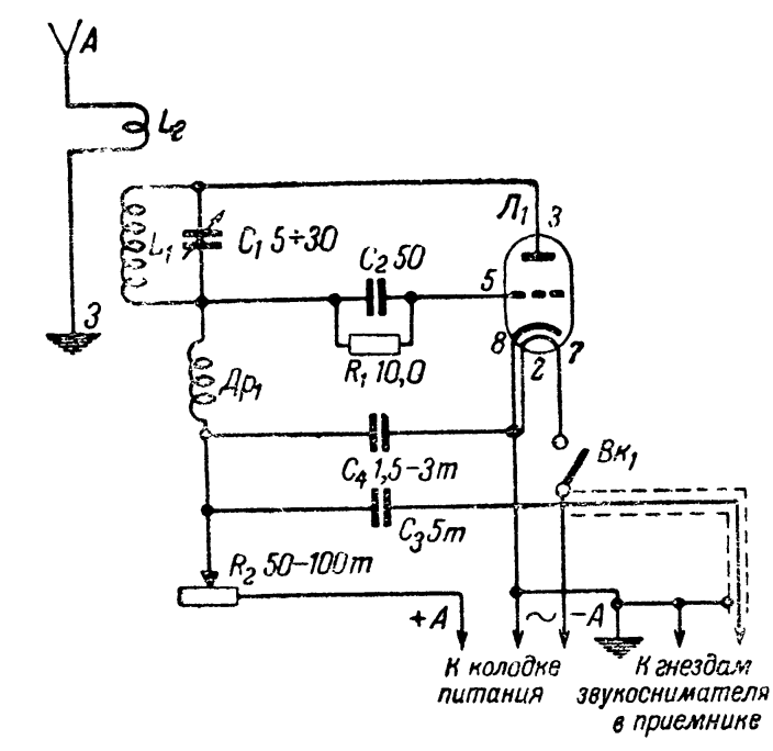
И, вот, в качестве первого шага предлагается сделать сверхрегенеративную приставку к вещательному приемнику.

Рис. 2. Из книги О.Г. Туторский. Простейшие любительские передатчики и приемники УКВ.
Рис. 2. Из книги О.Г. Туторский. Простейшие любительские передатчики и приемники УКВ.

Схема из серии "проще некуда", приставка соединяется с приемником переходной колодкой, через которую от приемника поступает питание лампы, а через двухпроводной шнур на вход звукоснимателя поступает сигнал от приставки. С помощью резистора R2 устанавливается необходимый режим сверхрегенерации, а конденсатор С1 перестраивает приставку по частоте. Очень интересно, что на схеме и сопротивление R2 и емкость С4 и С3 измеряется в "m". Оказывается, сто это тысячи: у резистора - Ом, у конденсаторов - пФ. Еще одна загадка: почему в схеме изображен триод, а рекомендуется использовать высокочастотный пентод 6Ж8, цоколевка которой даже приблизительно не совпадает с приведенной на рисунке.

В первый раз встретил тип переменного резистора "мастичный". Оказывается, название связано с особенностями конструкции и внешнего вида, где в качестве материала покрытия использовалась мастика — вязкий герметик, покрывавший контактные элементы и предотвращавший попадание влаги и пыли внутрь корпуса. К их достоинствам относилось: широкий диапазон номинальных значений сопротивления., высокая устойчивость к воздействию окружающей среды, надежность и долговечность при правильном применении.

Вторая конструкция - тоже сверхрегенератор, но уже я УНЧ и питанием от сети.

Рис. 3. Из книги О.Г. Туторский. Простейшие любительские передатчики и приемники УКВ.
Рис. 3. Из книги О.Г. Туторский. Простейшие любительские передатчики и приемники УКВ.

И здесь сразу бросилось в глаза: "Первая ступень на лампе 6Ж5 или 6С5 ....". Стало ясно, что и в первой конструкции именно 6С5, но как же включить 6Ж5? Первый каскад - сверхрегенеративный детектор, два остальных - УНЧ. Думаю, молодежь удивится единице измерения емкости "мкмкф" - микро микро фарада, по нашему - пикофарада.

В качестве следующей конструкции предлагается та же схема, но выполненная на батарейных лампах.

Рис. 4. Из книги О.Г. Туторский. Простейшие любительские передатчики и приемники УКВ.
Рис. 4. Из книги О.Г. Туторский. Простейшие любительские передатчики и приемники УКВ.

Во всех каскадах используются низкочастотные лучевые тетроды 2П1П.

Следующая схема - простейший трансивер.

Рис. 5. Из книги О.Г. Туторский. Простейшие любительские передатчики и приемники УКВ.
Рис. 5. Из книги О.Г. Туторский. Простейшие любительские передатчики и приемники УКВ.

В режиме приема Л1 (6Ж5) работает как сверхрегенеративный детектор, НЧ-сигнал через трансформатор Тр1 подается на сетку Л1 (6Ж5) первого каскада УНЧ, а затем усиленный сигнал подается на оконечный УНЧ на лучевом тетроде Л3 (30П1М). Его нагрузкой является выходной трансформатор Тр2, к вторичной обмотке которого подключается динамик.

При передаче Л1 работает как автогенератор по схеме емкостной трехточки с анодной модуляцией. Микрофон угольный, подключается к обмотке Тр1, модулирующее напряжение снимается с анода Л3. Питание от сети переменного тока 120 В без трансформатора с кенотроном в выпрямителе.

Трансивер может обеспечить связь в диапазоне 85 - 87 МГц с однотипным аппаратом на расстоянии 5 - 7 км.

Далее предлагается передатчик в конструкции которого используется высокодобротный резонатор. Передатчик состоит из двух частей: генератора и модулятора.

Рис. 6. Из книги О.Г. Туторский. Простейшие любительские передатчики и приемники УКВ.
Рис. 6. Из книги О.Г. Туторский. Простейшие любительские передатчики и приемники УКВ.

В генераторе по схеме индуктивной трехточки работает лучевой тетрод 6V6 с выходной мощностью около 5 Вт. Катушкой контура в виде скобы выполнена из меди или латуни толщиной 0,5-1 мм. Модуляция анодная.

Рис. 7. Из книги О.Г. Туторский. Простейшие любительские передатчики и приемники УКВ.
Рис. 7. Из книги О.Г. Туторский. Простейшие любительские передатчики и приемники УКВ.

Модулятор двухламповый.

Рис. 8. Из книги О.Г. Туторский. Простейшие любительские передатчики и приемники УКВ.
Рис. 8. Из книги О.Г. Туторский. Простейшие любительские передатчики и приемники УКВ.

Предварительный усилитель на 6С5 (или 6Ж5), оконечный усилитель на 6П3. Обратите внимание, что у модулятора есть вход ... звукоснимателя! Да это же УКВ-"шарманка"! И диапазон - то теперешний ФМ, вот только карманных УКВ-приемников тогда не было, а жаль.

Следующая конструкция - передатчик с кварцевой стабилизации частоты и относительно высокой выходной мощности.

Рис. 9. Из книги О.Г. Туторский. Простейшие любительские передатчики и приемники УКВ.
Рис. 9. Из книги О.Г. Туторский. Простейшие любительские передатчики и приемники УКВ.

Кварцевый генератор на частоту 9,6 МГц работает на утроенной частоте кварца 3,2 МГц и собран на одном триоде лампы 6Н7С, а на втором ее триоде - утроитель, на выходе которого частота сигнала будет равна 28,8 МГц. на Л2 собран еще один умножитель-усилитель. Если в задающем генераторе использовать кварц на частоту 9,5 МГц, то на выходе можно получить сигнал с частотой 82,5 МГц. Оконечный усилитель двухтактный, на двойном лучевом тетроде 832.

Рис.  10. С сайта https://www.radiomuseum.org/tubes/tube_832a.html
Рис. 10. С сайта https://www.radiomuseum.org/tubes/tube_832a.html

На нее очень похожа ГУ-32, да и мощность похожая - 15 Вт.

Модуляция амплитудная, на анод выходной лампы осуществляется с отдельного модулятора, схема которого приведена ниже.

Рис. 11. Из книги О.Г. Туторский. Простейшие любительские передатчики и приемники УКВ.
Рис. 11. Из книги О.Г. Туторский. Простейшие любительские передатчики и приемники УКВ.

На закуску - схема конвертера, которая позволяет принимать любительские УКВ-радиостанции на радиовещательный средневолновый приемник.

Рис. 12. Из книги О.Г. Туторский. Простейшие любительские передатчики и приемники УКВ.
Рис. 12. Из книги О.Г. Туторский. Простейшие любительские передатчики и приемники УКВ.

На пентоде Л1 (6Ж3П) собран резонансный УВЧ, контуры которого настроены на середину рабочего диапазона 85 - 87 МГц. На левом триоде Л2 (6Н15П) собран смеситель, а на правом - перестраиваемый гетеродин. Резонансные контуры, образованные обмотками трансформатора Тр1 и конденсаторами С8 и С12 настроены на частоту ПЧ=1,5 МГц. На лампе Л3 (6Ж3П) является усилителем частоты 1,5 МГц.

При работе с супергетеродинным приемником данный конвертер обеспечивает чувствительность 1-2 мкВ.

Все конструкции имеют подробное описание изготовления и наладки.

Последний раздел книги посвящен антеннам УКВ, но никаких откровений не содержит: полуволновой диполь, петлевой диполь, вертикальный диполь и трехэлементный волновой канал.

Всем здоровья и успехов!