Найти в Дзене
Чертежи с размерами

Грядка вокруг парника своими руками. Чертежи с размерами.

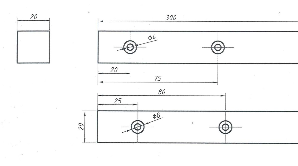
Ни для одного дачника не секрет что уборка травы вокруг парника связана с вероятностью повреждения покрывного материала. Я выполнил защиту в виде узких грядок. Грядки сделал с использованием тонкостенной, квадратной, оцинкованной трубы 20х20 и досок 25х100. Получилось симпатично и надёжно. Весь процесс изготовления на фото. Длину досок каждый для себя выбирает индивидуально. Такие грядки можно ставить где угодно, не только вокруг парника) Мои поделки: https://dzen.ru/id/679c72620d120b0ce90a96c6
грядка_1
грядка_1

Ни для одного дачника не секрет что уборка травы вокруг парника связана с вероятностью повреждения покрывного материала. Я выполнил защиту в виде узких грядок. Грядки сделал с использованием тонкостенной, квадратной, оцинкованной трубы 20х20 и досок 25х100. Получилось симпатично и надёжно. Весь процесс изготовления на фото. Длину досок каждый для себя выбирает индивидуально. Такие грядки можно ставить где угодно, не только вокруг парника)

грядка_1ч
грядка_1ч
грядка_2
грядка_2
грядка_3
грядка_3
грядка_4
грядка_4
грядка_5
грядка_5
грядка_6
грядка_6

Мои поделки: https://dzen.ru/id/679c72620d120b0ce90a96c6