Добавить в корзинуПозвонить
Найти в Дзене
Старый радио любитель

Отвечаю на вопросы читателю Валерию Г..

В комментариях к статье о формирователе для осциллографа на логических элементах 2И-НЕ читатель Ввалерий Г. предложил попробовать простейшую схему формирователя импульсов из сигналов произвольной формы. Я прошу читателей, задающих вопросы по схемам давать более точные ссылки на источники, а то "журнал Радио" - очень уж широкий запрос для поиска. Хорошо, что в конце статьи приведен номер журнала и год его выпуска. Но все равно пришлось листать журналы с ноября 1971 до октября 1972. Вот в №10 за 1972 год в разделе "За рубежом" и была опубликована данная схема. Эта схема формирует не прямоугольные импульсы, которые можно использовать для подачи на вход частотомера, а короткие двуполярные остроконечные импульсы. В основе этой схемы простейший триггер Шмитта на транзисторах. Триггер Шмитта ) является двухкаскадным усилителем с положительной обратной связью (ПОС). Когда на входе напряжение отсутствует (близко к 0), то VT1 закрыт и ток через него тоже практически отсутствует. А это значит, ч

В комментариях к статье о формирователе для осциллографа на логических элементах 2И-НЕ читатель Ввалерий Г. предложил попробовать простейшую схему формирователя импульсов из сигналов произвольной формы.

Рис. 1.
Рис. 1.

Я прошу читателей, задающих вопросы по схемам давать более точные ссылки на источники, а то "журнал Радио" - очень уж широкий запрос для поиска. Хорошо, что в конце статьи приведен номер журнала и год его выпуска. Но все равно пришлось листать журналы с ноября 1971 до октября 1972.

Вот в №10 за 1972 год в разделе "За рубежом" и была опубликована данная схема.

Рис. 2.
Рис. 2.

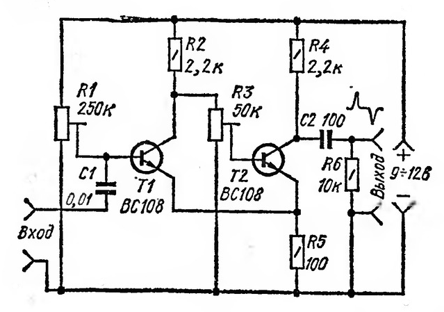
Эта схема формирует не прямоугольные импульсы, которые можно использовать для подачи на вход частотомера, а короткие двуполярные остроконечные импульсы.

В основе этой схемы простейший триггер Шмитта на транзисторах.

Рис. 3.
Рис. 3.

Триггер Шмитта ) является двухкаскадным усилителем с положительной обратной связью (ПОС). Когда на входе напряжение отсутствует (близко к 0), то VT1 закрыт и ток через него тоже практически отсутствует. А это значит, что падение напряжения на резисторе R2 равно 0, а, следовательно, на коллекторе VT1 существует напряжение практически равное Uпит, которое открывает VT2. Эмиттерный ток VT2 создаёт падение напряжения на R3, которое дополнительно закрывает VT1, так как на его эмиттере потенциал будет более положительный, чем на базе и переход Б-К будет смещен в обратном направлении. На коллекторе открытого транзистора транзистора VT2, а, следовательно, и на выходе напряжение будет равно напряжению на его эмиттере, которое малО.

Если Uвх превысит напряжение на эмиттере VT1, то он откроется и перейдёт в насыщение, т.е через него будет течь достаточно большой ток, а сопротивление канала К-Э будет мало. В результате потенциалы базы и эмиттера VT2 будут равны. VT2 закроется, ток через него практически прекратится и падение напряжения на резисторе R3 будет близко к 0, при этом на выходе устанавливается напряжение, равное напряжению питания.

Неотъемлемым свойством триггера Шмитта является наличие гистерезиса: переход от низкого уровня к высокому на выходе происходит при несколько другом напряжении на входе, чем при переходе от высокого уровня к низкому.

Работу триггера Шмитта иллюстрирует график, размещенный ниже.

Рис. 4.
Рис. 4.

Если уровень сигнала на входе меньше Uвкл, то триггер на этот сигнал не реагирует.

Теперь вернемся к схеме на рис. 2. С помощью подстроечных резисторов R1, R3 можно независимо регулировать Uвкл и Uвыкл, а кроме того, резистор R1 позволяет увеличить чувствительность триггера по переменному току. На коллекторе Т2 присутствуют прямоугольные импульсы, а с помощью дифференцирующей цепочки C2, R6 они превращаются в короткие остроугольные импульсы. Очень интересно, что в статье предлагается подавать эти остроугольные импульсы ..... на другой триггер. В чем смысл преобразования прямоугольных импульсов в остроугольные, а затем обратно? Думаю, это неточности перевода :)),

Модель в LTspice показала тоже самое.

Рис. 5.
Рис. 5.

Это с идеальными транзисторами. А с реальными ,,,,,

Рис. 6.
Рис. 6.

На частоте 10 МГц схема не работает, а начинает работать только с 200 кГц, а, лучше, с 100 кГц

Рис. 7.
Рис. 7.

Думаю, что с более высокочастотными транзисторами, имеющими меньшую входную емкость, схема будет работать и на частотах в 10 МГц. Почему-то в статье не указывается диапазон рабочих частот формирователя, а, судя по характеристикам ВС108, которые хуже заменяющих из КТ315 (примерно эквивалентных по частотным свойствам 2N3904), даже наши транзисторы могут работать на более высоких частотах. А вот на низких частотах схема работает отменно.

На низких частотах хорошо видна зависимость напряжения включения и выключения от напряжения на базах Q1 и Q2.

Рис. 8.
Рис. 8.
Рис. 9.
Рис. 9.
Рис. 10.
Рис. 10.

Это теория, которую нужно проверить на практике.

Всем здоровья и успехов!