Добавить в корзинуПозвонить
Найти в Дзене
J-Phone.ru

Kyocera запатентовала уникальный чехол для TORQUE G07?

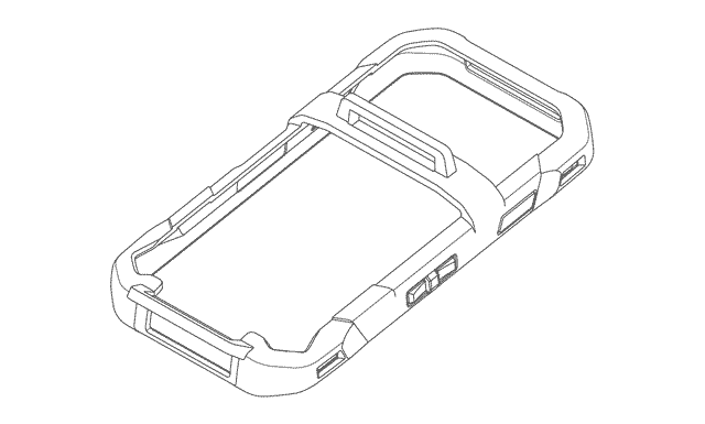
Японское патентное бюро J-Platpat опубликовало документ за номером 1796149, в котором приводится схематическое изображение некоего чехла, судя по очертаниям, предназначенного для одного из смартфонов Kyocera серии TORQUE или Duraforce. В пояснительном описании к патенту значится дословно следующее: Данное изделие представляет собой чехол для портативного информационного терминала, который прикрепляется к портативному информационному терминалу или подобному устройству. Продев отдельный ремень через «вставную часть 1» и «вставную часть 2» на задней стороне изделия и закрепив его на руке пользователя, можно предотвратить падение портативного информационного терминала с тела. Кроме того, благодаря тому, что область над «секции вставки 1» широко открыта, когда вставлен ремень и удерживается рука, рука пользователя не мешает углу обзора секции камеры портативного информационного терминала, что облегчает фотосъемку.
Кроме того, благодаря широкому проему между «частью вставки 1» и «частью вста

Японское патентное бюро J-Platpat опубликовало документ за номером 1796149, в котором приводится схематическое изображение некоего чехла, судя по очертаниям, предназначенного для одного из смартфонов Kyocera серии TORQUE или Duraforce.

-2
-3

В пояснительном описании к патенту значится дословно следующее:

Данное изделие представляет собой чехол для портативного информационного терминала, который прикрепляется к портативному информационному терминалу или подобному устройству. Продев отдельный ремень через «вставную часть 1» и «вставную часть 2» на задней стороне изделия и закрепив его на руке пользователя, можно предотвратить падение портативного информационного терминала с тела. Кроме того, благодаря тому, что область над «секции вставки 1» широко открыта, когда вставлен ремень и удерживается рука, рука пользователя не мешает углу обзора секции камеры портативного информационного терминала, что облегчает фотосъемку.
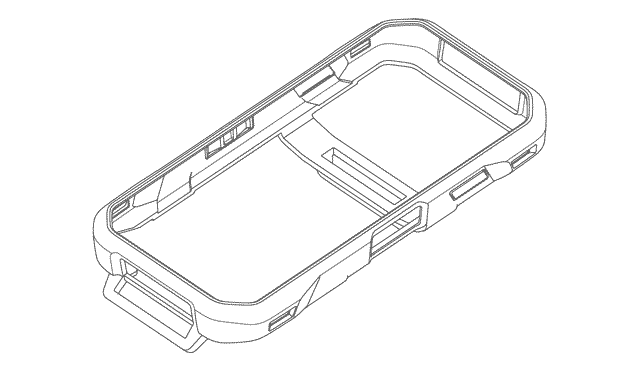
Кроме того, благодаря широкому проему между «частью вставки 1» и «частью вставки 2» крышка на задней стороне портативного информационного терминала может открываться и закрываться, пока изделие все еще прикреплено, что облегчает процесс замены батареи в портативном информационном терминале. Пример состояния, в котором данное изделие прикреплено к портативному информационному терминалу и через него продет ремень, показан на «Справочном рисунке 1, иллюстрирующем состояние использования».
Кроме того, пример состояния, когда крышка открыта, показан на «Справочном РИС. 2, демонстрирующем состояние, в котором используется устройство». Кроме того, примеры состояния, в котором рука или кисть вставлены в ремень, показаны на «Справочном рис. 3, демонстрирующем состояние использования» и «Справочном рис. 4, демонстрирующем состояние использования».

-4

Как видно из описания и по схемам, чехол оборудован специальным ремнем, позволяющим крепить его на запястье или на пальцах. "Липучка" поможет зафиксировать ремень на нужной длине.

-5
-6

Однако важно не это, а модель телефона, для которой этот чехол создан. Детально изучив все модели серии TORQUE, я не смог найти подходящий по составным элементам вариант. Закралась мысль, что перед нами чехол для еще невыпущенного TORQUE G07. Но пытливый ум не давал покоя. Было решено изучить линейку уже выпущенных смартфонов Duraforce. И тут я понял, что представленный чехол предназначен для модели Kyocera Duraforce EX, все элементы дизайна которого идеально совмещались с изгибами и отверстиями чехла. Чуда не случилось.

-7

Полный текст новости: https://j-phone.ru/mainnews/4621-kyocera-zapatentovala-unikalnyj-chekhol-dlya-torque-g07.html

Есть что добавить? Пишите в комментариях.

-8

Еще много интересных статей и обзоров на нашем сайте J-Phone.ru

Следите за нами в Телеграм, Вконтакте, Rutube, Youtube