Добавить в корзинуПозвонить
Найти в Дзене
OVERCLOCKERS.RU

Asetek лишилась патента на конструкцию замкнутой СЖО с интегрированным в водоблок насосом

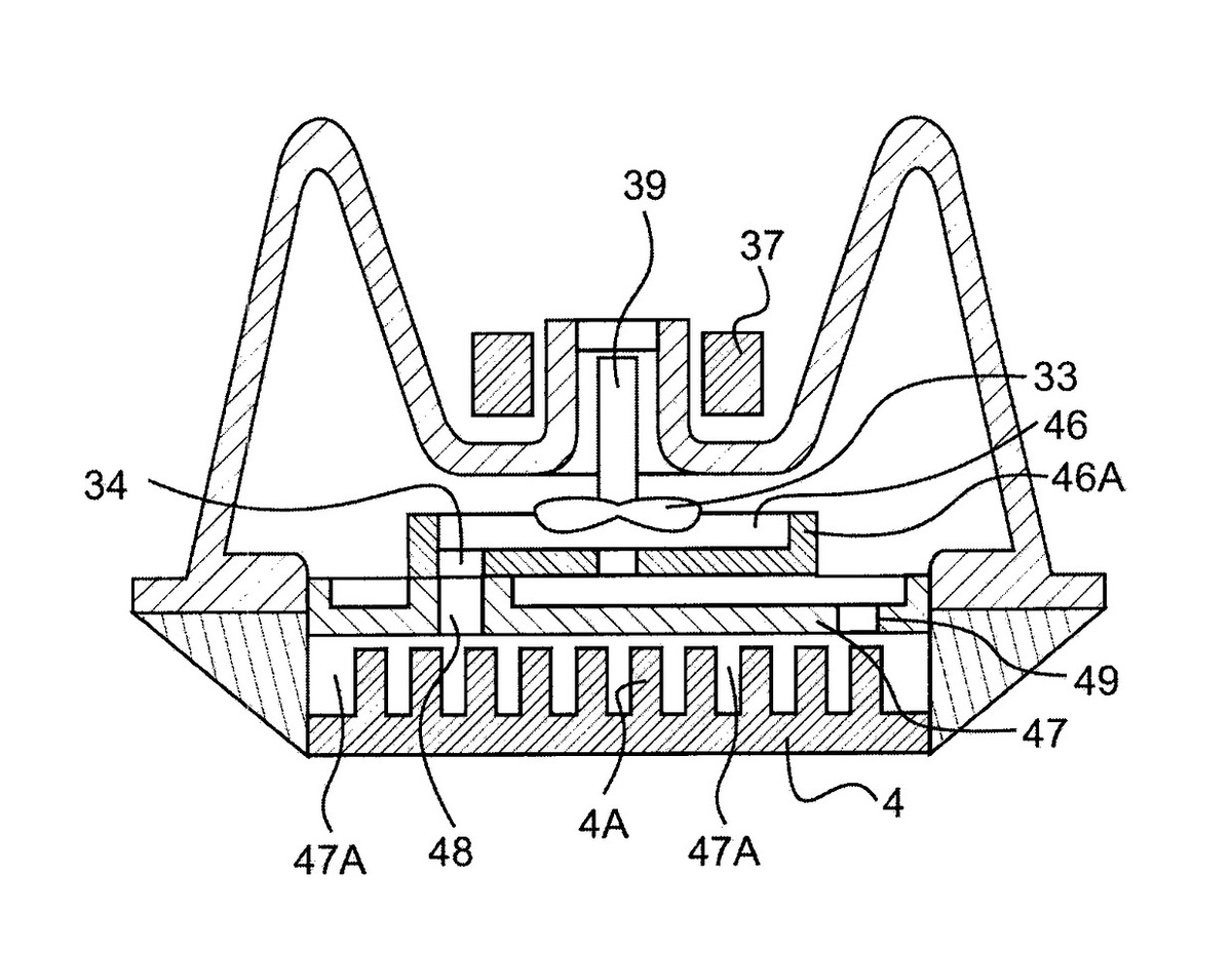
Ключевой патент датской компании Asetek, который более 20 лет обеспечивал ей доминирующее положение на рынке замкнутых жидкостных систем охлаждения (AIO), официально прекратил своё действие. Этот патент, зарегистрированный как PCT/DK2005/000310 и US8240362, позволял компании блокировать других производителей от использования конструкции с насосом внутри водоблока, заставляя их лицензировать технологии или разрабатывать обходные решения. С момента его истечения другие бренды получили возможность создавать аналогичные системы без уплаты роялти. Это событие может стать точкой отсчёта для нового этапа в развитии рынка - ранее ограничения Asetek тормозили появление оригинальных решений, что делало рынок монопольным и малодоступным для новых игроков. Лишь последние годы принесли некоторые инновации, которые обходили действующий патент. Теперь, когда барьер исчез, Asetek теряет одно из своих главных юридических преимуществ. Хотя это не значит, что на рынке сразу появятся десятки новых компани

Ключевой патент датской компании Asetek, который более 20 лет обеспечивал ей доминирующее положение на рынке замкнутых жидкостных систем охлаждения (AIO), официально прекратил своё действие. Этот патент, зарегистрированный как PCT/DK2005/000310 и US8240362, позволял компании блокировать других производителей от использования конструкции с насосом внутри водоблока, заставляя их лицензировать технологии или разрабатывать обходные решения.

С момента его истечения другие бренды получили возможность создавать аналогичные системы без уплаты роялти. Это событие может стать точкой отсчёта для нового этапа в развитии рынка - ранее ограничения Asetek тормозили появление оригинальных решений, что делало рынок монопольным и малодоступным для новых игроков. Лишь последние годы принесли некоторые инновации, которые обходили действующий патент.

-2

Теперь, когда барьер исчез, Asetek теряет одно из своих главных юридических преимуществ. Хотя это не значит, что на рынке сразу появятся десятки новых компаний, освобождение технологии может стимулировать развитие продуктов, предложенных другими брендами.

Сама Asetek уже заявила в одном из финансовых отчётов, что получила предложения от сторонних фирм о покупке её подразделения по производству СЖО, что указывает на возможное выход из этой ниши в будущем.

Хотя рынок жидкостного охлаждения остаётся сложным и малорентабельным, особенно для массового потребителя, истечение патента открывает пространство для свободной разработки и потенциального снижения цен на готовые решения. Для пользователей это может означать больше выбора, а для производителей - шанс предложить новые подходы в конструкции и эффективности охлаждения.