Найти в Дзене
Валерий - моделист

Делаем модель цистерны для поливинилхлорида 15-1498. ч.1.

Привет всем моделистам и им сочувствующим. Перед прочтением не забудьте подписаться, поделится с друзьями. Сегодня я начну делать модель интересной цистерны под поливинилхлорид. Что это за вещество и почему для него нужна отдельная цистерна. Читаем у нейро: Поливинилхлорид (ПВХ) — бесцветная, прозрачная пластмасса, термопластичный полимер винилхлорида. Международное обозначение — PVC Некоторые свойства: Применение: Впервые получен французским химиком Анри Виктором Реньо в 1835 году, затем, в 1872 году, исследован[уточнить] немецким химиком Ойгеном Бауманом. Широкое применение получил после 1926 года, когда американский химик Уалдо Лонсбери Семон изобрёл способ улучшения эластичности полимера. Недостатки. Длительное воздействие ультрафиолета, например при попадании прямых солнечных лучей на изделия из ПВХ, может привести к фотодеструкции, вследствие чего изделие теряет эластичность и прочность. Для предотвращения этого явления в состав ПВХ вводят светопоглощающие красители, что позволя

Привет всем моделистам и им сочувствующим. Перед прочтением не забудьте подписаться, поделится с друзьями.

Сегодня я начну делать модель интересной цистерны под поливинилхлорид.

Что это за вещество и почему для него нужна отдельная цистерна.

Читаем у нейро: Поливинилхлорид (ПВХ)бесцветная, прозрачная пластмасса, термопластичный полимер винилхлорида.

Международное обозначение — PVC

Некоторые свойства:

  • отличается химической стойкостью к щелочам, минеральным маслам, многим кислотам и растворителям; 
  • в чистом виде не поддерживает горение на воздухе, но огнестойкость пластмасс на его основе зависит от использованных добавок; 
  • обладает малой морозостойкостью (−15 °C); 
  • нагревостойкость: +66 °C.

Применение:

  • электроизоляция проводов и кабелей; 
  • производство листов, труб, оконных рам, плёнок, плёнок для натяжных потолков, искусственных кож, поливинилхлоридного волокна, пенополивинилхлорида, линолеума, грязезащитных ковриков, обувных пластикатов, мебельной кромки и т. д.; 
  • производство «виниловых» грампластинок; 
  • использование в качестве материала для прозрачных защитных штор, так называемых «мягких окон»; 
  • применение в одежде и аксессуарах для создания подобного коже материала, отличающегося гладкостью и блеском; 
  • использование как уплотнитель в бытовых и профессиональных холодильниках; 
  • применение в пиротехнике как источник хлора, необходимого для создания цветных огней.

Впервые получен французским химиком Анри Виктором Реньо в 1835 году, затем, в 1872 году, исследован[уточнить] немецким химиком Ойгеном Бауманом. Широкое применение получил после 1926 года, когда американский химик Уалдо Лонсбери Семон изобрёл способ улучшения эластичности полимера.

Недостатки.

Длительное воздействие ультрафиолета, например при попадании прямых солнечных лучей на изделия из ПВХ, может привести к фотодеструкции, вследствие чего изделие теряет эластичность и прочность. Для предотвращения этого явления в состав ПВХ вводят светопоглощающие красители, что позволяет ограничиться деградацией слоя толщиной около 0,05 мм, который изменяет свой цвет (процесс «отбеливания», «выгорания»). Также, одежда из ПВХ не подлежит стирке и сухой чистке. После стирки ткань «задубеет», а после химчистки появится дефект «раздублирования»

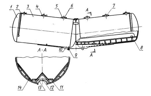
Вот так выглядит цистерна под этот продукт выпуска 1971-86 годов.

Наш образец.
Наш образец.

Приведем ее параметры.

Назначение: для бестарной перевозки поливинилхлорида

  • Номер проекта 149800000
  • Технические условия ТУ 24 00.262-82
  • Модель вагона 15-1498
  • Тип вагона
  • Изготовитель ПО "Ждаиовтяжмаш"
  • Грузоподъемность, т 55,5
  • Масса тары вагона, т 30,35
  • Нагрузка :
  • статическая осевая, кН(тс) 210,45 (21,46)
  • погонная, кН/м (тс/м) 53,54 (5,46)
  • Объем котла, м3: полный 99,2, полезный 92,2
  • Скорость конструкционная, км/ч 120
  • Габарит 1-ВМ(0-Т)
  • База вагона, мм 11500
  • Длина, мм:
  • по осям сцепления автосцепок 15720
  • по концевым балкам рамы 14500
  • Высота от уровня верха головок
  • рельсов максимальная, мм 4550
  • Количество осей, шт 4. Модель 2-осной тележки 18-100
  • Диаметр котла внутренний, мм 3000
  • Длина котла наружная, мм 14488
  • Условное рабочее давление в котле (по регулировке предохранительного клапана), Мпа (кгс/см2) 0,22 (2,2)
  • Удельный объем, м3/т 1,66
  • Давление в котле, Мпа (кгс/см2): при разгрузке 0,2 (2,0), при загрузке нет
  • Производительность выгрузки, т/ч 61,7
  • Количество люков, шт.: загрузочных 4, лазовых 2
  • Количество аэролотков, шт. 4
  • Диаметр люка, мм: лазового 575, загрузочного 400
  • Диаметр разгрузочного патрубка, мм 100
  • Давление создаваемое в котле при гидравлическом испытании, Мпа (кгс/см2) 0,3 (3,0)
  • Допускаемая температура загружаемого продукта, оС +80
  • Количество секций котла, шт. 2
  • Угол наклона секций к горизонту, град 6
  • Год постановки на серийное производство 1971
  • Год начала производства — 1971. Год последней модернизации — 1986. Изготовитель — Производственное объединение «Азовмаш», г. Мариуполь.

Чертеж.

Разрезы показывают внутренне строение.
Разрезы показывают внутренне строение.

И такой есть.

через / показаны примерные размеры под масштаб HO.
через / показаны примерные размеры под масштаб HO.

Судя по опыту работы с моделями мало кто соблюдает размеры модели, т.к. они получаются немного большими, поэтому мы немного отойдем от написанных после / цифр.

Для начало мы возьмем заготовки для цистерны. Это будет нами любимая труба 32мм. Как мы видим из чертежа нам нужно 34мм. Я думаю, что это небольшая разница и она будет не заметна. Исходя из этого размера рассчитаем все остальные.

Сделали две заготовки, но пока закрыли только по одной стороне у каждой.

Заготовки из 32 трубы.
Заготовки из 32 трубы.

-5

Теперь их нужно соединить как на чертеже с углом 6 гр. Причем они должны немного входить друг в друга. Для этого в одном донышке делаем отверстие со смещением, где то 20мм в диаметре.

В правой заготовке сделано отверстие 20мм со смещение от центра.
В правой заготовке сделано отверстие 20мм со смещение от центра.

И теперь достаточно их склеить наложив друг на друга. Для надежности скрепляем шурупом с использованием большой шайбы диаметром 32мм внутри.

Получилась вот такая конструкция.

Склеили под углом 6гр.
Склеили под углом 6гр.

Теперь делаем люки. Их должно быть 4-е загрузочных и два смотровых. Для этой цели сверлим четыре отверстия по 5мм и два 8мм.

Отверстия под люки.
Отверстия под люки.

Для изготовления люков лучше всего подходят конденсаторы, которых у меня в изобилии. 5.5 мм для загрузочных люков и 8.2мм для смотровых. Главное не ошибиться с высотой. Высоту возвышения люков делаем у всех одинаково 1мм.

Кондесаторы вместо люков.
Кондесаторы вместо люков.

Теперь останется сделать крышки и запоры на них.

Рама.

Сделали из силикона форму для заливки рамы, вернее сделали раму из пластилина и залили силиконом. Получилась форма.

Форма для рамы.
Форма для рамы.

Форму заливаем эпоксидной смолой, проложив по центру проволоку для прочности.

Ультрофиолет делает свое дело.
Ультрофиолет делает свое дело.

Получили заготовку рамы из смолы несколько в очень не потребном виде,

Полученная заготовка.
Полученная заготовка.

но смола дает возможность исправить все недочеты. Если в процессе заливки образовались пустоты, это не беда. Спокойно можно капать в них смолу, прогревать лампой и ровнять напильником. Точно также можно добавлять, если что то забыли сделать в форме. Так я сделал подставки под цистерну, для которых пришлось бы делать сложную, двухстороннюю форму. И не факт, что получилось бы лучше.

Для соединения рамы с бочками сделали прорезь снизу , как на оригинале.

Прорези в бочках для установки рамы.
Прорези в бочках для установки рамы.

Получилось вот так.

Проверка установка и рамы.
Проверка установка и рамы.

После сверления, нарезки резьбы и установки тележек цистерна начала приобретать вид.

Первая постановка на рельсы в полусобранном виде.
Первая постановка на рельсы в полусобранном виде.

Теперь займемся мелочами, которые иногда играют решающую роль в модели.

Можно сделать модель без мелочей, таких как люки на цистерне, подкладки под бочками, заклепки, лестницы и модель будет выглядеть блеклой, поэтому надо их сделать.

Берем обыкновенную палочку для мороженного и превращаем ее в подложку для бочек.

Талочка для мороженного.
Талочка для мороженного.

Несколько разрезов вдоль и поперек и подложки готовы.

Подложки из дерева.
Подложки из дерева.
Вот так они устанавливаются.
Вот так они устанавливаются.

На фото настоящей цистерны они очень выделяются и поэтому не сделать их себе навредить.

Теперь берем бирки для электропроводки, их легко разрезать и сделать из них различные накладки на бочках и между бочек.

Бирка для электропроводки.
Бирка для электропроводки.

Если нужно сделать заклепки некоторые каждую заклепку выстукивают и получается не всегда одинаковое расстоянии между ними, т.е. не аккуратно. Я уже показывал как можно сделать заклепки с помощью шестеренки, но вот еще одни способ. Вот с этой штучкой можно легко сделать заклепки, просто надавливаешь посильнее на мягкой поверхности и итог получается великолепным. Главное использовать линейку.

Делаем заклепки.
Делаем заклепки.

Вот так они будут выглядеть на своем месте.

Заклепки на месте крепления бочек к раме.
Заклепки на месте крепления бочек к раме.

Ну вот первый результат с грунтовкой.

Нанесли грунт.
Нанесли грунт.

Я уже писал в своих проектах, что первая покраска показывает все изъяны изготовления модели, которые можно легко устранить шкуркой.

Ну вот пока все. Продолжение следует.

Напишите в комментария ваше мнение о статье и работе. В следующий раз расскажу о мелочевке на цистерне.